欢迎来到知嘟嘟! 联系电话:13336804447 卖家免费入驻,海量在线求购! 卖家免费入驻,海量在线求购!
知嘟嘟
我要发布
联系电话:13336804447
知嘟嘟经纪人
收藏
专利号: 2020112473001
申请人: 广东石油化工学院
专利类型:发明专利
专利状态:已下证
专利领域: 船舶或其他水上船只;与船有关的设备
更新日期:2024-01-05
缴费截止日期: 暂无
价格&联系人
年费信息
委托购买

摘要:

权利要求书:

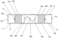
1.一种无翼电力正反双向挤压螺旋推进型智能水下无人航行器,其特征在于:包括舱体、供水装置和控制模块;所述供水装置包括第一供水装置和第二供水装置;

所述舱体从右到左依次包括第一动力反应舱、第一动力料存储舱、中心增压舱、第二动力料存储舱和第二动力反应舱;所述第一动力反应舱上固设第一供水装置,所述第二动力反应舱上固设第二供水装置;

所述第一动力反应舱与第一动力料存储舱用隔板隔开,且第一动力料存储舱内的动力料可进入第一动力反应舱;所述第一动力反应舱的右侧中心舱壁上设有喷射反推器;所述第二动力反应舱与第二动力料存储舱用隔板隔开,且第二动力料存储舱内的动力料可进入第二动力反应舱;所述第二动力反应舱的左侧中心舱壁上设有喷射推进器;

所述中心增压舱内设有电动缸、第一连杆、第一活塞、第二连杆和第二活塞;所述电动缸右侧通过第一连杆固定在第一活塞上,第一活塞顶住第一动力料存储舱内的动力料;所述电动缸左侧通过第二连杆固定在第二活塞上,第二活塞顶住第二动力料存储舱内的动力料;

所述第一动力反应舱上设有至少2个喷射旋转推进器,所述第二动力反应舱上设有至少2个喷射旋转推进器;所述喷射旋转推进器的出口中心轴与舱体中心轴呈10‑40度的夹角;所述喷射旋转推进器包括主推进管、副推进管和喷射放大环;所述喷射放大环包括外环和内环;

所述控制模块固定在舱体上。

2.根据权利要求1所述的无翼电力正反双向挤压螺旋推进型智能水下无人航行器,其特征在于:所述主推进管的末端往外扩散分设有至少3根均匀设置在圆周上的副推进管;所述副推进管的出口通向喷射放大环内。

3.根据权利要求2所述的无翼电力正反双向挤压螺旋推进型智能水下无人航行器,其特征在于:所述副推进管的出口为弯曲设置,使出口方向与副推进管中心轴偏离40‑90度。

4.根据权利要求1所述的无翼电力正反双向挤压螺旋推进型智能水下无人航行器,其特征在于:所述第一动力料存储舱包括第一动力料出口阀;所述第一动力料出口阀位于所述第一动力料存储舱与第一动力反应舱之间的隔板上并延伸到所述第一动力反应舱内;所述第一动力料存储舱内装有动力料;所述第二动力料存储舱包括第二动力料出口阀;所述第二动力料出口阀位于所述第二动力料存储舱与第二动力反应舱之间的隔板上并延伸到所述第二动力反应舱内;所述第二动力料存储舱内装有动力料。

5.根据权利要求4所述的无翼电力正反双向挤压螺旋推进型智能水下无人航行器,其特征在于:所述第一动力料出口阀和第二动力料出口阀为单向阀。

6.根据权利要求4所述的无翼电力正反双向挤压螺旋推进型智能水下无人航行器,其特征在于:所述动力料是与水能进行反应并产生气体和/或能量的物质。

7.根据权利要求6所述的无翼电力正反双向挤压螺旋推进型智能水下无人航行器,其特征在于:所述动力料选自钠金属颗粒或钠金属粉末与煤油或其他不反应的油类物质形成的凝胶状液体;所述第一动力料存储舱和第二动力料存储舱内的动力料采用钠金属颗粒或钠金属粉末与煤油或其他不反应的油类物质形成的凝胶状液体,钠金属颗粒或钠金属粉末均匀悬浮在煤油或其他不反应的油类物质之中,通过第一动力料存储舱后部的第一动力料出口阀喷入至第一动力反应舱和第二动力料存储舱后部的第二动力料出口阀喷入至第二动力反应舱,与水进行反应,产生气体和/或能量,作为水下航行器的运动能量。

8.根据权利要求1所述的无翼电力正反双向挤压螺旋推进型智能水下无人航行器,其特征在于:所述第一供水装置与第一动力反应舱连接;所述第一供水装置包括第一供水泵、第一过滤器、第一进水单向阀;所述第一供水泵安装在第一供水装置之内;所述第一过滤器安装在第一供水装置下部;所述第一进水单向阀用于连接第一供水装置与第一动力反应舱;所述第二供水装置与第二动力反应舱连接;所述第二供水装置包括第二供水泵、第二过滤器、第二进水单向阀;所述第二供水泵安装在第二供水装置之内;所述第二过滤器安装在第二供水装置下部;所述第二进水单向阀用于连接第二供水装置与第二动力反应舱。

9.根据权利要求1所述的无翼电力正反双向挤压螺旋推进型智能水下无人航行器,其特征在于:所述控制模块包括环境感应器、深度感应器、温度感应器、控制器、主控板、能源管理板、无线电台部件、定位模块、姿态传感器模块、电子罗盘模块和电池;所述环境感应器、深度感应器、温度感应器、控制器、主控板、能源管理板、无线电台部件、定位模块、姿态传感器模块、电子罗盘模块和电池均设置于控制模块组件内。