欢迎来到知嘟嘟! 联系电话:13336804447 卖家免费入驻,海量在线求购! 卖家免费入驻,海量在线求购!
知嘟嘟
我要发布
联系电话:13336804447
知嘟嘟经纪人
收藏
专利号: 201921078416X
申请人: 浙江省海洋开发研究院
专利类型:实用新型
专利状态:已下证
专利领域: 船舶或其他水上船只;与船有关的设备
更新日期:2023-08-24
缴费截止日期: 暂无
价格&联系人
年费信息
委托购买

摘要:

权利要求书:

1.一种船舶下水用推进装置,其特征是,包括:

一对安装座,一对安装座分布在船体的左右两侧,安装座安装在船体的外侧面上;

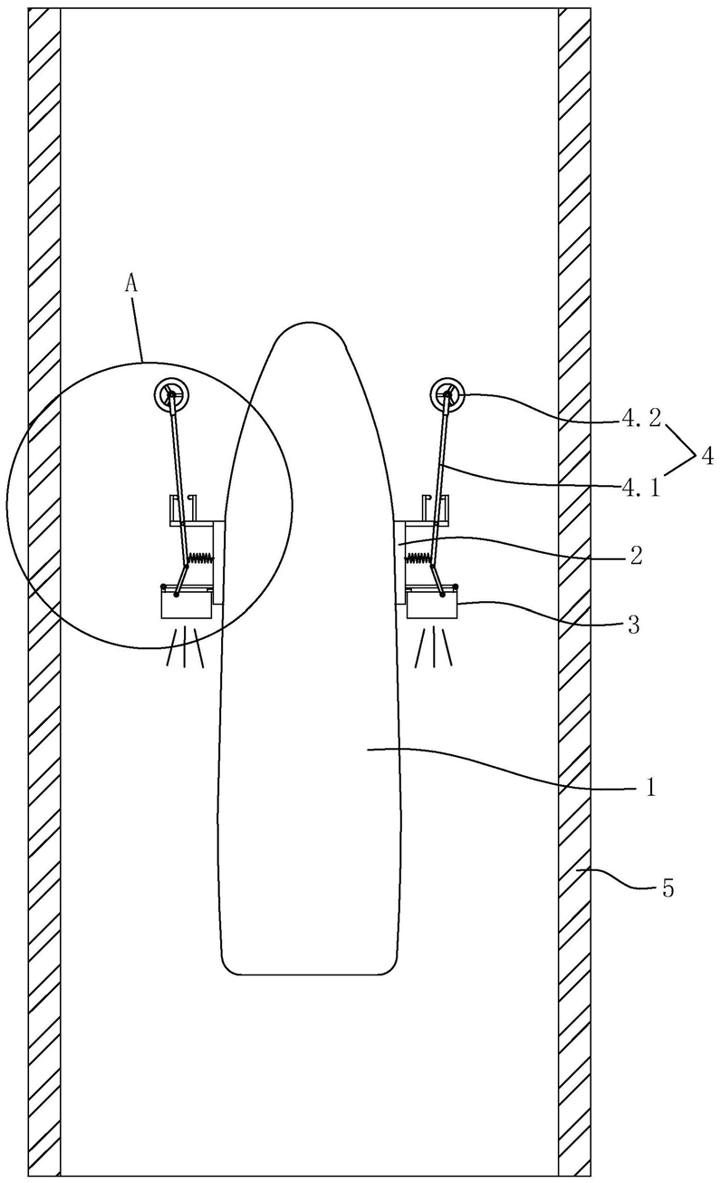
推进器,推进器与安装座一一对应,推进器安装在对应的安装座上,所述推进器包括外罩、若干自上而下依次设置在外罩内的导流通道、一一对应的设置在导流通道内的螺旋桨及用于驱动螺旋桨的驱动电机,所述导流通道沿船体的前后方向延伸。

2.根据权利要求1所述的一种船舶下水用推进装置,其特征是,还包括触发式防碰撞装置,所述推进器位于船体的前部,所述安装座上设有推进器安装架,所述外罩通过竖向转轴转动设置在对应的推进器安装架上,所述触发式防碰撞装置与安装座一一对应,触发式防碰撞装置包括触发滚轮、连杆、设置在安装座上的支架、通过第一轴杆转动设置在支架上的触发摆杆、设置在支架上的内限位块与外限位块及连接触发摆杆与对应安装座的拉伸弹簧,所述第一轴杆与竖向转轴相平行,所述外罩、连杆、拉伸弹簧与船体的后端位于支架的同一侧,

所述触发摆杆的第一端位于外罩与支架之间,所述连杆位于对应的安装座与竖向转轴之间,连杆的第一端与触发摆杆的第一端铰接相连,连杆的第二端与对应的外罩铰接相连,所述触发摆杆的第二端往船体的前端延伸并靠近船体的前端,所述触发滚轮通过第二轴杆转动设置在触发摆杆的第二端上,所述第二轴杆与竖向转轴相平行,所述内限位块、外限位块与触发滚轮位于第一轴杆的同一侧,所述触发摆杆位于内限位块与外限位块之间,且内限位块位于外限位块与船体之间,所述拉伸弹簧用于提供拉力,以使触发摆杆绕第一轴杆转动并抵在外限位块上,当触发摆杆抵在外限位块上时,所述导流通道沿船体的前后方向延伸;

当触发摆杆由外限位块往内限位块方向转动时,触发摆杆通过连杆带动对应的外罩绕竖向转轴转动,以使导流通道的后端往船体的外侧倾斜。

3.根据权利要求2所述的一种船舶下水用推进装置,其特征是,所述安装座上还设有外罩限位块,所述外罩限位块位于竖向转轴与对应的安装座之间,且外罩限位块与船体的前端位于外罩的同一侧,当触发摆杆抵在外限位块上时,所述外罩抵在对应的外罩限位块上。

4.根据权利要求2或3所述的一种船舶下水用推进装置,其特征是,当触发摆杆抵在外限位块上时,所述触发摆杆的第二端往船体的外侧倾斜。

5.根据权利要求1或2或3所述的一种船舶下水用推进装置,其特征是,所述驱动电机与螺旋桨一一对应。

6.根据权利要求1或2或3所述的一种船舶下水用推进装置,其特征是,所述安装座上设有电磁铁,所述安装座通过电磁铁吸附固定在船体的外侧面上。

7.根据权利要求6所述的一种船舶下水用推进装置,其特征是,所述安装座上设有密闭的安装腔体,所述电磁铁设置在安装腔体内。

8.根据权利要求1或2或3所述的一种船舶下水用推进装置,其特征是,所述安装座通过螺栓与船体连接。

我要求购
我不想找了,帮我找吧
您有专利需要变现?
我要出售
智能匹配需求,快速出售