欢迎来到知嘟嘟! 联系电话:13336804447 卖家免费入驻,海量在线求购! 卖家免费入驻,海量在线求购!
知嘟嘟
我要发布
联系电话:13336804447
知嘟嘟经纪人
收藏
专利号: 2020112306653
申请人: 浙江大学
专利类型:发明专利
专利状态:已下证
专利领域: 测量;测试
更新日期:2023-08-24
缴费截止日期: 暂无
价格&联系人
年费信息
委托购买

摘要:

权利要求书:

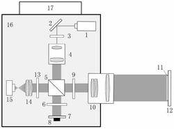
1.一种慢化组件气体冷凝薄膜厚度分布测量装置,其特征在于,包括干涉测量模块和五维自由度控制模块;

所述的干涉测量模块包括安装在安装板上的线偏振激光器、二分之一波片、扩束准直系统、偏振分光棱镜、四分之一波片、参考平面镜、望远镜、线偏振片、远心成像系统、压电陶瓷和探测器;

线偏振激光器出射的光束经过二分之一波片后被扩束准直系统扩束为小口径平行光,平行光继续向前传播被偏振分光棱镜分光,分为参考路和测量路两路光线;其中,参考路的透射平行偏振光继续向前传播,透过四分之一波片后被参考平面镜反射,原路返回作为参考光;测量路的反射垂直偏振光先经过四分之一波片后被望远镜扩束为较大口径平行光,进而向前传播透过慢化组件上的气体冷凝薄膜后被慢化组件的基底反射,继而再次通过气体冷凝薄膜原路返回,作为测量光;参考光与测量光均两次经过四分之一波片后偏振态发生转换,进入成像光路;最终测量光与参考光在偏振分光棱镜后的线偏振片处发生干涉,经远心成像系统成像于探测器处;所述的参考平面镜后安装有压电陶瓷用于移相;

所述干涉测量模块的安装板安装在五维自由度控制模块上,通过五维自由度控制模块实现干涉测量模块的三维平移及二维旋转,用于进行干涉图及成像位置调节。

2.根据权利要求1所述的慢化组件气体冷凝薄膜厚度分布测量装置,其特征在于,所述的五维自由度控制模块包括X、Y、Z轴导轨以及X、Y方向俯仰台。

3.一种慢化组件气体冷凝薄膜厚度分布测量方法,其特征在于,使用权利要求1所述的慢化组件气体冷凝薄膜厚度分布测量装置,包括以下步骤:(1)在进行薄膜冷凝之前,先使用五维自由度控制模块移动干涉测量模块到达工作位置;继而进行姿态调整,使得慢化组件基底干涉图处于近似零条纹状态;然后进行精准对焦,通过望远镜及远心成像系统组合成像,将基底表面成像至探测器上;

(2)采集干涉图并使用移相算法获取整体基底相位分布,并使用多项式拟合相位分布,去除测量结果中的倾斜相位分量后获取系统误差分布 采集完成后,使用五维自由度控制模块将干涉测量模块移开测量位置,便于在低温慢化组件上喷气冷凝形成固态薄膜;

(3)在冷凝薄膜形成后,使用五维自由度控制模块控制干涉测量系统到达测量位置;并进行位置及姿态进行调整,使得冷凝薄膜基底干涉图处于近似零条纹状态,并且探测器成像位置对准薄膜最高位置表面;

(4)使用移相算法获取干涉图不同位置对应的相位信息 对基底区域相位结果进行多项式拟合得到基底倾斜相位分量,在 中移除系统误差及基底倾斜相位分量后获得相位分布信息 继而根据基底无薄膜区域的相位计算得到冷凝薄膜区域包含多光束干涉影响的相位分布φM(x,y);

(5)根据多光束干涉理论及计算机建模技术,计算薄膜多光束干涉相位φM(x,y)与测量光无多光束干涉情况下经过薄膜的理论相位φS(x,y)的校正函数关系φS=f(φM),并根据函数关系计算得到校正测量相位φS(x,y);

(6)根据校正测量相位结果,计算得到薄膜厚度分布d(x,y)。

4.根据权利要求3所述的慢化组件气体冷凝薄膜厚度分布测量方法,其特征在于,步骤(4)中,根据基底无薄膜区域的相位计算得到冷凝薄膜区域包含多光束干涉影响的相位分布φM(x,y)的具体过程为:

在透射式测量中,测量目标为厚度100‑400nm的气体冷凝薄膜引入的额外相位与基底位置相位差不会超过2π,故

式中,n为气体冷凝薄膜折射率,φB为去除系统误差跟基底倾斜相位分量后,基底区域相位的平均值。

5.根据权利要求3所述的慢化组件气体冷凝薄膜厚度分布测量方法,其特征在于,步骤(5)的具体过程为:

使用计算机进行仿真建模,计算得到校正函数;在测量光因为气体冷凝薄膜发生多光束干涉时,模型中测量光复振幅表示为式中,A为测量路入射光复振幅,r1与r2分别为薄膜上表面及薄膜与基底界面的反射系数,φS*及φair*分别表示模型中测量光单次往返通过冷凝薄膜及薄膜表面与成像面之间的空气层时产生的相位变化,测量光垂直入射情况下可得式中,λ为测量光所用波长,dmax*为模型中薄膜最大厚度,也是成像面位置,d*为建模的冷凝薄膜待求解相位位置的厚度,参考光的复振幅表示为Aref=r3exp(iδref)A'     (4)式中,A'为参考路入射光复振幅,r3为参考镜反射系数,在计算机中模拟得到不同厚度气体冷凝薄膜干涉图

I=(Atest+Aref)·conj(Atest+Aref)     (5)式中,conj表示复数共轭运算,通过对干涉图使用相位解调算法及式(1),即可解得受到多光束干涉影响的干涉图相位φM*,通过求解不同厚度薄膜对应关系,即可建立多光束干涉相位与测量光无多光束干涉情况下经过薄膜的理论相位的函数关系φS*=f(φM*),当系统中模型参数与实际实验系统一致时,相当于获得了实验系统相位结果校正函数关系φS=f(φM);对于慢化组件所使用的稀有气体及氮气冷凝薄膜,校正函数为单调函数,φM与φS一一对应,即可求解得到φS。

6.根据权利要求3所述的慢化组件气体冷凝薄膜厚度分布测量方法,其特征在于,步骤(6)的具体方法为:

测量光单次通过薄膜进而被基底反射,沿原路返回,相当于两次通过相同厚度位置薄膜,则薄膜厚度分布为