欢迎来到知嘟嘟! 联系电话:13336804447 卖家免费入驻,海量在线求购! 卖家免费入驻,海量在线求购!
知嘟嘟
我要发布
联系电话:13336804447
知嘟嘟经纪人
收藏
专利号: 2020112085006
申请人: 陕西师范大学
专利类型:发明专利
专利状态:已下证
专利领域: 家具;家庭用的物品或设备;咖啡磨;香料磨;一般吸尘器
更新日期:2024-01-05
缴费截止日期: 暂无
价格&联系人
年费信息
委托购买

摘要:

权利要求书:

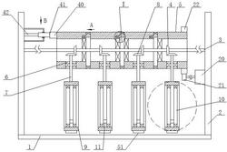
1.一种无限拓展式多角度壁画展示装置,其特征在于:包括底座(1),底座(1)顶侧的左右两端分别固定连接立柱(2)的下端,立柱(2)相邻侧的上端通过横轴(3)固定连接,横轴(3)外周的中部均匀固定安装数个同轴的第一斜齿轮(4),相邻的第一斜齿轮(4)左右对称分布,横轴(3)的外周对应第一斜齿轮(4)分别通过轴承转动安装的套管(5),第一斜齿轮(4)位于对应的套管(5)内,套管(5)的底部开设通孔(6),通孔(6)的内周通过轴承转动连接竖轴(7)外周的上端,竖轴(7)的上端固定安装第二斜齿轮(8),第二斜齿轮(8)与第一斜齿轮(4)啮合配合,竖轴(7)的下端固定连接圆环(9)的顶部,圆环(9)的内周通过轴承转动连接圆板(10)的外周,圆板(10)下部的一侧固定安装配重块(11),除最右侧的套管(5)外的套管(5)的右侧分别开设四分之一圆的扇形槽(12),扇形槽(12)内分别滑动安装拨杆(13),拨杆(13)的外端与对应的套管(5)固定连接,一侧的立柱(2)上设有能够驱动一端的套管(5)转动的驱动装置,拨杆(13)的与对应的扇形槽(12)之间设有锁紧装置;所述的锁紧装置包括弹簧杆(30),拨杆(13)的内端固定连接弹簧杆(30)的一端,弹簧杆(30)的另一端固定安装球体(31),扇形槽(12)左侧的两端分别开设球形凹槽(32),球体(31)能够分别与对应的球形凹槽(32)卡接连接,数个弹簧杆(30)的弹力从右向左逐渐增加,弹簧杆(30)最小的弹力大于竖轴(7)及竖轴(7)下部部件的重力之和。

2.根据权利要求1所述的一种无限拓展式多角度壁画展示装置,其特征在于:所述的驱动装置包括电机(20),电机(20)与右侧的立柱(2)固定连接,电机(20)转轴的端部固定安装齿轮(21),右端的套管(5)的右端固定安装同轴的环形齿轮(22),环形齿轮(22)与齿轮(21)啮合配合。

3.根据权利要求1所述的一种无限拓展式多角度壁画展示装置,其特征在于:最左侧的所述的套管(5)的左侧固定安装拨块(40),拨块(40)的左侧设有拨板(41),拨板(41)通过支架与左侧的立柱(2)转动连接,拨板(41)的左侧设有弹性板(42),弹性板(42)的左侧与左侧的立柱(2)固定连接,拨板(41)的左端内镶嵌有磁铁(43),拨板(41)为铁板,弹性板(42)为弹性铁板,拨块(40)与拨板(41)拨动配合,拨板(41)的左侧与弹性板(42)的右侧拨动配合。

4.根据权利要求1所述的一种无限拓展式多角度壁画展示装置,其特征在于:所述的圆环(9)的底部固定安装弧形磁铁(51),弧形磁铁(51)能够对配重块(11)产生磁吸力,且弧形磁铁(51)对配重块(11)产生的磁吸力小于配重块(11)的重力。