欢迎来到知嘟嘟! 联系电话:13336804447 卖家免费入驻,海量在线求购! 卖家免费入驻,海量在线求购!
知嘟嘟
我要发布
联系电话:13336804447
知嘟嘟经纪人
收藏
专利号: 2020110708958
申请人: 西南交通大学
专利类型:发明专利
专利状态:已下证
专利领域: 测量;测试
更新日期:2024-01-05
缴费截止日期: 暂无
价格&联系人
年费信息
委托购买

摘要:

权利要求书:

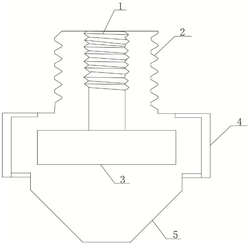
1.一种受电弓弓头锥形膜盒测力装置,其特征在于:包括设置于外壳顶部的M12螺栓,所述外壳中部为向外凸起的圆环,并在圆环上套设橡胶环面,用于将压力计和波纹管进行过盈配合,橡胶本身的弹性有利于将压力计过盈装配到波纹管上,同时橡胶材料的绝缘性也有利于隔离高压电流从而保护压力传感器;所述外壳的下部为锥形面;所述外壳内部容置压力传感器,压力传感器与M5螺栓底部连接,M5 螺栓用于将压力传感器与外壳进行固定;所述M5螺栓顶部与M12螺栓顶部齐平;

所述压力传感器为垫片式压力传感器;

所述M12螺栓与受电弓滑板螺纹连接;

所述M12螺栓的高度为11mm;

所述锥形面与水平面之间所成夹角为30°;锥形面的设计既起到了倒角的作用从而方便其与不同直径大小的弹簧进行紧密贴合,同时锥面自身也带有自动对中的能力,既方便了装配也有利于后续使用过程中压力计与弹簧始终保持同轴从而提高测量的精度;

所述M12螺栓上开设内孔,通过内孔将光纤信号线引出实现上位机和压力传感器的信号连接。