欢迎来到知嘟嘟! 联系电话:13336804447 卖家免费入驻,海量在线求购! 卖家免费入驻,海量在线求购!
知嘟嘟
我要发布
联系电话:13336804447
知嘟嘟经纪人
收藏
专利号: 2019109994602
申请人: 西南交通大学
专利类型:发明专利
专利状态:已下证
专利领域: 测量;测试
更新日期:2024-01-05
缴费截止日期: 暂无
价格&联系人
年费信息
委托购买

摘要:

权利要求书:

1.一种受电弓/接触网耦合系统运行试验方法,基于受电弓为实物,接触网为虚拟的基础上,运用相对运动方法,即接触网相对受电弓反向运行,同时考虑车顶振动和接触网动态行为的组合运动情况下,模拟受电弓/接触网动态行为,其中:步骤a:模拟车顶振动:在计算机上直接输入模拟车顶振动的六自由度平台在X、Y、Z三个轴方向的移动距离和绕旋转角度以及作此振动的频率,计算机求解出六个液压伺服作动器的六个活塞分别运动的位移量,六个液压伺服作动器再依照计算机给予的指令信号振动,六自由度平台将振动传递到受电弓底座,以模拟列车在实际运行时列车顶部对受电弓引起的振动;

步骤b:模拟接触线垂向运动:利用有限元方法建立接触网系统模型,计算受电弓/接触网系统接触点处接触线的动态位移;首先将接触线和承力索简化为有垂向预拉伸力的两个欧拉伯努利弯曲梁,通过有限元方法,推导出在其受垂向拉伸荷载作用下的欧拉伯努利梁单元,将受电弓/接触网系统接触点处接触力表示为接触线和滑板之间的运动的函数,使用欧拉‑伯努利梁单元模型函数对接触网有限元模型的非线性坐标进行了插值拟合,计算出受电弓/接触网系统接触点的垂向振动位移,将计算得到的垂向振动位移作为输入,通过液压伺服系统的激振振动油缸的活塞运动,模拟出接触线的垂向运动;

步骤c:模拟接触线横向拉出值:当分析的接触网之字形布置时,需要模拟接触线的横向拉出值,首先通过列车的运行速度和接触跨距,计算出接触线相对于受电弓的横向运动频率,再通过模拟接触线拉出值的作动器沿滑板往复运动表现出来;

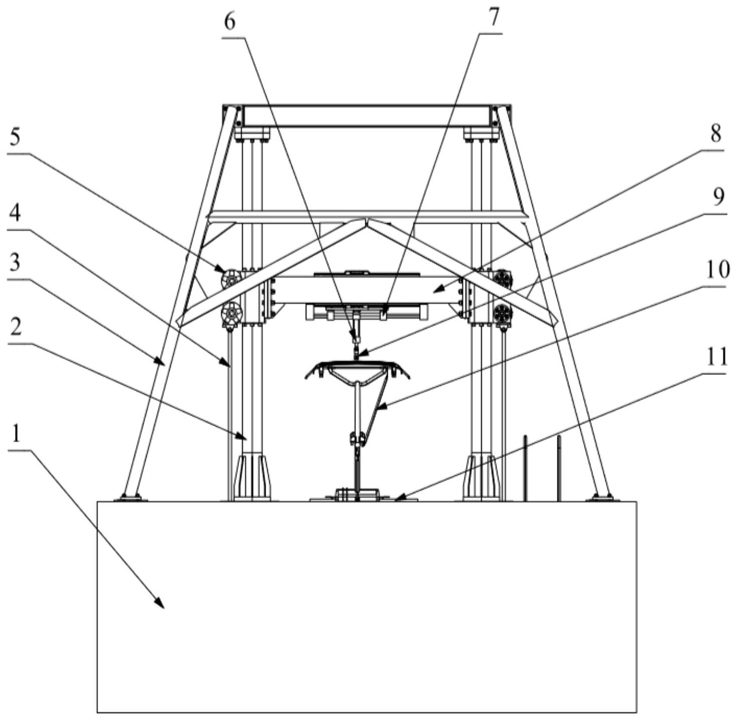
实现步骤a‑步骤c的试验方法的试验装置为受电弓/接触网耦合系统运行试验台,试验台台基(1)为长方矩形中空结构,两个“A字形”支架(3)的四支支杆分别于台基(1)表面的四角固定,顶梁的两端分别与两侧的“A字形”支架(3)的顶部固定,其特征在于:“A字形”支架(3)内侧的顶梁底部与立柱(2)的顶部固定,立柱(2)的底部与台基(1)上表面固定构成“门字形”框架,横梁(8)两端设有法兰,通过螺栓与立柱(2)中部的滑块固定,滑块外侧设有锁紧座(5),锁紧座(5)的下方设有举升油缸(4);横梁(8)底部中间设有垂向运动作动器(6),垂向运动作动器(6)两侧分别设有水平运动作动器(7),垂向运动作动器(6)下端设有力传感器(9)且与受电弓(10)的弓头接触;台基(1)的面板中心位置设有六自由度平台(11),受电弓(10)的底部支架与六自由度平台(11)上表面固定;液压系统包括分配器和举升油缸(4)、水平运动作动器(7)、垂向运动作动器(6)以及六自由度平台(11)的底部设置的液压伺服系统连接的管路系统,其电气控制部分与计算机相连。

2.根据权利要求1所述的受电弓/接触网耦合系统运行试验方法,其特征在于:所述六自由度平台(11)的底部分别设有六个液压伺服作动器。

3.根据权利要求2所述的一种受电弓/接触网耦合系统运行试验方法,其特征在于:所述六个液压伺服作动器分别在X轴方向对称布置两个,Y轴方向对称布置两个,Z轴方向布置一个,旋转角度布置一个。

4.根据权利要求1所述的受电弓/接触网耦合系统运行试验方法,其特征在于:所述两个“A字形”支架(3)同侧的支杆中上部均设有顺顶梁方向的横撑,横撑中部与两侧的支杆间设有“八字”撑。