欢迎来到知嘟嘟! 联系电话:13336804447 卖家免费入驻,海量在线求购! 卖家免费入驻,海量在线求购!
知嘟嘟
我要发布
联系电话:13336804447
知嘟嘟经纪人
收藏
专利号: 2020109583237
申请人: 湖南人文科技学院
专利类型:发明专利
专利状态:已下证
专利领域: 家具;家庭用的物品或设备;咖啡磨;香料磨;一般吸尘器
更新日期:2024-01-05
缴费截止日期: 暂无
价格&联系人
年费信息
委托购买

摘要:

权利要求书:

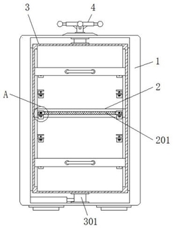
1.一种酒店餐饮用餐具分类存放装置,包括外放置柜(1)、内放置柜(3)、转杆(4)和固定块(6),其特征在于:所述外放置柜(1)外部的顶端活动连接有转杆(4),且转杆(4)的两侧皆固定连接有固定球(401),所述外放置柜(1)内部底端的一侧固定连接有空心块(5),且外放置柜(1)内部的中间位置活动连接有内放置柜(3),所述内放置柜(3)内部的两侧皆固定连接有多个固定块(6),且固定块(6)底端的一侧固定连接有套块(601),所述固定块(6)的内部活动连接有连接板(2),所述固定块(6)一侧的中间位置固定连接有把手(202),且连接板(2)的另一侧固定连接有放置板(201),所述外放置柜(1)内部顶端的两侧皆设置有放置槽(101),且放置槽(101)内部的一侧活动连接有活动块(103),所述活动块(103)的两侧皆设置有活动轴(104),且活动块(103)内部的中间位置设置有卡槽(102),所述连接板(2)一侧的两端皆固定连接有连接块(203),且连接块(203)的内部设置有插孔(204),所述内放置柜(3)底端的中间位置设置有转轴(301),且内放置柜(3)底端的一侧固定连接有弧形杆(302),所述空心块(5)内部的一侧固定连接有弹簧(502),且弹簧(502)的一侧滑动连接有滑动块(501),所述固定块(6)底端的一侧固定连接有固定螺母(603),且固定螺母(603)的内部活动连接有限位螺栓(602),所述固定螺母(603)的内部设置有内螺纹,且限位螺栓(602)的外部设置有与固定螺母(603)内螺纹匹配的外螺纹。