欢迎来到知嘟嘟! 联系电话:13336804447 卖家免费入驻,海量在线求购! 卖家免费入驻,海量在线求购!
知嘟嘟
我要发布
联系电话:13336804447
知嘟嘟经纪人
收藏
专利号: 2020108966909
申请人: 河南城建学院
专利类型:发明专利
专利状态:已下证
专利领域: 磨削;抛光
更新日期:2024-11-18
缴费截止日期: 暂无
价格&联系人
年费信息
委托购买

摘要:

权利要求书:

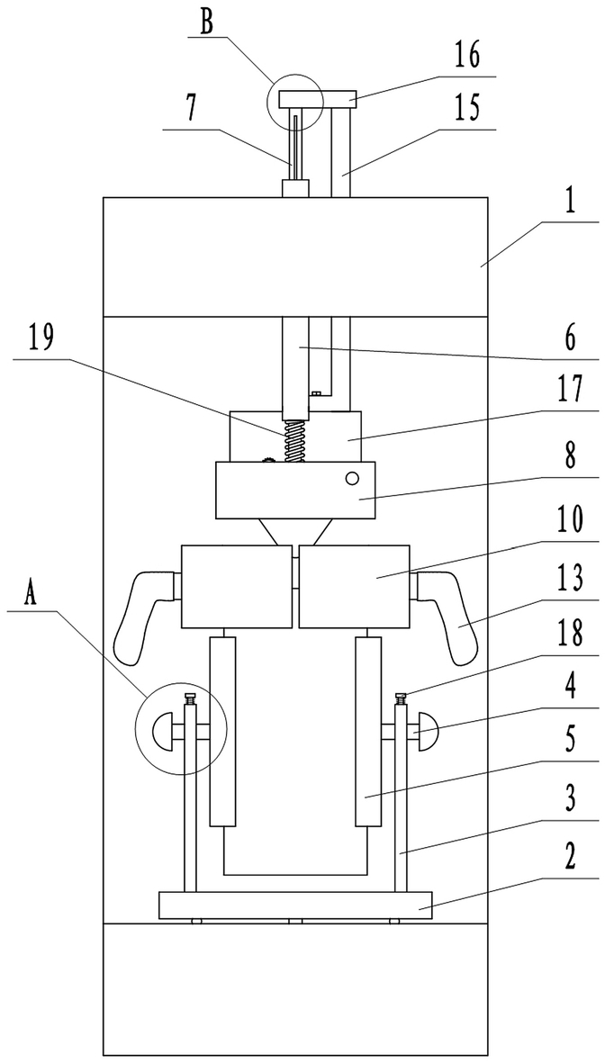
1.岩石检测试件端面打磨装置,包括壳体(1),其特征在于,壳体(1)的底部安装有转盘(2),转盘(2)上安装有左右两个竖杆(3),每个竖杆(3)上均贯穿有横向的推杆(4),每个推杆(4)的内端均固定有弧形板(5),推杆(4)的位置能被固定;壳体(1)的上端安装有与转盘(2)同向反转的套筒(6),套筒(6)的内部安装有能上下移动的导杆(7),套筒(6)转动带动导杆(7)转动;导杆(7)的下端安装有打磨组件(8);

所述的打磨组件(8)包括固定在导杆(7)下端面的底板(801),底板(801)的前后两侧固定有侧板(802),前后的侧板(802)之间安装有位于右侧的被动辊(804)和位于左侧的主动辊(803),被辊轴上缠绕有砂纸(805),砂纸(805)的颗粒面朝下,砂纸(805)的自由端经底板(801)的下端面后缠绕在主辊轴上;前后两个侧板(802)之间连接齿轮轴(806),套筒(6)的侧面上开设有齿轮轴(806)上的齿轮啮合的齿条(807);导杆(7)向上移动能通过齿轮轴(806)带动主动辊(803)转动,从而使砂纸(805)缠绕在主动辊(803)上。

2.根据权利要求1所述的岩石检测试件端面打磨装置,其特征在于,所述的所述的壳体(1)上铰接有左右两个能摆动并向中间靠拢的摆动杆(9),每个摆动杆(9)的端部均固定有半环形的箱体(10),箱体(10)的内部安装有多个摩擦轮(11),壳体(1)的侧面上开设有通道(12),通道(12)的外端连接有集尘袋(13),通道(12)的内部安装有叶轮(14),叶轮(14)的主轴上套装有皮带轮,摩擦轮(11)上同轴固定有皮带轮,摩擦轮(11)上的皮带轮和叶轮(14)上的皮带轮经皮带和换向轮实现同转。

3.根据权利要求1所述的岩石检测试件端面打磨装置,其特征在于,所述的壳体(1)上安装有能上下移动的立杆(15),立杆(15)的上端安装有水平的压板(16),压板(16)和导杆(7)的上端经轴承进行转动连接;压板(16)下降使立杆(15)和导杆(7)同时下降;立杆(15)的下端安装有楔形块(17),立杆(15)向下移动时,楔形块(17)能挤压左右两个摆动杆(9),使两个摆动杆(9)分开。

4.根据权利要求1所述的岩石检测试件端面打磨装置,其特征在于,每个所述的推杆(4)上均开设有通孔,竖杆(3)上安装有竖直的销钉(18),销钉(18)的下端能置于通孔内;弧形板(5)的内侧面上固定有橡胶垫片。

5.根据权利要求1所述的岩石检测试件端面打磨装置,其特征在于,所述的转盘(2)的底部安装有转轴,套筒(6)外套装有锥齿轮,壳体(1)的内部经多个传动轴和锥齿轮组实现转轴和套筒(6)的反向转动;同时导杆(7)和套筒(6)之间经键与键槽配合。

6.根据权利要求1所述的岩石检测试件端面打磨装置,其特征在于,所述的齿轮轴(806)的后端固定套装有单向齿轮,主动辊(803)的后端安装有与单向齿轮啮合的齿轮,其中被动辊(804)和侧板(802)之间为摩擦配合。

7.根据权利要求1所述的岩石检测试件端面打磨装置,其特征在于,所述的导杆(7)上套装有位于套筒(6)下端面和底板(801)之间的压簧(19)。

8.根据权利要求1所述的岩石检测试件端面打磨装置,其特征在于,所述的壳体(1)的内部安装有驱动转盘(2)转动的电机(21)。

9.根据权利要求1所述的岩石检测试件端面打磨装置,其特征在于,左右两个所述的箱体(10)的上端面为半圆形;同时每个箱体(10)的内侧面上固定有毛刷(21);左右两个箱体(10)在摆动杆(9)的作用下向中间靠拢后,两个箱体(10)的上端面能合并为一个完整的圆形。

10.根据权利要求1所述的岩石检测试件端面打磨装置,其特征在于,所述的摆动杆(9)与壳体(1)的铰接点处安装有扭簧。