欢迎来到知嘟嘟! 联系电话:13336804447 卖家免费入驻,海量在线求购! 卖家免费入驻,海量在线求购!
知嘟嘟
我要发布
联系电话:13336804447
知嘟嘟经纪人
收藏
专利号: 2020107778813
申请人: 福建旭辰信息科技有限公司
专利类型:发明专利
专利状态:已下证
专利领域: 固体废物的处理;被污染土壤的再生〔3,6〕
更新日期:2024-07-24
缴费截止日期: 暂无
价格&联系人
年费信息
委托购买

摘要:

权利要求书:

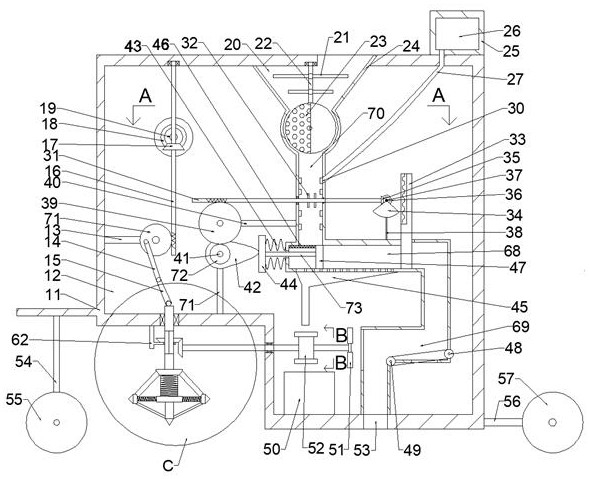
1.一种将垃圾自动粉碎并压缩处理的垃圾填埋装置,包括箱体,所述箱体内设有处理腔,其特征在于:所述处理腔内下侧设有能上下移动的钻孔装置,所述钻孔装置包括与所述处理腔下侧内壁上滑动连接且延伸至所述箱体下侧的滑杆,所述滑杆上花键连接有位于所述箱体下侧的切制斜齿轮,所述滑杆下侧固定连接有圆柱板,所述圆柱板上设有通过连杆铰接且左右对称的尖嘴刀,所述圆柱板下侧设有与所述尖嘴刀固定连接的T型刀,所述T型刀与所述尖嘴刀之间通过弹簧连接,所述T型刀与所述圆柱板之间通过伸缩杆连接,所述T型刀接触土壤后,所述圆柱板继续下移并通过铰接杆结构推动所述尖嘴刀相互远离滑动,增加钻孔面积,所述处理腔上侧内壁固定连接有切碎箱,所述切碎箱内设有开口向上的切碎腔,所述切碎腔内设有快速切碎垃圾的切碎装置,所述切碎腔下侧设有喷水腔,所述喷水腔下侧具有压缩垃圾功能的压缩装置,所述压缩装置包括位于所述喷水腔下侧与所述喷水腔相通连接的压缩腔,所述压缩腔下侧安装有矩形阵列的排水孔,所述压缩腔下侧的排水孔端面固定设有导流腔,所述压缩腔内上侧内壁滑动连接有垂直放置铁板,所述垂直放置铁板安装有齿条,所述压缩腔左侧内壁滑动连接有第一杆,所述第一杆右侧固定设有压块,所述第一杆上侧设有能将所述喷水腔与所述压缩腔隔离的压缩板,所述压缩板限制垃圾右侧与所述压块的滑动结合,将稀释液从所述压缩腔下侧的排水孔排至所述导流腔内,所述压缩腔下侧设有将垃圾干燥的干燥装置,所述处理腔内设有传递动力的动力装置。

2.如权利要求1所述的一种将垃圾自动粉碎并压缩处理的垃圾填埋装置,其特征在于所述处理腔左侧端面固定连接有第二杆,所述第二杆下侧转动连接有实心车轮,所述处理腔右侧端面固定连接有第三杆,所述第三杆右侧转动连接充气车轮,所述处理腔下侧内壁设有导流孔。

3.如权利要求2所述的一种将垃圾自动粉碎并压缩处理的垃圾填埋装置,其特征在于:所述动力装置包括位于所述处理腔内后侧内壁上的电机,所述电机前侧设有旋转轴,所述旋转轴上固定连接有锻造斜齿轮,所述锻造斜齿轮前侧有与所述处理腔上侧内壁转动连接的圆柱蜗杆,所述圆柱蜗杆上固定连接有烧结斜齿轮,所述烧结斜齿轮与所述锻造斜齿轮之间啮合连接,所述电机右侧有与所述处理腔后侧内壁转动连接的转动杆,所述转动杆与所述旋转轴带传动连接。

4.如权利要求3所述的一种将垃圾自动粉碎并压缩处理的垃圾填埋装置,其特征在于:所述切碎装置包括与所述 转动杆上固定连接且位于所述切碎腔内的曲线斜齿轮,所述曲线斜齿轮前侧有与所述处理腔上侧内壁转动连接的旋转杆,所述旋转杆下侧固定连接有变位斜齿轮,所述变位斜齿轮与所述曲线斜齿轮之间啮合连接,所述旋转杆上固定连接有左右对称的切碎刀片,所述旋转杆前侧有与所述转动杆固定连接的半球形开关,所述处理腔上侧端面固定设有储水箱,所述储水箱内设有储水腔,所述喷水腔内壁上设有螺旋分布的喷头,所述喷头与所述储水腔之间通过水管连接。

5.如权利要求4所述的一种将垃圾自动粉碎并压缩处理的垃圾填埋装置,其特征在于:所述压缩装置包括与所述喷水腔内壁上转动连接且两侧延伸至所述处理腔内的环形蜗杆,所述环形蜗杆上设有挡板,所述喷水腔左侧端面固定连接有第四杆,所述环形蜗杆下侧啮合连接有与所述第四杆转动连接的锻造齿轮,所述处理腔下侧内壁固定连接有杆件,所述杆件上固定连接有实心轴,所述实心轴上转动连接有凸轮,所述凸轮前侧有与所述实心轴转动连接的圆柱齿轮,所述圆柱齿轮与所述锻造齿轮啮合连接,所述第一杆左侧固定连接有与所述凸轮相抵连接的推板,所述推板与所述压缩腔左侧端面连接有拉伸弹簧,所述压缩腔上侧端面固定设有第五杆,所述第五杆上转动连接有中心轴,所述中心轴上固定连接有铸造斜齿轮,所述铸造斜齿轮左侧啮合连接有与所述环形蜗杆右侧固定连接的扎制斜齿轮,所述铸造斜齿轮前侧有与所述中心轴固定连接带有扭簧的不完全齿轮,所述不完全齿轮与所述垂直放置铁板啮合连接。

6.如权利要求5所述的一种将垃圾自动粉碎并压缩处理的垃圾填埋装置,其特征在于:所述干燥装置包括与所述处理腔左侧内壁转动连接且延伸至所述箱体左侧的传动轴,所述传动轴左侧固定连接有人字斜齿轮,所述人字斜齿轮与所述切制斜齿轮啮合连接,所述传动轴右侧固定连接有风扇,所述风扇左侧有位于所述处理腔内与所述传动轴固定连接的水轮,所述水轮下侧有与所述处理腔下侧内壁固定连接的收集腔,所述风扇右侧设有与所述压缩腔相通的导管,所述导管下侧内壁固定连接有锻造轴,所述导管右侧内壁上固定连接有铸造轴,所述铸造轴与所述锻造轴之间带传动连接。

7.如权利要求6所述的一种将垃圾自动粉碎并压缩处理的垃圾填埋装置,其特征在于:所述钻孔装置包括与所述处理腔左侧内壁固定连接的水平支撑杆,所述水平支撑杆上转动连接有扎制齿轮,所述扎制齿轮与所述圆柱蜗杆之间啮合连接,所述扎制齿轮上铰接有第六杆,所述滑杆与所述第六杆之间通过第七杆铰连接,所述箱体下侧端面固定连接有L型固定板。