欢迎来到知嘟嘟! 联系电话:13336804447 卖家免费入驻,海量在线求购! 卖家免费入驻,海量在线求购!
知嘟嘟
我要发布
联系电话:13336804447
知嘟嘟经纪人
收藏
专利号: 2020107313337
申请人: 江苏师范大学
专利类型:发明专利
专利状态:授权未缴费
专利领域: 计算;推算;计数
更新日期:2024-02-27
缴费截止日期: 暂无
价格&联系人
年费信息
委托购买

摘要:

权利要求书:

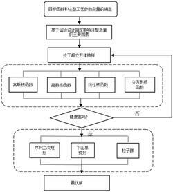
1.一种透明复杂多腔塑件的注塑工艺参数优化方法,其特征在于,采用正交试验、Kriging模型和优化算法三者结合对注塑工艺参数进行优化,具体包括以下步骤:步骤一、正交试验:基于CAE仿真结果进行正交试验设计并筛选出对翘曲变形影响的主要因素;

步骤二、建立Kriging模型:以对翘曲变形影响的主要因素为设计变量,基于不同的相关函数分别建立Kriging模型映射主要因素与优化目标的非线性函数关系,对建立的各Kriging模型进行精度比较,选取精度最高的Kriging模型作为反映设计变量和翘曲变形的关系模型;

步骤三、优化算法:以翘曲变形量作为质量评价目标建立数学模型,采用不同的优化算法分别对精度最高的Kriging模型进行优化、并迭代后分别得出最佳注塑工艺参数组合,选取误差最小的最佳注塑工艺参数作为翘曲变形最小的工艺参数组合。

2.根据权利要求1所述的透明复杂多腔塑件的注塑工艺参数优化方法,其特征在于,步骤一中,正交试验选择模具温度、熔体温度、注射时间、保压压力、保压时间、冷却时间作为塑件品质指标的影响因素,采用完成填充体积百分比控制对速度/压力控制转换点进行设

11

置,填充体积百分比设置为99%,选择11因素5水平正交表L50(5 )进行试验,得出正交试验模拟结果,以翘曲变形为目标值进行翘曲的方差分析,得出对翘曲变形影响的主要因素。

3.根据权利要求1所述的透明复杂多腔塑件的注塑工艺参数优化方法,其特征在于,步骤二中,首先根据对翘曲变形影响的主要因素的取值范围,利用拉丁超立方设计方法取样后获得样本点的参数组合,利用Moldflow软件进行仿真分析,获得相应的翘曲变形量,并将样本点的参数组合数据作为建立Kriging模型的初始样本,然后根据Kriging模型的初始样本、再基于不同的相关函数分别建立Kriging模型映射主要因素与优化目标的非线性函数关系。

4.根据权利要求3所述的透明复杂多腔塑件的注塑工艺参数优化方法,其特征在于,步骤二中,对建立的各Kriging模型进行精度比较时,在利用拉丁超立方设计方法取样后获得样本点的参数组合的基础上,采用拉丁超立方抽样获取多组样本点,并利用该多组样本点对建立的各Kriging模型进行模型预测,然后根据预测样本点对建立的各Kriging模型误差分析,选取误差值最小的Kriging模型作为精度最高的Kriging模型。

5.根据权利要求1所述的透明复杂多腔塑件的注塑工艺参数优化方法,其特征在于,步骤三中,利用Moldflow仿真软件对不同的优化算法得出的最佳注塑工艺参数进行仿真分析,选取优化值与仿真值之间的误差最小的最佳注塑工艺参数作为翘曲变形最小的工艺参数组合。

6.根据权利要求1至5任一权利要求所述的透明复杂多腔塑件的注塑工艺参数优化方法,其特征在于,步骤二中不同的相关函数是高斯函数、指数函数、线性函数和立方形函数。

7.根据权利要求1至5任一权利要求所述的透明复杂多腔塑件的注塑工艺参数优化方法,其特征在于,步骤三中不同的优化算法是序列二次规划技术、粒子群算法和下山单纯形法。