欢迎来到知嘟嘟! 联系电话:13336804447 卖家免费入驻,海量在线求购! 卖家免费入驻,海量在线求购!
知嘟嘟
我要发布
联系电话:13336804447
知嘟嘟经纪人
收藏
专利号: 2020106675237
申请人: 盐城工学院
专利类型:发明专利
专利状态:已下证
专利领域: 测量;测试
更新日期:2024-02-23
缴费截止日期: 暂无
价格&联系人
年费信息
委托购买

摘要:

权利要求书:

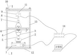
1.一种秸秆材料抗剪强度测试系统,包括底座、连接杆以及反力梁,两根连接杆的底端同时垂直安装在底座上,两根连接杆的顶端通过反力梁连接,底座、连接杆以及反力梁构成剪切框架,其特征在于:还包括固定卡结构、剪切装置、感应装置以及位移控制装置,固定卡结构安装在剪切框架的中间位置,位移控制装置安装在底座上,感应装置安装在反力梁上,剪切装置的两端分别连接位移控制装置、感应装置,且剪切装置贯穿固定卡结构;

固定卡结构的下缘与剪切装置的底端形成容纳待检测秸秆材料的空腔,通过剪切装置的移动实现空腔横截面积的变化;

位移控制装置、感应装置均通过导线与控制器连通。

2.根据权利要求1所述的秸秆材料抗剪强度测试系统,其特征在于:前述的固定卡结构包括两条平行设置的长条形铁片,每条长条形铁片的两端分别连接在两根连接杆上,且两条长条形铁片之间形成间距;

剪切装置穿过两条长条形铁片形成的间距。

3.根据权利要求2所述的秸秆材料抗剪强度测试系统,其特征在于:前述的剪切装置包括剪切刀盘,其通过上半圆弧、下半圆弧一体成型,在剪切刀盘内部形成圆形孔洞;

剪切刀盘的下半圆弧部分为剪切刀口;

上半圆弧的弧顶通过上端紧固件与感应装置连接,下半圆弧的弧顶通过下端紧固件与位移控制装置连接。

4.根据权利要求3所述的秸秆材料抗剪强度测试系统,其特征在于:前述的位移控制装置包括加载电机和位移传感器,位移传感器安装在位移控制装置内部,加载电机的电机轴连接加载底板,加载底板的表面与下端紧固件连接,且加载底板与底座平行设置。

5.根据权利要求4所述的秸秆材料抗剪强度测试系统,其特征在于:前述的感应装置包括S型力传感器,其顶部通过连接螺栓固定在反力梁上,其底部通过传力杆与上端紧固件连接。

6.根据权利要求2所述的秸秆材料抗剪强度测试系统,其特征在于:两条长条形铁片之间形成的间距范围为1mm-2mm。

7.根据权利要求3所述的秸秆材料抗剪强度测试系统,其特征在于:剪切刀盘的剪切刀口厚度小于1mm。

8.一种基于上述权利要求5所述的秸秆材料抗剪强度测试系统的测试方法,其特征在于:具体步骤如下:第一步:将待检测秸秆材料置于固定卡结构与剪切装置的下半圆弧之间形成的空腔内,启动控制器,其向加载电机发出启动指令,电机轴旋转将加载底板向剪切装置方向移动,待检测秸秆材料与固定卡结构相接触后加载电机停止运行;

第二步:实时观察S型力传感器的接触力变化,直至待检测结构与固定卡之间大范围空隙消除;

第三步:将S型力传感器清零,记录此时固定卡结构的下缘与剪切刀盘刀口下缘之间的距离H0,继续启动加载电机,加载底板带动剪切刀盘向反力梁方向移动,对待检测秸秆材料进行剪切,空腔横截面积缩小,位移传感器获取剪切刀口的实时剪切行程H′,通过H0、H′得到固定卡结构的下缘与剪切刀口下缘之间的实时距离H,即H=H0-H′,接着得出待检测秸秆材料的实时剪切面积:其中,L为待检测秸秆材料与固定卡结构下缘交线长度,α为剪切刀盘的下半圆弧的弧长所对应的圆心角,H为获取的固定卡结构的下缘与剪切刀口下缘之间的实时距离,A为待检测秸秆材料的实时剪切面积,R为剪切刀盘内圆形孔洞的半径;

第四步:通过S型力传感器获取待检测秸秆材料被剪切的实时载荷,最终获取待检测秸秆材料的实时抗剪强度其中,A为待检测秸秆材料的实时剪切面积,F为实时载荷,τ为实时抗剪强度。