欢迎来到知嘟嘟! 联系电话:13336804447 卖家免费入驻,海量在线求购! 卖家免费入驻,海量在线求购!
知嘟嘟
我要发布
联系电话:13336804447
知嘟嘟经纪人
收藏
专利号: 2020106642430
申请人: 苏州帅泽信息科技有限公司
专利类型:发明专利
专利状态:已下证
专利领域: 家具;家庭用的物品或设备;咖啡磨;香料磨;一般吸尘器
更新日期:2024-11-13
缴费截止日期: 暂无
价格&联系人
年费信息
委托购买

摘要:

权利要求书:

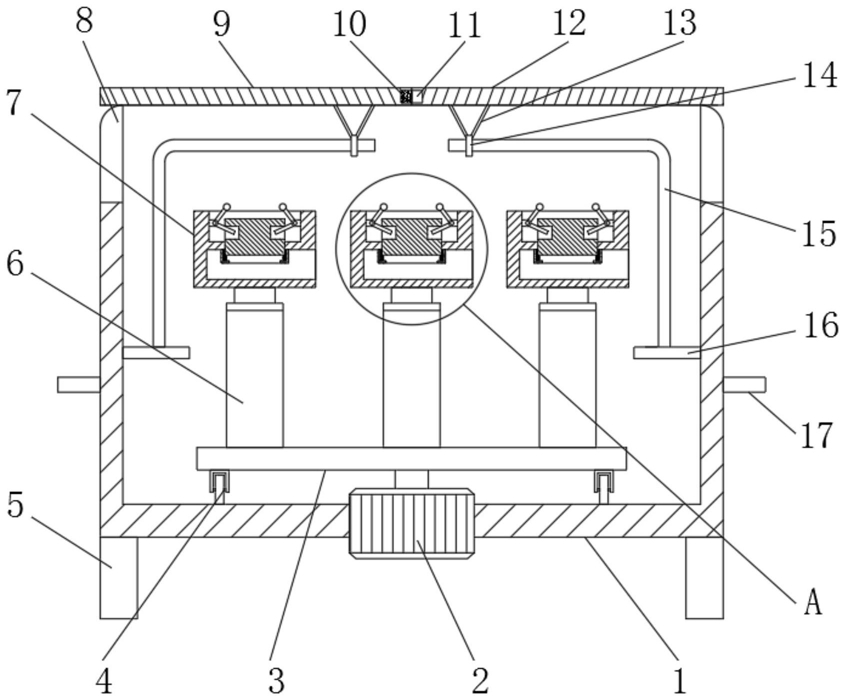
1.一种电子终端设备销售用展示柜,包括展示柜本体(1)和支撑腿(5),所述支撑腿(5)设置于展示柜本体(1)底部外壁的四个拐角处,其特征在于,所述展示柜本体(1)的底部外壁开有安装口,且安装口的内壁固定连接有电动机(2),所述电动机(2)的输出轴一端设置有转盘(3),且转盘(3)的顶部外壁固定连接有等距离呈环形分布的液压缸(6),所述液压缸(6)的活塞一端设置有固定机构,所述展示柜本体(1)的内部设置有盖合机构。

2.根据权利要求1所述的一种电子终端设备销售用展示柜,其特征在于,所述固定机构

包括固定座(7)、放置槽(18)、固定槽(24)、活动块(19)、圆筒(25)和耳座(20),所述固定座(7)固定设置于液压缸(6)的活塞一端,所述放置槽(18)开设于固定座(7)的顶部,且放置槽(18)的底部内壁开有固定口,活动块(19)的外壁和固定口的内壁滑动连接,所述放置槽(18)的内壁通过耳座(20)转动连接有等距离呈环形分布的弯杆(21),所述活动块(19)的外壁开有等距离呈环形分布的卡槽(23),且弯杆(21)的一端置于卡槽(23)内,所述固定槽(24)开设于固定座(7)的一侧外壁,且固定槽(24)的顶部内壁固定连接有圆筒(25),圆筒(25)的内壁粘接有防滑圈(26)。

3.根据权利要求2所述的一种电子终端设备销售用展示柜,其特征在于,所述弯杆(21)的另一端套接有橡胶球(22),且弯杆(21)的形状为V字形。

4.根据权利要求1所述的一种电子终端设备销售用展示柜,其特征在于,所述转盘(3)

的底部外壁固定设置有等距离呈环形分布的滚轮(4)。

5.根据权利要求1所述的一种电子终端设备销售用展示柜,其特征在于,所述盖合机构

包括侧板(16)、导轨(15)、滑环(14)、连接杆(13)、左盖板(9)、右盖板(12)、电磁铁(10)和铁块(11),所述导轨(15)通过侧板(16)固定设置于展示柜本体(1)内壁的左右两侧,所述左盖板(9)和右盖板(12)的底部外壁通过连接杆(13)连接的滑环(14)分别滑动套接在左右两侧的导轨(15)上,所述展示柜本体(1)的两侧外壁均开有限位口(8),且展示柜本体(1)的两侧外壁均固定连接有托板(17),所述左盖板(9)上的电磁铁(10)和右盖板(12)上的铁块(11)相吸附。

6.根据权利要求5所述的一种电子终端设备销售用展示柜,其特征在于,所述电磁铁

(10)通过导线连接有控制开关,且控制开关通过导线连接有电源。

7.根据权利要求2所述的一种电子终端设备销售用展示柜,其特征在于,所述固定座

(7)的四周外壁均固定连接有安装杆(27),且安装杆(27)的一端固定连接有万向球(28),万向球(28)的外壁转动连接有转动座(29),转动座(29)的顶部外壁设置有补光灯(30)。