欢迎来到知嘟嘟! 联系电话:13336804447 卖家免费入驻,海量在线求购! 卖家免费入驻,海量在线求购!
知嘟嘟
我要发布
联系电话:13336804447
知嘟嘟经纪人
收藏
专利号: 2020106242921
申请人: 刘伦宇
专利类型:发明专利
专利状态:已下证
专利领域: 加工水泥、黏土或石料
更新日期:2023-07-12
缴费截止日期: 暂无
价格&联系人
年费信息
委托购买

摘要:

权利要求书:

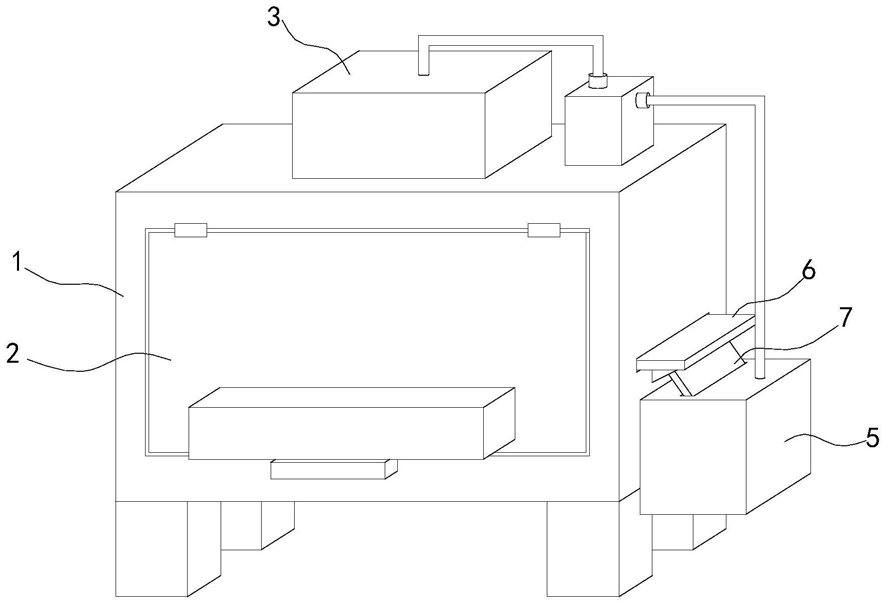
1.一种大理石自动化切割装置,包括装置主体(1),其特征在于:所述装置主体(1)正面活动安装有装置门体(2),所述装置主体(1)后端固定安装有驱动装置(15),所述装置主体(1)右侧固定安装有污水处理装置(5),所述装置主体(1)内部下端活动安装有放置台(9),所述装置主体(1)内部底端开设有移动滑槽(11)。

2.根据权利要求1所述的一种大理石自动化切割装置,其特征在于:所述装置主体(1)上端固定安装有冷却水箱(3),所述装置主体(1)内部上端固定安装有切割刀片(8),所述冷却水箱(3)连通至切割刀片(8)上端。

3.根据权利要求1所述的一种大理石自动化切割装置,其特征在于:所述放置台(9)下端嵌合在移动滑槽(11)内部,所述移动滑槽(11)右侧为连续弯折的弓状设置。

4.根据权利要求1所述的一种大理石自动化切割装置,其特征在于:所述驱动装置(15)内部下端活动安装有主动齿轮(12),所述主动齿轮(12)两侧咬合连接有从动齿轮(13),所述从动齿轮(13)上端固定安装有咬合块(14)。

5.根据权利要求1所述的一种大理石自动化切割装置,其特征在于:所述装置主体(1)内部下端活动安装有横移框(10),所述横移框(10)后端设置在驱动装置(15)内部,所述咬合块(14)为扇状设置且与横移框(10)后端咬合连接,所述装置门体(2)内侧下端活动安装有抵紧板(16)。

6.根据权利要求1所述的一种大理石自动化切割装置,其特征在于:所述移动滑槽(11)下端右侧与污水处理装置(5)内部相连通,所述装置主体(1)上端固定安装有与冷却水箱(3)和污水处理装置(5)相连通的水泵。

7.根据权利要求1所述的一种大理石自动化切割装置,其特征在于:所述装置主体(1)右侧内部活动安装有驱动板(6),所述污水处理装置(5)内部活动安装有过滤板(7),所述污水处理装置(5)内部相对过滤板(7)的左侧固定安装有刮板(4),所述过滤板(7)为倾斜设置,且刮板(4)与过滤板(7)相垂直设置。

8.根据权利要求1所述的一种大理石自动化切割装置,其特征在于:所述装置主体(1)正面下端活动安装有卡块(18),所述卡块(18)内部活动安装有按压杆(17)。