欢迎来到知嘟嘟! 联系电话:13336804447 卖家免费入驻,海量在线求购! 卖家免费入驻,海量在线求购!
知嘟嘟
我要发布
联系电话:13336804447
知嘟嘟经纪人
收藏
专利号: 2020105888503
申请人: 广州若亿珠宝科技有限公司
专利类型:发明专利
专利状态:已下证
专利领域: 家具;家庭用的物品或设备;咖啡磨;香料磨;一般吸尘器
更新日期:2025-12-19
缴费截止日期: 暂无
价格&联系人
年费信息
委托购买

摘要:

权利要求书:

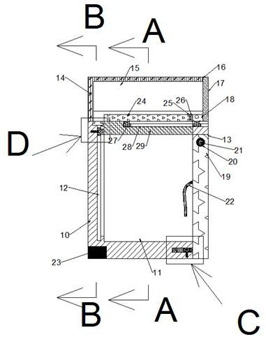
1.一种带珠宝和柜员保护的珠宝柜,包括柜体,其特征在于:所述柜体内设有开口向上的躲避空腔,所述躲避空腔右侧内壁设有贯穿所述躲避空腔右侧内壁的入口空腔,所述躲避空腔上端面固定设有玻璃罩,所述玻璃罩内设有开口向下的展示空腔,所述展示空腔右侧内壁设有贯穿所述展示空腔右侧内壁的取货空腔,所述躲避空腔左侧内壁设有开口向右的第一滑槽空腔,所述躲避空腔前后侧内壁内设有开口向上且关于所述第一滑槽空腔对称的防御存储空腔,所述第一滑槽空腔内滑动连接有保护装置,所述入口空腔内设有隐蔽装置;所述保护装置包括滑动连接在所述第一滑槽空腔内的第一滑块,所述第一滑块内设有开口向左的第一保险插销空腔,所述第一滑槽空腔左侧内壁设有开口向右的第一插销空腔,所述第一插销空腔左侧内壁固定设有第一电磁铁,所述第一插销空腔内滑动连接有第一插销,所述第一插销左端面固定设有第一铁块和第一弹簧,所述第一滑块右端面固定设有移动板,所述移动板内设有开口向上的第二滑槽空腔,所述第二滑槽空腔内滑动设有第二滑块,所述第二滑块上端面固定式何有展示板,所述展示板右端面固定设有第三滑块,所述第一滑槽空腔前后侧内壁关于所述第一滑块对称设有导线轮,所述躲避空腔内设有开口向上的第三滑槽空腔,所述第三滑槽空腔内关于所述第一滑槽空腔对称滑动设有第四滑块,所述第四滑块上端面固定设有移动板,所述第四滑块靠近所述第一滑槽空腔侧端面固定设有牵引绳,所述牵引绳绕过所述导线轮固定在所述第一滑块的上端面上,所述防御存储空腔靠近所述第一滑槽空腔侧内壁固定设有导轮,所述防御存储空腔左侧内壁固定设有第一固定旋转轴,所述第一固定旋转轴上转动连接有盘轮,所述盘轮与所述第一固定旋转轴之间设有扭力弹簧,所述扭力弹簧上缠绕有防御卷帘,所述防御卷帘绕过所述导轮后固定在所述移动板下侧内壁;所述隐蔽装置包括固定在所述入口空腔后侧内壁的第二固定旋转轴,所述第二固定旋转轴上转动设有翻转板,所述翻转板与所述第二固定旋转轴之间设有第二扭力弹簧,所述翻转板左端面固定设有牵绳和锁块,所述锁块内设有开口向下的第二插销口,所述入口空腔左侧内壁设有开口向右的第二保险插销空腔,所述第二保险插销空腔内滑动连接有插销辅助,所述插销辅助左端面固定设有第二弹簧,所述第二保险插销空腔下侧内壁设有开口向上的第三保险插销空腔,所述第三保险插销空腔下侧内壁固定设有第二电磁铁,所述第三保险插销空腔内滑动设有第二插销块,所述第二插销块下端面固定设有第二铁块和第四弹簧。

2.根据权利要求 1 所述的一种带珠宝和柜员保护的珠宝柜,其特征在于:所述柜体内设有开口向上的第四滑槽空腔,所述第四滑槽空腔内滑动连接有辅助滑块,所述辅助滑块上端面固定设有抽板,所述抽板内设有开口向左的辅助滑槽空腔,所述辅助滑槽空腔与所述第三滑块滑动连接,所述抽板右端面固定设有后档玻璃。

3.根据权利要求 1 所述的一种带珠宝和柜员保护的珠宝柜,其特征在于:所述柜体内设有报警器,所述报警器通电后联网报警。