欢迎来到知嘟嘟! 联系电话:13336804447 卖家免费入驻,海量在线求购! 卖家免费入驻,海量在线求购!
知嘟嘟
我要发布
联系电话:13336804447
知嘟嘟经纪人
收藏
专利号: 2021220425847
申请人: 吴伟腾
专利类型:实用新型
专利状态:已下证
专利领域: 给水;排水
更新日期:2025-02-07
缴费截止日期: 暂无
价格&联系人
年费信息
委托购买

摘要:

权利要求书:

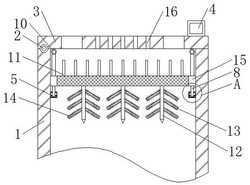
1.一种地漏毛发过滤网,包括地漏主体(1),其特征在于:所述地漏主体(1)的顶部一侧通过合页(2)连接有地漏盖(3),所述地漏盖(3)的顶部一侧固定有拉环(4),所述地漏主体(1)的内部两侧均固定有固定框(5),所述固定框(5)的内部两侧固定有弹簧(6),两个所述弹簧(6)的一端固定有橡胶头(7),所述固定框(5)的顶部贯穿有卡杆(8),所述卡杆(8)的底部固定有限位块(9),所述卡杆(8)的顶部固定有滤网(15),所述滤网(15)的顶部分别固定有阻挡柱(11)和拉杆(10),所述滤网(15)的底部固定有固定杆(12),所述固定杆(12)的外表面固定有缠绕杆(13),所述缠绕杆(13)的外表面设置有缠绕齿(14)。

2.根据权利要求1所述的一种地漏毛发过滤网,其特征在于:所述缠绕杆(13)设置有多个,每两个为一组,共分为九组,且每组所述缠绕杆(13)均沿固定杆(12)的纵轴中心线对称设置。

3.根据权利要求1所述的一种地漏毛发过滤网,其特征在于:所述固定杆(12)设置有多个,多个所述固定杆(12)等距分布,且多个所述固定杆(12)的底部呈锥形设置。

4.根据权利要求1所述的一种地漏毛发过滤网,其特征在于:所述卡杆(8)远离滤网(15)的一端贯穿至固定框(5)的内部,且所述卡杆(8)的长度大于橡胶头(7)到固定框(5)的距离。

5.根据权利要求1所述的一种地漏毛发过滤网,其特征在于:所述地漏盖(3)通过合页(2)与地漏主体(1)转动连接,且所述地漏盖(3)的顶部开设有多个漏水通孔(16)。