欢迎来到知嘟嘟! 联系电话:13336804447 卖家免费入驻,海量在线求购! 卖家免费入驻,海量在线求购!
知嘟嘟
我要发布
联系电话:13336804447
知嘟嘟经纪人
收藏
专利号: 2020102842141
申请人: 台州金荣企业管理合伙企业(有限合伙)
专利类型:发明专利
专利状态:已下证
专利领域: 供热;炉灶;通风
更新日期:2025-12-18
缴费截止日期: 暂无
价格&联系人
年费信息
委托购买

摘要:

权利要求书:

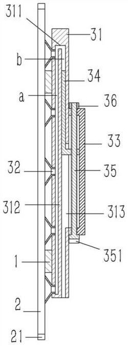
1.一种塔式太阳能设备上反射镜的安装支架,包括若干竖直的支撑杆(1),支撑杆(1)两端的前端面上固定有水平的边框(2),其特征在于:支撑杆(1)的后端固定有若干个水平的吸附支架(3),吸附支架(3)包括水平的方杆(31),方杆(31)内成型有条形的槽腔(311),槽腔(311)内成型有L型的分隔板(312),分隔板(312)分隔槽腔(311)成相连通的前槽道(a)和后槽道(b),方杆(31)的前端面上插接固定有若干与前槽道(a)相连通的吸盘(32),方杆(31)的后端面上成型有连通的后槽道(b)的导向槽(313),方杆(31)的后槽道(b)内插接有L型的阀板(34),阀板(34)的后端穿过方杆(31)的导向槽(313)螺接有水平的调节螺栓(35),所述导向槽(313)两侧的方杆(31)后端面固定有“匚”字形的支撑架(33),调节螺栓(35)插接在支撑架(33)上,调节螺栓(35)的末端螺接有限位螺套(36),限位螺套(36)和调节螺栓(35)的头部均抵靠在支撑架(33)的两侧壁上。

2.根据权利要求1所述的一种塔式太阳能设备上反射镜的安装支架,其特征在于:所述边框(2)包括水平的挡杆,挡边的两端弯折成型有竖直的挡边(21)。

3.根据权利要求1所述的一种塔式太阳能设备上反射镜的安装支架,其特征在于:所述方杆(31)上的槽腔(311)贯穿方杆(31)的一端端面,前槽道(a)和后槽道(b)的连通部位位于槽腔(311)的内端,所述前槽道(a)的外端不与槽腔(311)的外端相连通。

4.根据权利要求1所述的一种塔式太阳能设备上反射镜的安装支架,其特征在于:所述的吸盘(32)呈线性均匀分布在方杆(31)上,吸附支架(3)至少设有两组,吸附支架(3)均匀分布在支撑杆(1)上。

5.根据权利要求1所述的一种塔式太阳能设备上反射镜的安装支架,其特征在于:所述方杆(31)内后槽道(b)的截面呈矩形,阀板(34)截面的宽度和长度分别等于后槽道(b)截面的宽度和长度。

6.根据权利要求5所述的一种塔式太阳能设备上反射镜的安装支架,其特征在于:所述方杆(31)上导向槽(313)的宽度等于后槽道(b)的宽度。

7.根据权利要求1所述的一种塔式太阳能设备上反射镜的安装支架,其特征在于:所述支撑杆(1)的后端面上焊接固定有与支撑杆(1)相垂直的螺柱。