欢迎来到知嘟嘟! 联系电话:13336804447 卖家免费入驻,海量在线求购! 卖家免费入驻,海量在线求购!
知嘟嘟
我要发布
联系电话:13336804447
知嘟嘟经纪人
收藏
专利号: 2016103278338
申请人: 吴国栋
专利类型:发明专利
专利状态:已下证
专利领域: 供热;炉灶;通风
更新日期:2026-03-16
缴费截止日期: 暂无
价格&联系人
年费信息
委托购买

摘要:

权利要求书:

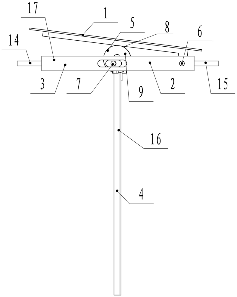
1.专用于太阳能聚光装置的反射镜机构,包括反射镜(1)和转动架(2),所述反射镜(1)安装在转动架(2)上,其特征在于:所述转动架(2)包括左右转动部件(3)、前后转动部件(4)和左右转动补偿部件(5),所述反射镜(1)与左右转动部件(3)相铰接,所述反射镜(1)与左右转动部件(3)铰接的铰接点为上铰接点(6),所述反射镜(1)可绕着上铰接点(6)相对左右转动部件(3)左右转动,所述前后转动部件(4)与左右转动部件(3)相铰接,所述前后转动部件(4)与左右转动部件(3)铰接的铰接点为下铰接点(7),所述左右转动部件(3)可绕着下铰接点(7)相对前后转动部件(4)左右转动,所述左右转动补偿部件(5)安装在前后转动部件(4)上,所述左右转动补偿部件(5)具有左右转动补偿部件抵接边(8),所述左右转动补偿部件抵接边(8)为弧形边,所述左右转动补偿部件抵接边(8)与反射镜(1)的底部抵接配合,所述左右转动部件(3)左右转动时,所述反射镜(1)和左右转动部件(3)相联动,并且左右转动部件(3)绕着下铰接点(7)左右转动带动反射镜(1)左右转动的同时,所述反射镜(1)在左右转动补偿部件(5)的作用下沿着左右转动补偿部件抵接边(8)绕上铰接点(6)左右转动,所述前后转动部件(4)前后转动时,所述前后转动部件(4)、左右转动补偿部件(5)、左右转动部件(3)和反射镜(1)相联动,使得前后转动部件(4)前后转动带动左右转动补偿部件(5)、左右转动部件(3)和反射镜(1)前后转动。

2.根据权利要求1所述的专用于太阳能聚光装置的反射镜机构,其特征在于:所述左右转动补偿部件(5)为左右转动补偿圆片(9),所述左右转动补偿圆片(9)通过圆片调节螺钉(10)安装在前后转动部件(4)上。

3.根据权利要求2所述的专用于太阳能聚光装置的反射镜机构,其特征在于:所述左右转动补偿圆片(9)上具有圆片安装槽(11),所述左右转动补偿圆片(9)通过圆片调节螺钉(10)穿过圆片安装槽(11)安装在前后转动部件(4)上,使得左右转动补偿圆片(9)上下高度可调。

4.根据权利要求1或2或3所述的专用于太阳能聚光装置的反射镜机构,其特征在于:包括第一联轴(12)和第二联轴(13),所述左右转动部件(3)的左部设有左安装轴(14),所述左右转动部件(4)的右部设有右安装轴(15),所述前后转动部件(4)包括前后转动杆(16),所述反射镜(1)通过第一联轴(12)与左右转动部件(3)相铰接,所述前后转动杆(16)通过第二联轴(13)与左右转动部件(3)相铰接,所述左右转动补偿部件(5)安装在前后转动杆(16)上。

5.根据权利要求4所述的专用于太阳能聚光装置的反射镜机构,其特征在于:所述左右转动部件(3)为方型的左右转动框(17),所述左右转动框(17)的前部设有前调节槽(18)、前调节螺钉(19)和前调节移动块(20),所述左右转动框(17)的后部设有后调节槽(21)、后调节螺钉(22)和后调节移动块(23),所述前调节移动块(20)通过前调节螺钉(19)可移动的安装在前调节槽(18)内,所述后调节移动块(23)通过后调节螺钉(22)可移动的安装在后调节槽(21)内,所述第二联轴(13)的一端与前调节移动块(20)连接,所述第二联轴(13)的另一端与后调节移动块(23)连接。

6.根据权利要求4所述的专用于太阳能聚光装置的反射镜机构,其特征在于:所述左右转动部件(3)为左右转动板(24),所述左右转动板(24)的底部具有安装凹部(25),所述安装凹部(25)上设有角度调节块(26)和角度调节螺钉(27),所述角度调节块(26)通过角度调节螺钉(27)安装在安装凹部(25)上,所述第二联轴(13)安装在角度调节块(26)上,所述前后转动杆(16)包括安装叉(28),所述安装叉(28)包括安装叉左杆(29)和安装叉右杆(30),所述第二联轴(13)的一端与安装叉左杆(29)连接,所述第二联轴(13)的另一端与安装叉右杆(30)连接。

7.根据权利要求1或2或3所述的专用于太阳能聚光装置的反射镜机构,其特征在于:所述反射镜(1)为凹面镜。

8.根据权利要求4所述的专用于太阳能聚光装置的反射镜机构,其特征在于:所述反射镜(1)为凹面镜。

9.根据权利要求5所述的专用于太阳能聚光装置的反射镜机构,其特征在于:所述反射镜(1)为凹面镜。

10.根据权利要求6所述的专用于太阳能聚光装置的反射镜机构,其特征在于:所述反射镜(1)为凹面镜。