欢迎来到知嘟嘟! 联系电话:13336804447 卖家免费入驻,海量在线求购! 卖家免费入驻,海量在线求购!
知嘟嘟
我要发布
联系电话:13336804447
知嘟嘟经纪人
收藏
专利号: 2020102820176
申请人: 山东交通学院
专利类型:发明专利
专利状态:已下证
专利领域: 破碎、磨粉或粉碎;谷物碾磨的预处理
更新日期:2024-01-05
缴费截止日期: 暂无
价格&联系人
年费信息
委托购买

摘要:

权利要求书:

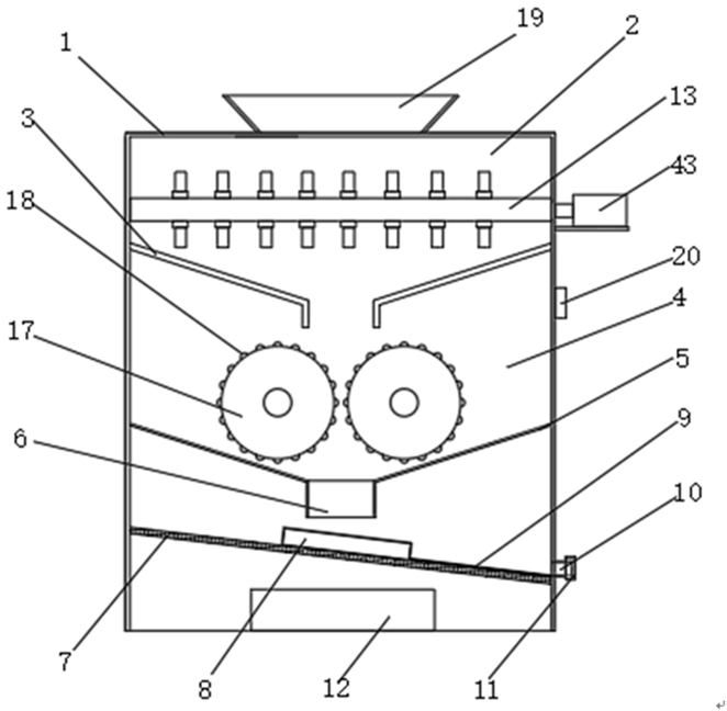
1.一种石料破碎筛分装置,包括箱体,其特征在于:所述箱体的内部上端设置有第一破碎室,位于所述第一破碎室下方箱体的内壁连接有两组对称设置的第一引导板,位于所述第一引导板下方箱体的内部设置有第二破碎室,通过设置的第一破碎室和第二破碎室可以实现双重破碎效果,提高石料的破碎率,第一破碎室首先将较大的石料破碎成若干个再小一点的石料,而后再由第二破碎室碾压破碎成体积更小的石料,位于所述第二破碎室下方箱体的内部设置有集料板,所述集料板的下端开设有出料口,所述箱体的内部下端设置有固定板,且所述固定板呈倾斜设置,所述固定板位于集料板的下方,所述固定板的上端面固定连接有筛分机构,位于所述筛分机构一侧箱体的内壁设置有废料引导板,靠近所述废料引导板箱体的外部设置有废料出口,通过设置的废料引导板可以使得不合格的废料通过废料出口排出箱体,所述废料出口上安装有出口盖,位于所述出料口下方箱体的内部底端设置有集料箱,所述箱体的上端设置有进料口,所述箱体的外部一侧设置有控制器。

2.根据权利要求1所述的一种石料破碎筛分装置,其特征在于:所述第一破碎室的内部设置有旋转主轴,位于所述旋转主轴一侧箱体的外部安装有支撑板,所述支撑板上设置有第一电机,所述第一电机的输出端和旋转主轴连接,所述旋转主轴上固定连接有若干组呈对称设置的固定块,每组所述固定块的一端均开设有凹槽,所述凹槽的内部均安装有破碎刀片,所述固定块的一侧均设置有固定螺栓,通过将破碎刀片安装在固定块内的凹槽内部,如果破碎刀片出现损坏,只需要更换单个损坏的破碎刀片即可,简单快捷,节省成本。

3.根据权利要求1所述的一种石料破碎筛分装置,其特征在于:所述第二破碎室的内部设置有两组碾压辊轮,且两组所述碾压辊轮的转动方向相反,两组所述碾压辊轮由安装在箱体内部的两个驱动电机带动旋转,两组所述碾压辊轮的外圆周上设置有碾压凸块,两组碾压辊轮可以将初次破碎后的石料进行二次破碎,破碎成适宜的体积,碾压辊轮上碾压凸块的设置可以增加与石料的接触面积,提高石料的破碎率。

4.根据权利要求1所述的一种石料破碎筛分装置,其特征在于:所述筛分机构的内部开设有三组大小相同的通孔槽,三组所述通孔槽的内部底端两侧均设置有第一滑杆,所述通孔槽的内部均安装有过滤筛板,三组所述过滤筛板的筛网大小不同,通过移动三组过滤筛板的位置可以筛分体积不同的石料,得到适宜大小体积的石料。

5.根据权利要求4所述的一种石料破碎筛分装置,其特征在于:所述过滤筛板的中间部位安装有过滤筛网,所述过滤筛板的两侧均设置有隔板,通过设置的隔板可以有效地对石料起到阻挡的作用,避免石料从过滤筛板的两侧脱离,避免进入筛分机构的内部,靠近所述过滤筛板内侧隔板的上端面设置有两组限位块,靠近所述限位块隔板的一侧开设有连接孔,靠近所述连接孔隔板的两端均连接有第一弹簧,两组所述第一弹簧的另一端与通孔槽的一侧上沿连接,当推杆从过滤筛板上的连接孔脱离时,此时过滤筛板上没有推力,由于第一弹簧的拉力,使伸出的过滤筛板重新回到回到筛分机构内的通孔槽内部,所述过滤筛板的下端面开设有两组第一滑槽,所述第一滑槽和第一滑杆滑动连接。

6.根据权利要求1所述的一种石料破碎筛分装置,其特征在于:位于所述筛分机构一侧固定板的上端面安装有限位机构,所述限位机构的内部开通有通孔,所述通孔的上下端面均设置有第二滑杆,所述第二滑杆两端均设置有防脱限位块,所述通孔的内部还安装有滑动板,所述滑动板的一侧设置有推杆,所述推杆和连接孔活动插接,所述限位机构的设置可以使滑动板在限位机构的内部滑动的同时又不会脱离限位机构。

7.根据权利要求6所述的一种石料破碎筛分装置,其特征在于:所述滑动板的上下两端均开设有第二滑槽,所述第二滑槽与第二滑杆滑动连接,所述滑动板的一侧开设有齿条槽,所述齿条槽的上下两端均安装有第二弹簧,所述齿条槽的内部还安装有齿条,所述推杆的一端与齿条固定连接,位于所述齿条槽一侧滑动板的内部安装有第二电机,所述第二电机的输出轴连接有齿轮,所述齿轮和齿条啮合,通过第二电机带动齿轮运转,进而实现推杆上下移动,进一步控制三组过滤筛板中的其中一组从筛分机构的内部伸出进行筛分石料的工作。

8.根据权利要求7所述的一种石料破碎筛分装置,其特征在于:位于所述限位机构一侧固定板的上端面还安装有支撑架,所述支撑架上安装有气缸,所述气缸的输出端连接有连接杆,所述连接杆的一端与滑动板连接,控制器通过PLC系统控制第二电机和气缸运转,气缸推动连接杆,连接杆推动连接着推杆的滑动板,进一步实现推杆推动过滤筛板从筛分机构的内部伸出进行筛分工作。

9.根据权利要求1-8所述的一种石料破碎筛分装置,其特征在于:所述使用步骤如下:

A:打开电源使第一破碎室和第二破碎室内部的机器运转工作,未破碎的石料从进料口进入第一破碎室,第一破碎室首先将较大的石料破碎成若干个再小一点的石料,而后再进入第二破碎室,由第二破碎室碾压破碎成体积更小的石料,完成破碎后的石料从出料口落出;

B:通过控制器控制第二电机运转,第二电机带动齿轮转动,齿轮和齿条啮合配合,进而带动推杆上下移动,移动到适宜位置,使推杆和适宜的一组过滤筛板上的连接孔保持水平高度相同;

C:再通过控制器控制气缸运转,气缸推动连接杆,连接杆推动滑动板,进一步实现推杆推动过滤筛板从筛分机构中伸出,使过滤筛网正对着出料口,对破碎后的石料进行筛分,筛分后的石料从过滤筛板进入集料箱,不合格的石料从废料引导板滑下,从废料出口导出集中处理,筛分工作完成后,气缸带动连接杆回到原来的位置,推杆从连接孔中脱离,第一弹簧通过弹力将伸出的过滤筛板拉回到筛分机构的内部,关闭电源,取出筛分后的石料。