欢迎来到知嘟嘟! 联系电话:13336804447 卖家免费入驻,海量在线求购! 卖家免费入驻,海量在线求购!
知嘟嘟
我要发布
联系电话:13336804447
知嘟嘟经纪人
收藏
专利号: 2024100460738
申请人: 浙江雨华摩泰科技有限公司
专利类型:发明专利
专利状态:授权未缴费
专利领域: 破碎、磨粉或粉碎;谷物碾磨的预处理
更新日期:2025-07-09
缴费截止日期: 暂无
价格&联系人
年费信息
委托购买

摘要:

权利要求书:

1.一种石灰石筛分破碎装置,包括支撑箱体(1)、设置在支撑箱体(1)上端部的料箱(2),所述料箱(2)内部开设破碎腔(3),其特征在于:所述支撑箱体(1)与料箱(2)之间设置有滑座,所述支撑箱体(1)内开设有空腔(11)、集料腔(12),所述空腔(11)内设置有油缸(51),所述油缸(51)上端部设置有输料组件,所述输料组件包括有载料盘(52),所述载料盘(52)转动设置在破碎腔(3)内,掉入破碎腔(3)内小的石灰石(6)在载料盘(52)旋转上升过程中掉落,大的石灰石(6)在载料盘(52)带动下上升,所述破碎腔(3)上端部设置有破碎组件,大的石灰石(6)在破碎组件作用下破碎并在旋转下降过程中沿滑座掉落至集料腔(12)内;所述料箱(2)两侧分别设置有升降组件a和升降组件b,所述升降组件a和升降组件b在载料盘(52)带动下上升下降,载料盘(52)升降的同时带动升降组件a反向滑动,载料盘(52)升降的同时带动升降组件b同向滑动。

2.根据权利要求1所述的一种石灰石筛分破碎装置,其特征在于,所述输料组件还包括载料板(53),所述载料盘(52)上端部设置有若干弹簧(54),所述弹簧(54)上端部固定连接载料板(53),所述载料盘(52)下端部与油缸(51)的活塞杆(55)转动连接,所述载料盘(52)与载料板(53)上均开设相对应的若干下料孔(56),所述载料盘(52)周侧设置若干滑动块(57)。

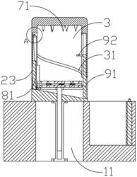
3.根据权利要求2所述的一种石灰石筛分破碎装置,其特征在于,所述料箱(2)两侧分别开设腔体a(21)和腔体b(22),所述腔体a(21)和腔体b(22)上均开设开口(23),所述破碎腔(3)内壁开设螺纹(31)。

4.根据权利要求3所述的一种石灰石筛分破碎装置,其特征在于,所述升降组件a包括滑动设置在腔体a(21)内的门板a(81),所述腔体a(21)连接至破碎腔(3)下端部,所述门板a(81)上端部连接钢丝绳(82),所述腔体a(21)上端部转动设置有滚轮(83),所述钢丝绳(82)端部设置有滑块(84),所述滑块(84)滑动设置在料箱(2)内壁上。

5.根据权利要求3所述的一种石灰石筛分破碎装置,其特征在于,所述升降组件b包括滑动设置在腔体b(22)内部的门板b(91),所述门板b(91)上端部设置有支杆(92),所述支杆(92)滑动设置在料箱(2)内壁上。

6.根据权利要求2所述的一种石灰石筛分破碎装置,其特征在于,所述破碎组件包括若干锥形齿(71),所述锥形齿(71)与下料孔(56)相对应。

7.根据权利要求1所述的一种石灰石筛分破碎装置,其特征在于,所述集料腔(12)侧方端部滑动设置有挡板(121)。

8.根据权利要求1所述的一种石灰石筛分破碎装置,其特征在于,所述滑座斜面为光滑面并且与水平面之间呈30度夹角。

9.根据权利要求2所述的一种石灰石筛分破碎装置,其特征在于,所述载料盘(52)与载料板(53)上的下料孔(56)呈倒锥形。