欢迎来到知嘟嘟! 联系电话:13095918853 卖家免费入驻,海量在线求购! 卖家免费入驻,海量在线求购!
知嘟嘟
我要发布
联系电话:13095918853
知嘟嘟经纪人
收藏
专利号: 2020101383590
申请人: 西南交通大学
专利类型:发明专利
专利状态:已下证
专利领域: 道路、铁路或桥梁的建筑
更新日期:2024-01-05
缴费截止日期: 暂无
价格&联系人
年费信息
委托购买

摘要:

权利要求书:

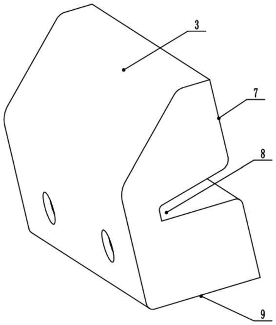
1.钢轨弹性支撑块,其特征在于,包括半体,所述半体包括减振质量块(4)、摩擦减振组块(6)、与所述减振质量块(4)连接的第一连接件(5)以及包裹所述减振质量块(4)、摩擦减振组块(6)和第一连接件(5)的弹性填充外壳(3),所述第一连接件(5)远离所述减振质量块(4)的一端设置有第一穿孔,所述摩擦减振组块(6)上设置有与所述第一穿孔配合的第二穿孔,所述弹性填充外壳(3)靠近摩擦减振组块(6)的一面上设置有用于抵靠轨道板的第一抵靠部(9),所述弹性填充外壳(3)靠近减振质量块(4)的一面上设置有用于抵靠钢轨(2)轨腰的第二抵靠部(7);位于第一抵靠部(9)和第二抵靠部(7)之间的弹性填充外壳(3)上设置有用于抵靠钢轨(2)轨底翼缘的第三抵靠部(8);所述弹性填充外壳(3)上开设有与所述第一穿孔和第二穿孔配合的第三穿孔。

2.根据权利要求1所述的钢轨弹性支撑块,其特征在于,位于同一弹性填充外壳(3)内的所述减振质量块(4)的数量大于1个,每个减振质量块(4)上均连接有一所述第一连接件(5),所有减振质量块(4)关于摩擦减振组块(6)的一中垂面呈轴对称分布。

3.根据权利要求1所述的钢轨弹性支撑块,其特征在于,所述减振质量块(4)呈长方体形。

4.根据权利要求1所述的钢轨弹性支撑块,其特征在于,所述摩擦减振组块(6)包括多个依次抵靠的橡胶板。

5.根据权利要求4所述的钢轨弹性支撑块,其特征在于,所述橡胶板侧面呈“<”型,且开口方向与第二抵靠部(7)所在平面垂直。

6.根据权利要求1所述的钢轨弹性支撑块,其特征在于,所述第一连接件(5)呈弧形,且朝向第三抵靠部(8)。

7.根据权利要求1-6任一所述的钢轨弹性支撑块,其特征在于,所述弹性填充外壳(3)的材质为橡胶。

8.钢轨弹性支撑套件,其特征在于,包括两个权利要求1-7任一所述半体,两个半体之间通过与第一穿孔、第二穿孔和第三穿孔配合的第二连接件可拆卸连接。

9.根据权利要求8所述的轨弹性减振套件,其特征在于,所述第二连接件包括贯穿所述第一穿孔、第二穿孔和第三穿孔的螺栓(1)以及与所述螺栓(1)配合的螺母。

10.根据权利要求8或9所述的轨弹性减振套件,其特征在于,位于不同半体内的相对两个减振质量块(4)之间的距离大于两个摩擦减振组块(6)之间的距离。