欢迎来到知嘟嘟! 联系电话:13336804447 卖家免费入驻,海量在线求购! 卖家免费入驻,海量在线求购!
知嘟嘟
我要发布
联系电话:13336804447
知嘟嘟经纪人
收藏
专利号: 2019224846284
申请人: 张佳枝
专利类型:实用新型
专利状态:已下证
专利领域: 家具;家庭用的物品或设备;咖啡磨;香料磨;一般吸尘器
更新日期:2023-09-03
缴费截止日期: 暂无
价格&联系人
年费信息
委托购买

摘要:

权利要求书:

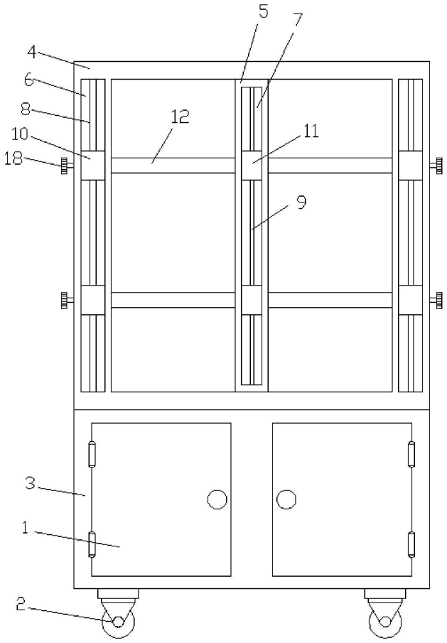
1.一种汽车零配件销售展示架,包括柜体(1),其特征在于:所述柜体(1)底端对称固定设有若干万向轮(2),所述柜体(1)的前侧对称铰接有若干门体(3),所述柜体(1)顶端固定设有展示台(4),所述展示台(4)的中间位置处固定设有竖板(5),所述竖板(5)位于所述展示台(4)的凹槽部,所述展示台(4)的两侧竖直部均开设有滑槽一(6),所述竖板(5)内开设有滑槽二(7),所述滑槽一(6)内均固定设有滑板(8),所述滑槽二(7)内的前侧和后侧均对称固定设有滑杆(9),所述滑板(8)上均滑动设有若干滑块一(10),所述滑块一(10)与所述滑槽一(6)滑动连接,所述滑杆(9)上滑动设有若干滑块二(11),所述滑块二(11)与所述滑槽二(7)滑动连接,所述滑块二(11)与相邻的所述滑块一(10)之间均固定设有放置台(12),所述滑块一(10)远离所述滑块二(11)的一侧均对称设有若干通槽(13),所述通槽(13)的两侧均设有滑槽三(14),所述通槽(13)内均滑动设有限位杆(15),所述滑槽三(14)内均滑动设有滑块三(16)。

2.根据权利要求1所述的一种汽车零配件销售展示架,其特征在于:所述竖板(5)上对称设有若干与所述限位杆(15)相匹配的通孔(17)。

3.根据权利要求1所述的一种汽车零配件销售展示架,其特征在于:所述限位杆(15)远离所述滑块二(11)的一端均贯穿所述展示台(4)延伸至所述展示台(4)外且固定连接有拉手(18)。

4.根据权利要求1所述的一种汽车零配件销售展示架,其特征在于:所述滑块二(11)均贯穿设有若干与所述滑杆(9)相匹配的圆孔。

5.根据权利要求1所述的一种汽车零配件销售展示架,其特征在于:所述滑块三(16)与所述滑槽三(14)均为T型结构。

6.根据权利要求1所述的一种汽车零配件销售展示架,其特征在于:所述滑块三(16)的一侧均与所述限位杆(15)相邻的一侧固定连接,所述滑块三(16)远离所述滑块二(11)的一侧均固定连接有弹簧(19),所述弹簧(19)的另一端均与所述滑槽三(14)远离所述滑块二(11)的一侧内壁固定连接。