欢迎来到知嘟嘟! 联系电话:13336804447 卖家免费入驻,海量在线求购! 卖家免费入驻,海量在线求购!
知嘟嘟
我要发布
联系电话:13336804447
知嘟嘟经纪人
收藏
专利号: 2019224601376
申请人: 廊坊市朔程燃气有限公司
专利类型:实用新型
专利状态:已下证
专利领域: 给水;排水
更新日期:2025-08-12
缴费截止日期: 暂无
价格&联系人
年费信息
委托购买

摘要:

权利要求书:

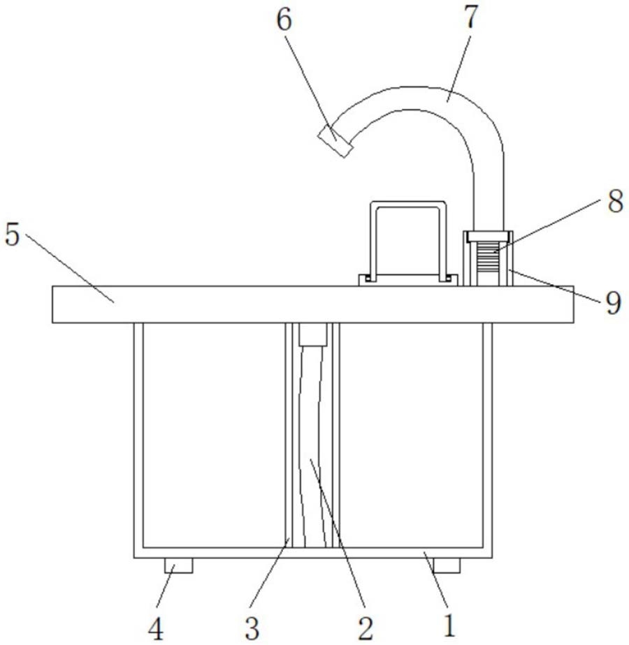
1.一种用于家居生活厨房的清洗台,其特征在于,包括固定箱(1),所述固定箱(1)底部的四角均固定安装有底座(4),所述固定箱(1)的顶部固定安装有清洗台面(5),所述清洗台面(5)的顶部开设有凹槽,所述凹槽的内腔固定安装有水槽(10),所述水槽(10)底部中间固定安装有出水口(16),所述出水口(16)的底部固定安装有出水管(2),所述水槽(10)顶部右侧背面的一端固定安装有固定筒(9),所述固定筒(9)的内腔活动套接有软管(8),所述软管(8)的顶部固定安装有弯头(7),所述弯头(7)的另一侧固定安装有喷头(6)。

2.根据权利要求1所述的一种用于家居生活厨房的清洗台,其特征在于,所述固定箱(1)内腔的中部固定安装有隔板(3),且隔板(3)的数量为两个,且出水管(2)位于两个隔板(3)的中间。

3.根据权利要求1所述的一种用于家居生活厨房的清洗台,其特征在于,所述水槽(10)顶部的右侧活动套接有漏网(11),所述漏网(11)的左侧固定安装有实心挡板(15),所述漏网(11)的底部和右侧均为铁丝网状设计,所述漏网(11)的底部开设有间距相等的水平块(14),所述漏网(11)的底部固定安装有位于水平块(14)右侧的竖直块(13),所述漏网(11)顶部的前后两侧均滑动连接有U型架(12)。

4.根据权利要求3所述的一种用于家居生活厨房的清洗台,其特征在于,所述U型架(12)具有弹性,且U型架(12)两外侧面的底部均设有矩形突起,所述漏网(11)内腔前后两侧的左右两端均开设有与U型架(12)两外侧面底部矩形突起部分尺寸相适配的卡槽,且卡槽位于漏网(11)内腔前后两侧的上下两端。