欢迎来到知嘟嘟! 联系电话:13336804447 卖家免费入驻,海量在线求购! 卖家免费入驻,海量在线求购!
知嘟嘟
我要发布
联系电话:13336804447
知嘟嘟经纪人
收藏
专利号: 2019224601179
申请人: 廊坊市朔程燃气有限公司
专利类型:实用新型
专利状态:已下证
专利领域: 家具;家庭用的物品或设备;咖啡磨;香料磨;一般吸尘器
更新日期:2025-08-12
缴费截止日期: 暂无
价格&联系人
年费信息
委托购买

摘要:

权利要求书:

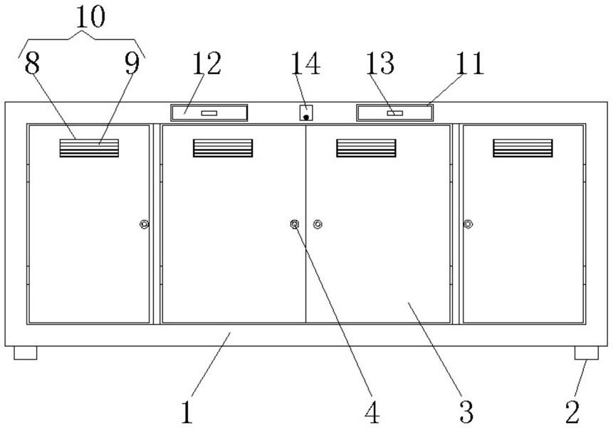
1.一种用于家居生活厨房的橱柜,包括橱柜本体(1),其特征在于,所述橱柜本体(1)的底部固定连接有支撑腿(2),所述橱柜本体(1)的内腔设有储物腔一(5)、储物腔二(6)和储物腔三(7),所述储物腔一(5)、储物腔二(6)和储物腔三(7)的外侧均活动连接有腔门(3),所述腔门(3)的外侧固定连接有把手(4),所述橱柜本体(1)正面顶端的中部固定连接有电子驱虫器(14),所述橱柜本体(1)正面顶端的两侧均设有卡槽(11),所述卡槽(11)的内腔活动连接有除湿盒(12),所述除湿盒(12)的外侧固定连接有手柄(13)。

2.根据权利要求1所述的一种用于家居生活厨房的橱柜,其特征在于,所述卡槽(11)位于储物腔二(6)的顶部,所述卡槽(11)和除湿盒的底部均镶嵌有网孔板,所述除湿盒(12)和卡槽(11)通过网孔板与储物腔二(6)相连通。

3.根据权利要求1所述的一种用于家居生活厨房的橱柜,其特征在于,所述储物腔一(5)内腔底部的两侧均固定连接有伸缩杆(21),所述伸缩杆(21)的顶部固定连接有置物架(22),所述置物架(22)上的隔板与置物架(22)内侧设有的凹槽相卡接,所述橱柜本体(1)顶部的左侧设有进出口且进出口的内侧活动连接有腔盖(15),所述置物架(22)与橱柜本体(1)上设有的进出口活动连接。

4.根据权利要求1所述的一种用于家居生活厨房的橱柜,其特征在于,所述储物腔二(6)内腔的两侧均匀固定连接有放置块(19),所述放置块(19)的顶部放置有放置板(17),所述储物腔二(6)内腔顶部的中部固定连接有紫外线消毒灯(16),所述储物腔二(6)内腔的一侧固定连接有照明灯一(20)。

5.根据权利要求1所述的一种用于家居生活厨房的橱柜,其特征在于,储物腔三(7)内腔的顶部固定连接有照明灯二(18)。

6.根据权利要求1所述的一种用于家居生活厨房的橱柜,其特征在于,所述腔门(3)的顶端设有通风槽(10),所述通风槽(10)的内侧固定连接有过滤网(8),所述通风槽(10)的外侧活动连接有百叶(9)。