欢迎来到知嘟嘟! 联系电话:13336804447 卖家免费入驻,海量在线求购! 卖家免费入驻,海量在线求购!
知嘟嘟
我要发布
联系电话:13336804447
知嘟嘟经纪人
收藏
专利号: 2019223906428
申请人: 苏州可双智能科技有限公司
专利类型:实用新型
专利状态:已下证
专利领域: 基本上无切削的金属机械加工;金属冲压
更新日期:2024-01-25
缴费截止日期: 暂无
价格&联系人
年费信息
委托购买

摘要:

权利要求书:

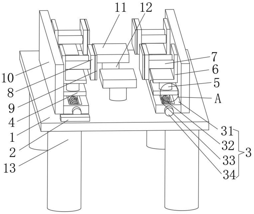
1.一种单机多工位机械手,其特征在于:包括底板(1)和移动单元(3);

底板(1):所述底板(1)的上表面中部均匀设有两个固定杆(12),两个固定杆(12)的上表面均固定连接有工作台(11);

移动单元(3):所述移动单元(3)共两个,两个移动单元(3)对称设于底板(1)的上表面,所述移动单元(3)包括固定块(31)、螺纹杆(32)、滑槽(33)和电机(34),所述固定块(31)设于底板(1)的上表面,所述电机(34)设于固定块(31)的外侧面,所述滑槽(33)设于固定块(31)的上表面,所述螺纹杆(32)的两端分别与滑槽(33)的两个内侧面转动连接,所述螺纹杆(32)的一端穿过滑槽(33)的侧面与电机(34)的输出轴固定连接,所述螺纹杆(32)的外侧面均匀设有两个滑块(14),所述滑块(14)侧面的螺孔与螺纹杆(32)螺纹连接,所述滑块(14)的上表面均设有基板(4),所述基板(4)的上表面均对称设有两个第一电动推杆(5),所述第一电动推杆(5)的上表面固定连接有安装板(6),所述安装板(6)为“L”形板,所述安装板(6)的内侧面均固定连接有两个第二电动推杆(7)的固定端,两个第二电动推杆(7)的伸缩端均固定连接夹板(8)的侧面;

其中,还包括单片机(2),所述单片机(2)设于底板(1)的上表面,所述单片机(2)的输入端与外部电源的输出端电连接,所述单片机(2)的输出端与电机(34)、第一电动推杆(5)和第二电动推杆(7)的输入端电连接。

2.根据权利要求1所述的一种单机多工位机械手,其特征在于:还包括侧板(10),所述侧板(10)共两个,两个侧板(10)对称设于底板(1)的上表面两端,所述侧板(10)的内侧面与固定块(31)的侧面配合接触安装。

3.根据权利要求2所述的一种单机多工位机械手,其特征在于:所述侧板(10)的内侧面均与安装板(6)的外侧面配合滑动安装,且其滑动安装处均设有防磨损垫。

4.根据权利要求1所述的一种单机多工位机械手,其特征在于:还包括缓冲垫(9),所述缓冲垫(9)共四个,四个缓冲垫(9)分别设于四个夹板(8)的外侧面,所述缓冲垫(9)为海绵块。

5.根据权利要求1所述的一种单机多工位机械手,其特征在于:还包括支撑柱(13),所述支撑柱(13)共四个,四个支撑柱(13)沿底板(1)的下表面四角均匀设置。