欢迎来到知嘟嘟! 联系电话:13336804447 卖家免费入驻,海量在线求购! 卖家免费入驻,海量在线求购!
知嘟嘟
我要发布
联系电话:13336804447
知嘟嘟经纪人
收藏
专利号: 2019223098676
申请人: 陈晓芳
专利类型:实用新型
专利状态:已下证
专利领域: 一般的物理或化学的方法或装置
更新日期:2025-07-02
缴费截止日期: 暂无
价格&联系人
年费信息
委托购买

摘要:

权利要求书:

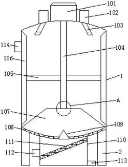
1.一种液体类化妆品瓶的反应釜清洗装置,包括反应釜(1)和脚架(2),其特征在于,所述反应釜(1)的底部固定安装有脚架(2);

所述反应釜(1)包括电机(101)、注水口(102)、喷头(103)、转轴(104)、连接杆(105)、刮板(106)、叶片(107)、锯齿(108)、凹槽(109)、收集箱(110)、过滤板(111)、排污口(112)、排水口(113)、控制开关(114)、密封门(115),所述反应釜(1)的顶部固定安装有电机(101),所述电机(101)的一侧固定安装有注水口(102),所述注水口(102)的底端固定安装有喷头(103),所述喷头(103)的一侧活动连接有转轴(104),所述转轴(104)的一侧固定安装有连接杆(105),所述连接杆(105)的一端固定安装有刮板(106),所述转轴(104)的底端固定安装有叶片(107),所述叶片(107)的底端固定安装有锯齿(108),所述锯齿(108)的一侧嵌入设置有凹槽(109),所述反应釜(1)的下方固定安装有收集箱(110),所述收集箱(110)的内部固定安装有过滤板(111),所述过滤板(111)的一端固定安装有排污口(112),所述收集箱(110)的外壁底端固定安装有排水口(113),所述反应釜(1)的外壁一侧固定安装有控制开关(114),所述反应釜(1)的正面活动连接有密封门(115)。

2.根据权利要求1所述的一种液体类化妆品瓶的反应釜清洗装置,其特征在于,所述反应釜(1)的内壁顶部两侧均设有喷头(103),且喷头(103)均为向一侧倾斜30°设置。

3.根据权利要求1所述的一种液体类化妆品瓶的反应釜清洗装置,其特征在于,所述刮板(106)呈梯形结构,且刮板(106)为向一侧倾斜30°-40°。

4.根据权利要求1所述的一种液体类化妆品瓶的反应釜清洗装置,其特征在于,所述锯齿(108)为三角形状,且锯齿(108)在叶片(107)的底部固定安装有若干个。

5.根据权利要求1所述的一种液体类化妆品瓶的反应釜清洗装置,其特征在于,所述凹槽(109)呈三角形状,且凹槽(109)设在叶片(107)的底端中间。

6.根据权利要求1所述的一种液体类化妆品瓶的反应釜清洗装置,其特征在于,所述过滤板(111)为向一侧倾斜30°设置,且过滤板(111)之间的孔直径为2cm-3cm。

7.根据权利要求1所述的一种液体类化妆品瓶的反应釜清洗装置,其特征在于,所述控制开关(114)与电机(101)之间电性连接。