欢迎来到知嘟嘟! 联系电话:13336804447 卖家免费入驻,海量在线求购! 卖家免费入驻,海量在线求购!
知嘟嘟
我要发布
联系电话:13336804447
知嘟嘟经纪人
收藏
专利号: 2019222265188
申请人: 西安视清医药科技有限公司
专利类型:实用新型
专利状态:已下证
专利领域: 医学或兽医学;卫生学
更新日期:2024-04-11
缴费截止日期: 暂无
价格&联系人
年费信息
委托购买

摘要:

权利要求书:

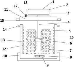
1.一种中草药加工用的揉搓装置,包括盒身(13)和设置在盒身(13)上端口的盒盖(11),其特征在于,所述盒身(13)内部设有用于放置中草药的揉搓腔(12),所述盒盖(11)下端设有用于对揉搓腔(12)内部的中草药进行揉搓处理的揉搓部件;

所述揉搓部件包括旋转杆(4),所述旋转杆(4)下端设有与药材直接接触的揉搓头,所述揉搓头由至少两个阵列分布的揉搓锤(5)构成,多个揉搓锤(5)之间通过连接轴(6)连接,所述旋转杆(4)上端穿过设置在盒盖(11)上的穿孔,所述旋转杆(4)上端与设置在盒盖(11)上方的提手(3)连接,所述提手(3)上端设有摇杆(1)。

2.根据权利要求1所述的一种中草药加工用的揉搓装置,其特征在于,所述盒身(13)内部设有揉搓槽(16),揉搓锤(5)和揉搓槽(16)表面都设有圆状凸起(7)。

3.根据权利要求1所述的一种中草药加工用的揉搓装置,其特征在于,所述盒身(13)底部装有稳定盒身(13)的硅胶底座(10),所述盒盖(11)两侧设有直角扣(15),盒身(13)两侧设有对应的扣身(14),盒身(13)与盒盖(11)通过直角扣(15)连接。

4.根据权利要求1所述的一种中草药加工用的揉搓装置,其特征在于,所述提手(3)和摇杆(1)通过转动轴(2)连接。

5.根据权利要求1所述的一种中草药加工用的揉搓装置,其特征在于,所述提手(3)一侧设有侧板(17),螺栓(18)下端穿过设置在侧板(17)上的穿孔,螺栓(18)下端与盒盖(11)连接。

6.根据权利要求1所述的一种中草药加工用的揉搓装置,其特征在于,所述盒身(13)一侧靠近盒底处设有凹槽(8),凹槽(8)内装有方便取出中草药的弧形勺(9),弧形勺(9)弧度与圆状凸起(7)吻合。