欢迎来到知嘟嘟! 联系电话:13336804447 卖家免费入驻,海量在线求购! 卖家免费入驻,海量在线求购!
知嘟嘟
我要发布
联系电话:13336804447
知嘟嘟经纪人
收藏
专利号: 2022203693825
申请人: 刘涛
专利类型:实用新型
专利状态:已下证
专利领域: 破碎、磨粉或粉碎;谷物碾磨的预处理
更新日期:2024-02-23
缴费截止日期: 暂无
价格&联系人
年费信息
委托购买

摘要:

权利要求书:

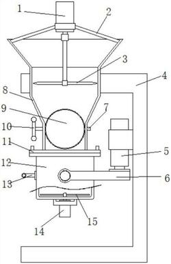
1.一种畜牧兽医用中草药粉粹装置,包括固定架(4),其特征在于:所述固定架(4)外部固定安装有筒体(8)和电动推杆(5),所述筒体(8)顶部固定安装有支撑架(2),所述支撑架(2)顶部固定安装有第一电机(1),所述第一电机(1)的电机轴固定安装有粉碎刀杆(3),所述筒体(8)内壁贯穿安装有轴杆(7),所述轴杆(7)外部固定安装有调动柄(10),所述轴杆(7)中部固定安装有圆盘(9),所述筒体(8)底部固定安装有安装环(11),所述安装环(11)外壁开设有限位孔(18),所述电动推杆(5)外部固定安装有安装架(6),所述安装架(6)内壁铰接安装有粉碎筒体(12),所述粉碎筒体(12)顶部表面固定安装有限位柱(17),所述限位柱(17)内壁底部固定安装有研磨刀杆(15),所述粉碎筒体(12)外部固定安装有握柄(13)和第二电机(14)。2.根据权利要求1所述的一种畜牧兽医用中草药粉粹装置,其特征在于:所述圆盘(9)的侧壁固定安装有橡胶环(16)。3.根据权利要求1所述的一种畜牧兽医用中草药粉粹装置,其特征在于:所述粉碎刀杆(3)和圆盘(9)均位于筒体(8)的内部,粉碎刀杆(3)位于圆盘(9)的正上方。4.根据权利要求1所述的一种畜牧兽医用中草药粉粹装置,其特征在于:所述粉碎筒体(12)的限位柱(17)与安装环(11)的限位孔(18)镶嵌连接。5.根据权利要求1所述的一种畜牧兽医用中草药粉粹装置,其特征在于:所述第二电机(14)的电机轴与研磨刀杆(15)的底部相连接。