欢迎来到知嘟嘟! 联系电话:13336804447 卖家免费入驻,海量在线求购! 卖家免费入驻,海量在线求购!
知嘟嘟
我要发布
联系电话:13336804447
知嘟嘟经纪人
收藏
专利号: 2019221277050
申请人: 湖州职业技术学院
专利类型:实用新型
专利状态:已下证
专利领域: 流体压力执行机构;一般液压技术和气动技术
更新日期:2023-08-24
缴费截止日期: 暂无
价格&联系人
年费信息
委托购买

摘要:

权利要求书:

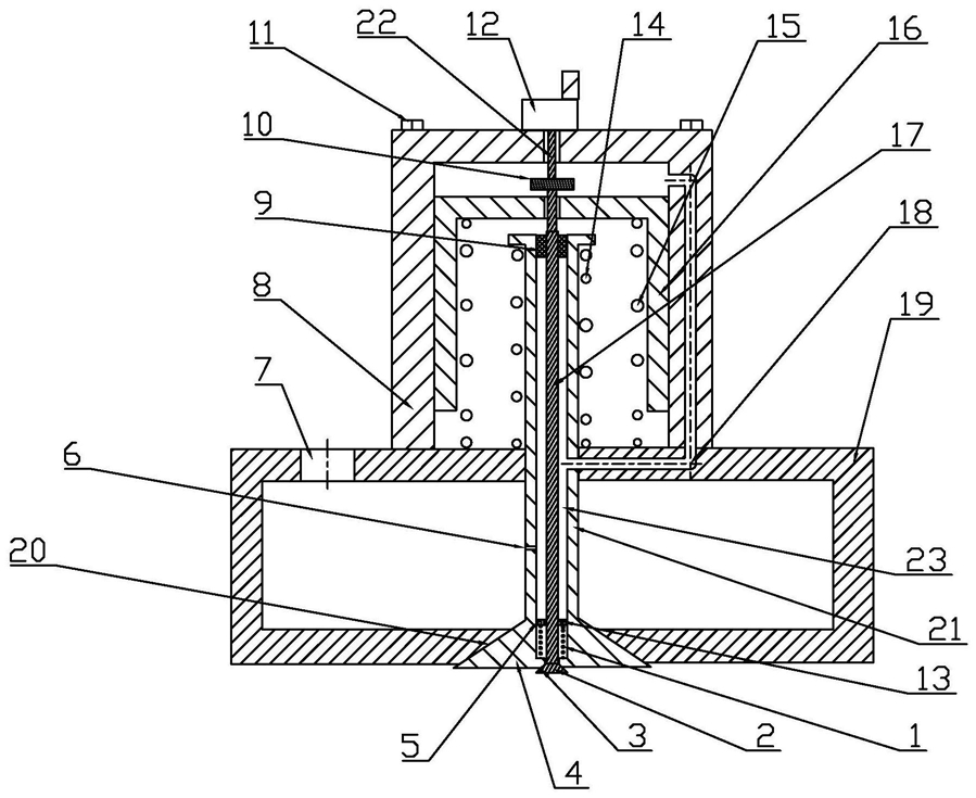
1.一种电控式高压大流量液压机充液阀,包括阀体,其特征在于,所述阀体上连接有空杯,所述阀体上设置有与油箱连通的进油口,所述空杯内滑动连接有控制油缸,所述控制油缸内部设置有第一弹簧,所述第一弹簧的一端抵在阀体上,所述第一弹簧的另一端抵在控制油缸上,所述阀体上滑动连接有主阀杆,所述主阀杆的一端延伸至靠近控制油缸处,所述主阀杆的另一端设置有主阀芯,所述阀体上对应主阀芯设置有主阀口,所述主阀杆靠近控制油缸的一端围绕主阀杆设置有第二弹簧,所述第二弹簧的一端抵在主阀杆上,所述第二弹簧的另一端抵在阀体上,所述主阀杆内设置有先导腔,所述先导腔内设置有先导杆,所述先导杆的远离控制油缸的一端设置有先导阀芯,所述主阀芯上设置有与先导阀芯相配合的先导阀口,所述空杯上设置有电磁阀,所述电磁阀的输出端连接有升降阀杆,所述升降阀杆上设置有第一挡环,所述升降阀杆的远离电磁阀的一端与先导杆连接,所述先导杆的上下两端分别设置有与主阀杆滑动连接的上挡环和下挡环,所述下挡环上设置有先导孔,所述下挡环与主阀芯之间围绕先导杆设置有第三弹簧,所述主阀杆、阀体和空杯之间设置有控制油通道,所述控制油通道的一端连通至先导腔,所述控制油通道的另一端连通至控制油缸和空杯之间的腔体内,所述主阀杆上设置有连通先导腔和阀体内部空间的阻尼孔。

2.根据权利要求1所述的一种电控式高压大流量液压机充液阀,其特征在于,所述空杯通过螺栓固定在阀体上。

3.根据权利要求1所述的一种电控式高压大流量液压机充液阀,其特征在于,所述主阀口的内壁面为锥形面。

4.根据权利要求1或2或3所述的一种电控式高压大流量液压机充液阀,其特征在于,所述先导阀口的内壁面为锥形面。

5.根据权利要求1或2或3所述的一种电控式高压大流量液压机充液阀,其特征在于,所述的挡环由铁制成。

6.根据权利要求1或2或3所述的一种电控式高压大流量液压机充液阀,其特征在于,所述的控制油缸由不锈钢材料制成。

7.根据权利要求1或2或3所述的一种电控式高压大流量液压机充液阀,其特征在于,所述的进油口的数量为多个。