欢迎来到知嘟嘟! 联系电话:13336804447 卖家免费入驻,海量在线求购! 卖家免费入驻,海量在线求购!
知嘟嘟
我要发布
联系电话:13336804447
知嘟嘟经纪人
收藏
专利号: 2019221211918
申请人: 嘉善远景机械有限公司
专利类型:实用新型
专利状态:已下证
专利领域: 飞行器;航空;宇宙航行
更新日期:2024-12-19
缴费截止日期: 暂无
价格&联系人
年费信息
委托购买

摘要:

权利要求书:

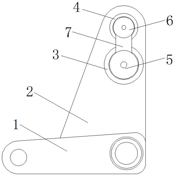
1.一种航空地勤车用后轮支架,包括固定横架(1),其特征在于,所述固定横架(1)的表面固定安装有支撑纵架(2),所述支撑纵架(2)的正面和背面贯穿安装有承重轴管(3)和连接轴管(4),且连接轴管(4)位于承重轴管(3)的上方,所述承重轴管(3)的内部滑动插接有支撑主轴(5),所述连接轴管(4)的内部滑动插接有连接轴(6),所述支撑主轴(5)和连接轴(6)的相向侧固定安装有支撑片架(7),所述连接轴管(4)的内壁和表面贯穿开设有限位通孔(9),所述连接轴(6)的内部开设有凹室(10),所述凹室(10)的内壁和连接轴(6)的表面贯穿开设有滑孔(11),所述凹室(10)的内部滑动连接有滑动罩框(12),所述滑动罩框(12)的一面固定安装有弹簧(13),所述滑动罩框(12)的另一面固定安装有限位插接柱(14)。

2.根据权利要求1所述的一种航空地勤车用后轮支架,其特征在于,所述支撑片架(7)的一侧面粘接有紧固垫片(8),且支撑片架(7)通过紧固垫片(8)与承重轴管(3)的端部相搭接。

3.根据权利要求2所述的一种航空地勤车用后轮支架,其特征在于,所述紧固垫片(8)采用氟橡胶材质制成。

4.根据权利要求1所述的一种航空地勤车用后轮支架,其特征在于,所述限位插接柱(14)滑动插接在滑孔(11)和限位通孔(9)内。

5.根据权利要求1所述的一种航空地勤车用后轮支架,其特征在于,所述限位通孔(9)的数量为两个,且两个限位通孔(9)分别位于连接轴管(4)的顶部和底部。

6.根据权利要求1所述的一种航空地勤车用后轮支架,其特征在于,所述滑孔(11)的数量为两个,且两个滑孔(11)分别位于凹室(10)的顶部和底部。