欢迎来到知嘟嘟! 联系电话:13336804447 卖家免费入驻,海量在线求购! 卖家免费入驻,海量在线求购!
知嘟嘟
我要发布
联系电话:13336804447
知嘟嘟经纪人
收藏
专利号: 2019220981906
申请人: 嘉善远景机械有限公司
专利类型:实用新型
专利状态:已下证
专利领域: 工程元件或部件;为产生和保持机器或设备的有效运行的一般措施;一般绝热
更新日期:2024-08-06
缴费截止日期: 暂无
价格&联系人
年费信息
委托购买

摘要:

权利要求书:

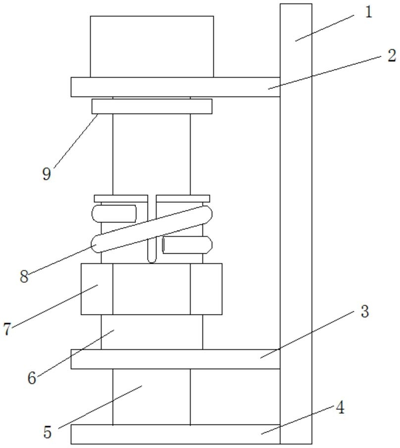
1.航空地勤车用高端紧固件,包括支架(1),其特征在于,所述支架(1)的侧面开设有滑槽(10),所述滑槽(10)的内部固定有固定轴(11),所述固定轴(11)上活动套接有滑板(2),所述滑板(2)与滑槽(10)滑动连接,所述支架(1)的侧面固定有第一支板(3)和第二支板(4),所述第一支板(3)的顶部固定有套筒(6),所述滑板(2)上转动连接有螺纹杆(5),所述螺纹杆(5)的顶部开设有八角槽(12),所述螺纹杆(5)插入套筒(6)的内部并通过螺纹与套筒(6)套接,所述套筒(6)的表面通过螺纹套接有螺帽(7),所述套筒(6)的表面活动套接有弹簧(8),所述螺纹杆(5)上活动套接有垫片(9)。

2.根据权利要求1所述的航空地勤车用高端紧固件,其特征在于,所述螺纹杆(5)上开设有限位孔(13),所述限位孔(13)的数量为若干个,所述套筒(6)的侧面安装有限位杆(14),所述限位杆(14)的侧面开设有安装槽(16),所述安装槽(16)的内部固定安装有转轴(17),所述转轴(17)上转动连接有锁定杆(15)。

3.根据权利要求2所述的航空地勤车用高端紧固件,其特征在于,所述限位杆(14)与螺纹杆(5)垂直,所述限位杆(14)与第一支板(3)的上表面平行。

4.根据权利要求1所述的航空地勤车用高端紧固件,其特征在于,所述第一支板(3)和第二支板(4)均开设有通孔,所述螺纹杆(5)通过通孔与第一支板(3)和第二支板(4)转动连接。

5.根据权利要求1所述的航空地勤车用高端紧固件,其特征在于,所述螺纹杆(5)、套筒(6)、螺帽(7)和垫片(9)同轴心,所述螺纹杆(5)和支架(1)的侧面平行。

6.根据权利要求1所述的航空地勤车用高端紧固件,其特征在于,所述第一支板(3)的下表面和第二支板(4)的下表面均与滑板(2)的下表面平行,所述第一支板(3)与支架(1)的侧面垂直。