欢迎来到知嘟嘟! 联系电话:13336804447 卖家免费入驻,海量在线求购! 卖家免费入驻,海量在线求购!
知嘟嘟
我要发布
联系电话:13336804447
知嘟嘟经纪人
收藏
专利号: 2019219218548
申请人: 西安康倍机电科技有限公司
专利类型:实用新型
专利状态:已下证
专利领域: 手动工具;轻便机动工具;手动器械的手柄;车间设备;机械手
更新日期:2025-03-24
缴费截止日期: 暂无
价格&联系人
年费信息
委托购买

摘要:

权利要求书:

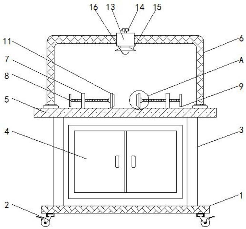
1.一种航空设备维修用辅助定位装置,包括底座(1),其特征在于:所述底座(1)的底部左右两侧均固定安装有数量为两个的滚轮(2),底座(1)的顶部左右两侧均固定安装有固定杆(3),底座(1)的顶部固定安装有与两个所述固定杆(3)固定连接的储物柜(4),两个所述固定杆(3)的顶部均与工作台(5)固定连接,工作台(5)的顶部固定安装有支撑架(6),工作台(5)的顶部固定安装有位于支撑架(6)内部且数量为两个的固定板(7),左右两侧所述固定板(7)相背的一侧均活动安装有贯穿且延伸至两个所述固定板(7)相对一侧的丝杆(8),丝杆(8)与固定板(7)螺纹连接,两个所述丝杆(8)相背的一侧均固定安装有把手(9),两个所述丝杆(8)的外侧且位于两个所述丝杆(8)相对的一侧均套接有活动块(10),两个所述活动块(10)相对的一侧均固定安装有定位板(11),定位板(11)的底部固定安装有延伸至工作台(5)内部的滑块(12),所述支撑架(6)的外侧且位于工作台(5)的上方套接有活动套(13),活动套(13)的顶部活动安装有贯穿活动套(13)并与支撑架(6)接触的定位螺栓(14),所述活动套(13)的底部固定安装有灯座(15),灯座(15)的底部固定安装有照明灯(16)。

2.根据权利要求1所述的一种航空设备维修用辅助定位装置,其特征在于:所述灯座(15)的底部开设有螺纹孔,且照明灯(16)的外侧顶部设置有外螺纹,所述照明灯(16)与灯座(15)螺纹连接。

3.根据权利要求1所述的一种航空设备维修用辅助定位装置,其特征在于:左右两侧所述活动块(10)相背的一侧均开设有限位槽,且限位槽的槽内活动安装有圆形块,且两个所述圆形块相背的一侧均与丝杆(8)固定连接,圆形块的直径大于丝杆(8)的直径。

4.根据权利要求1所述的一种航空设备维修用辅助定位装置,其特征在于:所述工作台(5)的顶部左右两侧均开设有与滑块(12)相适配的滑槽,且滑槽和滑块(12)均为T型,所述滑槽和滑块(12)均为其顶部宽度小于其底部宽度。

5.根据权利要求1所述的一种航空设备维修用辅助定位装置,其特征在于:左右两侧所述滚轮(2)均为万向轮,且左右两侧所述滚轮(2)相背的一侧均活动安装有刹车片。

6.根据权利要求1所述的一种航空设备维修用辅助定位装置,其特征在于:所述储物柜(4)的正面左右两侧均活动安装有柜门,且柜门的正面均固定安装有拉手。