欢迎来到知嘟嘟! 联系电话:13336804447 卖家免费入驻,海量在线求购! 卖家免费入驻,海量在线求购!
知嘟嘟
我要发布
联系电话:13336804447
知嘟嘟经纪人
收藏
专利号: 2019218430271
申请人: 湖州师范学院
专利类型:实用新型
专利状态:已下证
专利领域: 武器
更新日期:2023-08-24
缴费截止日期: 暂无
价格&联系人
年费信息
委托购买

摘要:

权利要求书:

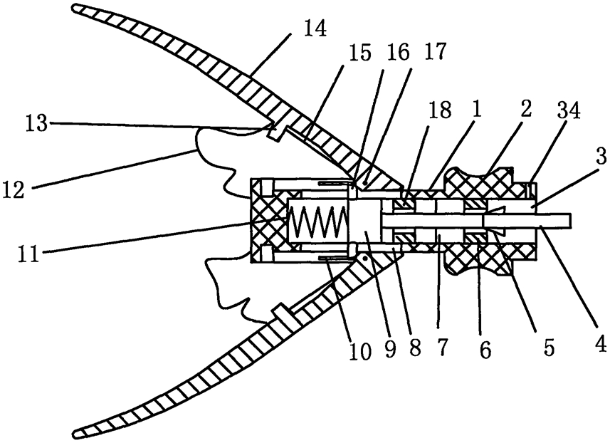
1.一种发射捕鱼网的枪,包括发射体和枪体,其特征在于:所述的发射体包括圆柱外形的中心体(1),中心体(1)的前端圆柱体外侧沿轴向加工4~8个沟槽,在每个沟槽两侧设有滑槽(10),每个沟槽内均安装有飞爪(14),中心体(1)的后部设有定位环(2),定位环(2)的后端部直径减小处与枪体相应构件接触;

所述的飞爪(14)一端带有转轴(17),转轴(17)两侧向外伸出嵌入到滑槽(10)内,并可以在滑槽(10)内滑动,飞爪(14)的中部内侧制有凸起(13),当飞爪(14)处于收拢状态时,凸起(13)卡在中心体(1)的左面圆周上的凹槽内;所述的中心体(1)的内部为左端封闭的圆柱形空心体(3),在空心体(3)左端安装小弹簧(11),小弹簧(11)的右端抵在圆柱体(9)上;在圆柱形空心体(3)的中部嵌入定位体(18)并固定,在靠近中心体(1)的尾部处嵌入卡柱(6)并固定,卡柱(6)的左端设有保险插孔(7),推杆(4)穿过卡柱(6)及定位体(18)的中心孔后,与圆柱体(9)相连接;

所述的圆柱体(9)可以在空心体(3)内轴向滑动,中心体(1)上对应飞爪(14)的方向上制有狭缝(8),并在对应的飞爪(14)内侧制有同样宽度的飞爪滑槽(15),飞爪滑槽(15)靠近凸起(13)的一侧较深,靠近转轴(17)的一侧较浅,圆柱体(9)的左端部安装有滑杆(16),滑杆(16)通过狭缝(8)探入飞爪滑槽(15)内,当圆柱体(9)带动滑杆(16)位于空心体(3)左侧时,滑杆(16)的顶部没有与飞爪滑槽(15)的底部接触,飞爪(14)处于收拢状态,当圆柱体(9)带动滑杆(16)向右移动时,滑杆(16)的顶部与飞爪滑槽(15)的底部逐渐接触,开始将飞爪(14)顶起,飞爪(14)前端向外打开呈辐射状,当圆柱体(9)带动滑杆(16)右移至与定位体(18)接触时,推动转轴(17)脱离滑槽(10),飞爪(14)脱离中心体(1)的束缚;

所述的推杆(4)的右侧表面上固定有弹簧片(5),当用手推动推杆(4)使得圆柱体(9)压缩小弹簧(11)移动至最左端时,弹簧片(5)划过卡柱(6)后右端部卡在卡柱(6)上,推杆(4)不能再轴向移动,此时推杆(4)的右端部距中心体(1)的右端面有2~3毫米距离;

所述的飞爪(14)内侧中部固定安装丝网(12),丝网(12)的中部固定在中心体(1)的左端面上;

所述的枪体,包括枪管(19)、长槽(20)、保险插(21)、击发器(22)、鱼线轮(23)、蓄能弹簧(24)、枪柄(25)、扳机(26)、弹性夹(27)、手柄(28);

所述的蓄能弹簧(24)安装在枪管(19)的右端内部,蓄能弹簧(24)的左端和圆柱形击发器(22)连接,击发器(22)的左端处枪管(19)下方设有扳机(26),拉动手柄(28)沿长槽(20)向后滑动,带动击发器(22)压缩蓄能弹簧(24),当扳机(26)右端卡住击发器(22)时,使得击发器(22)压缩蓄能弹簧(24)处于最右端位置处;

所述的枪管(19)的右侧还依次设有保险插(21)及弹性夹(27),发射体从枪管(19)前端装入后,将定位环(2)嵌入到弹性夹(27)内夹住,并将保险插(21)从上部压下,插入发射体上的保险插孔(7)内,将卡在卡柱(6)上的弹簧片(5)压缩的同时,将发射体固定在枪管之内。

2.根据权利要求1所述的一种发射捕鱼网的枪,其特征在于,所述的中心体(1)用轻质金属或高强度塑料制成,飞爪(14)用较重的金属材料制成。

3.根据权利要求1所述的一种发射捕鱼网的枪,其特征在于,所述的枪管(19)的后端上部安装鱼线轮(23),枪管(19)后端的下部为枪柄(25)。

我要求购
我不想找了,帮我找吧
您有专利需要变现?
我要出售
智能匹配需求,快速出售