欢迎来到知嘟嘟! 联系电话:13336804447 卖家免费入驻,海量在线求购! 卖家免费入驻,海量在线求购!
知嘟嘟
我要发布
联系电话:13336804447
知嘟嘟经纪人
收藏
专利号: 2019215875254
申请人: 宁波卫生职业技术学院
专利类型:实用新型
专利状态:已下证
专利领域: 生物化学;啤酒;烈性酒;果汁酒;醋;微生物学;酶学;突变或遗传工程
更新日期:2023-08-24
缴费截止日期: 暂无
价格&联系人
年费信息
委托购买

摘要:

权利要求书:

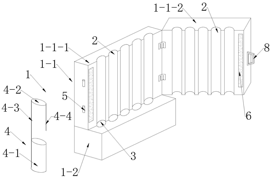
1.一种生化微量鉴定管的试管架,其特征在于,包括盒本体(1),该盒本体(1)由上盒身(1-1)和下盒身(1-2)组成,其中,所述上盒身(1-1)包括第一盒体(1-1-1)和第二盒体(1-1-

2),该第一盒体(1-1-1)的底部与下盒身(1-2)一体成型,所述第一盒体(1-1-1)和第二盒体(1-1-2)的一侧通过铰接件铰接形成开合式结构,且对应该第一盒体(1-1-1)与第二盒体(1-1-2)合并时接触的两接触面分别竖向开有至少1对对称的C型槽(2),且两对称的C型槽(2)合并形成可插放生化微量鉴定管的试管槽(3),同时,所述试管槽(3)的底部延伸至下盒身(1-2);另外,所述第一盒体(1-1-1)或第二盒体(1-1-2)的侧壁上挂设有可插放普通试管的托管体(4)。

2.根据权利要求1所述的一种生化微量鉴定管的试管架,其特征在于,所述第一盒体(1-1-1)或第二盒体(1-1-2)的侧壁上一体凸设有柱体挂扣(5),所述托管体(4)包括勺体(4-1)、环体(4-2)、连接杆(4-3)、与柱体挂扣(5)相适配的挂针(4-4),所述环体(4-2)位于勺体(4-1)的正上方,所述连接杆(4-3)的两端分别与勺体(4-1)、环体(4-2)连接,所述勺体(4-1)或环体(4-2)上设挂针(4-4)。

3.根据权利要求2所述的一种生化微量鉴定管的试管架,其特征在于,所述第一盒体(1-1-1)、第二盒体(1-1-2)的接触面的边缘处分别内嵌设有异形相吸的磁条(6)。

4.根据权利要求2所述的一种生化微量鉴定管的试管架,其特征在于,所述第一盒体(1-1-1)、第二盒体(1-1-2)上分别设有相适配的锁体和锁扣(7)。

5.根据权利要求3或4所述的一种生化微量鉴定管的试管架,其特征在于,所述第二盒体(1-1-2)上设有把手(8)。

6.根据权利要求5所述的一种生化微量鉴定管的试管架,其特征在于,所述盒本体(1)采用透明的有机玻璃制成。

7.根据权利要求6所述的一种生化微量鉴定管的试管架,其特征在于,所述试管槽(3)的深度大于生化微量鉴定管的长度,且该试管槽(3)的槽口延伸至第一盒体(1-1-1)和第二盒体(1-1-2)的上表面。