欢迎来到知嘟嘟! 联系电话:13336804447 卖家免费入驻,海量在线求购! 卖家免费入驻,海量在线求购!
知嘟嘟
我要发布
联系电话:13336804447
知嘟嘟经纪人
收藏
专利号: 2019215847447
申请人: 利辛县奥琳娜化妆用具有限公司
专利类型:实用新型
专利状态:无效专利
专利领域: 刷类制品
更新日期:2024-02-23
缴费截止日期: 暂无
价格&联系人
年费信息
委托购买

摘要:

权利要求书:

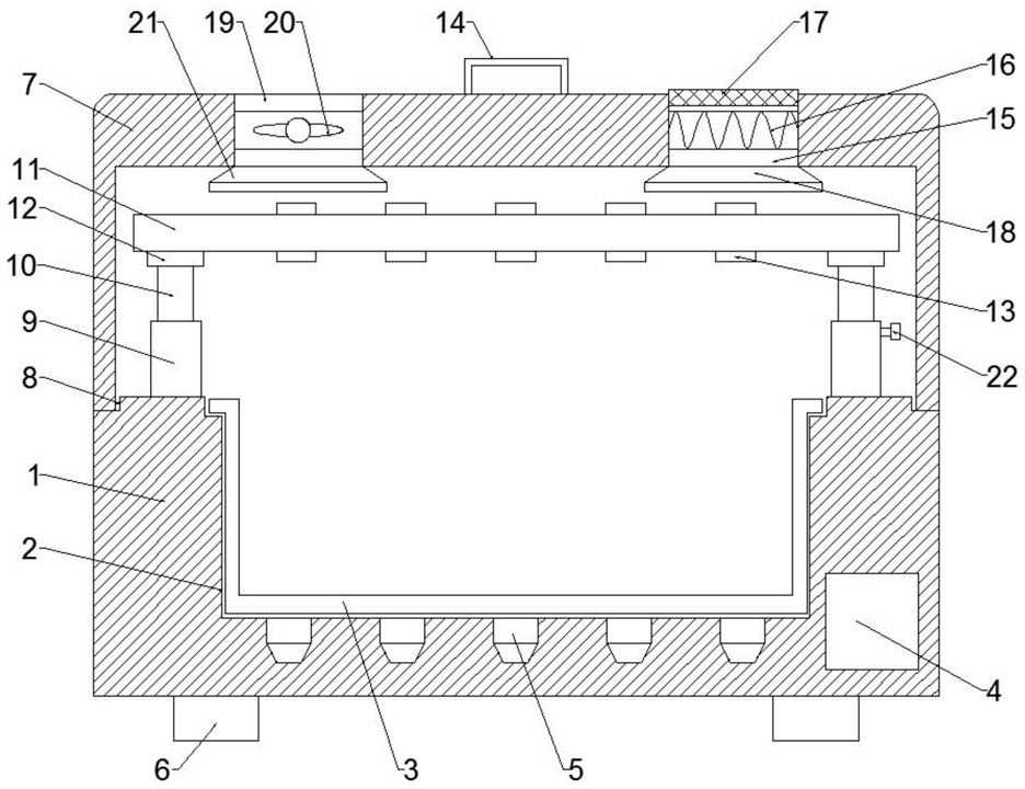
1.一种化妆刷清洗装置,包括箱体(1)、安装槽(2)和内胆(3),其特征在于,所述箱体(1)内部设有安装槽(2),安装槽(2)内设有内胆(3),箱体(1)右侧底部设有超声波发射器(4),安装槽(2)底部设有超声波换能器(5),所述箱体(1)底端四角处对称设有支撑脚(6),箱体(1)上端对称安装有套管(9),套管(9)插装活动柱(10),且活动柱(10)滑动连接套管(9)内壁,活动柱(10)上端固定连接有横梁(11),横梁(11)上安装有若干橡胶套(13),箱体(1)上端设有箱盖(7),箱盖(7)上端中部设有拉手(14),箱盖(7)右端开设有进气口(15),进气口(15)内部安装有电加热丝(16),且进气口(15)下端安装有进气罩(18),箱盖(7)左端开设有出气口(19),出气口(19)内部安装有排风扇(20),且出气口(19)下端安装有出气罩(21)。

2.根据权利要求1所述的一种化妆刷清洗装置,其特征在于,所述箱体(1)顶端外侧对应箱盖(7)设有边槽(8),且箱盖(7)内壁滑动连接边槽(8)。

3.根据权利要求1所述的一种化妆刷清洗装置,其特征在于,所述套管(9)上安装有锁紧螺栓(22),且活动柱(10)通过锁紧螺栓(22)与套管(9)固定。

4.根据权利要求1所述的一种化妆刷清洗装置,其特征在于,所述活动柱(10)上端套装有减震套(12),且减震套(12)粘连横梁(11)底端。

5.根据权利要求1所述的一种化妆刷清洗装置,其特征在于,所述横梁(11)上对应橡胶套(13)开设有若干固定孔(23),且固定孔(23)内壁光滑。

6.根据权利要求1所述的一种化妆刷清洗装置,其特征在于,所述橡胶套(13)中部设有插孔(25),橡胶套(13)外壁设有卡槽(24),且卡槽(24)的高度与横梁(11)的厚度相同,且橡胶套(13)位于卡槽(24)处的外径与固定孔(23)的直径相同。

7.根据权利要求1所述的一种化妆刷清洗装置,其特征在于,所述出气口(19)上端安装有防尘网(17)。