欢迎来到知嘟嘟! 联系电话:13336804447 卖家免费入驻,海量在线求购! 卖家免费入驻,海量在线求购!
知嘟嘟
我要发布
联系电话:13336804447
知嘟嘟经纪人
收藏
专利号: 2019215748085
申请人: 利辛县奥琳娜化妆用具有限公司
专利类型:实用新型
专利状态:已下证
专利领域: 清洁
更新日期:2024-02-23
缴费截止日期: 暂无
价格&联系人
年费信息
委托购买

摘要:

权利要求书:

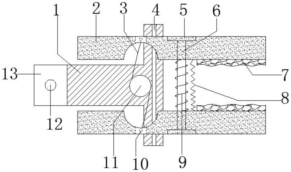
1.一种化妆刷用清洗夹具,包括限位座(1)、夹板(2),其特征在于,所述限位座(1)的上端右侧开设有滑槽(4),滑槽(4)内滑动连接两个夹板(2),两个夹板(2)之间滑动连接有滑杆(6),滑杆(6)的两端固定有限位块(5),且滑杆(6)上套设有弹簧(9),夹板(2)的内侧右端固定有缓冲垫(7),夹板(2)的内侧左端开设有凹口,凹口外侧开设有固定槽(101),固定槽(101)的固定有固定杆(10);

所述限位座(1)的上端竖直贯穿有连接轴(16),且连接轴(16)与限位座(1)转动连接,连接轴(16)的上端固定有缠绕盘(15),缠绕盘(15)上固定有连接绳(3),连接绳(3)的末端固定在固定杆(10)上,缠绕盘(15)的上端固定有限位盘(11),缠绕盘(15)内安装有发条片(14),连接轴(16)的下端固定有齿环(17),齿环(17)的下端固定有转动旋钮(19),限位座(1)的下端在齿环(17)的左方固定有连接杆(20),连接杆(20)上安装有复位杆(21)。

2.根据权利要求1所述的一种化妆刷用清洗夹具,其特征在于,所述复位杆(21)上设置有复位槽(2101),复位槽(2101)内安装有复位弹簧,复位杆(21)通过复位弹簧与连接杆(20)连接。

3.根据权利要求1所述的一种化妆刷用清洗夹具,其特征在于,所述夹板(2)的下端固定有滑块(22),限位座(1)通过滑块(22)与夹板(2)滑动连接。

4.根据权利要求1所述的一种化妆刷用清洗夹具,其特征在于,所述限位座(1)的左端固定有固定块(13),固定块(13)上开设有连接孔(12)。

5.根据权利要求1所述的一种化妆刷用清洗夹具,其特征在于,所述复位杆(21)的左端为扁状的异形结构。

6.根据权利要求1所述的一种化妆刷用清洗夹具,其特征在于,所述夹板(2)之间固定有伸缩隔膜(8),且伸缩隔膜(8)在滑杆(6)的右侧。

我要求购
我不想找了,帮我找吧
您有专利需要变现?
我要出售
智能匹配需求,快速出售