欢迎来到知嘟嘟! 联系电话:13336804447 卖家免费入驻,海量在线求购! 卖家免费入驻,海量在线求购!
知嘟嘟
我要发布
联系电话:13336804447
知嘟嘟经纪人
收藏
专利号: 201921345762X
申请人: 海南青农创业园管理有限公司
专利类型:实用新型
专利状态:已下证
专利领域: 其他类不包含的食品或食料;及其处理
更新日期:2025-04-01
缴费截止日期: 暂无
价格&联系人
年费信息
委托购买

摘要:

权利要求书:

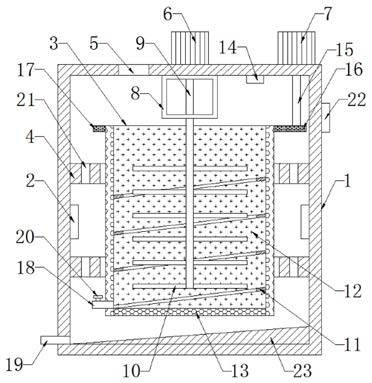
1.一种荔枝龙眼旋转式干燥炉,包括炉体(1),其特征在于,所述炉体(1)内壁两侧的中部分别固定设有两个电热板(2),所述炉体(1)的内部设有筒体(3),所述炉体(1)内壁的顶部和底部分别固定设有两个环形固定块(4),两个所述环形固定块(4)的内壁均通过回转支承分别与筒体(3)外侧的顶部和底部转动连接,所述炉体(1)顶端的一侧开设有加料口(5),所述炉体(1)顶端的中部和另一侧分别固定安装有运转方向相同的第一电机(6)和第二电机(7),所述炉体(1)内壁顶端的中部固定设有矩形框(8),所述矩形框(8)的底端与第一转轴(9)的顶部转动穿插连接,所述第一转轴(9)的顶端与第一电机(6)的输出轴固定连接,所述第一转轴(9)置于筒体(3)的内部,所述第一转轴(9)两侧的底部固定设有若干个搅拌叶(10),所述炉体(1)的内部转动安装有第二转轴(15),所述第二转轴(15)的顶端与第二电机(7)的输出轴固定连接,所述第二转轴(15)的底端固定设有第一齿轮(16),所述筒体(3)外侧的顶端固定设有第二齿轮(17),所述第二齿轮(17)与第一齿轮(16)啮合,所述筒体(3)的内壁固定设有螺旋状的倒料板(11)。

2.根据权利要求1所述的一种荔枝龙眼旋转式干燥炉,其特征在于:所述筒体(3)一侧的底端和炉体(1)一侧的底端分别穿插连接有第一排料管(18)和第二排料管(19),所述第一排料管(18)上固定安装有电磁阀(20),所述炉体(1)内壁的底端固定设有斜块(23)。

3.根据权利要求1所述的一种荔枝龙眼旋转式干燥炉,其特征在于:所述筒体(3)的筒壁均匀开设有若干个通气孔(12),所述筒体(3)的底端固定设有筛网(13)。

4.根据权利要求1所述的一种荔枝龙眼旋转式干燥炉,其特征在于:两个所述环形固定块(4)的中部均开设有若干个通风口(21)。

5.根据权利要求2所述的一种荔枝龙眼旋转式干燥炉,其特征在于:所述炉体(1)一侧的顶部固定设有开关面板(22),所述开关面板(22)的表面分别安装有电热板控制开关、第一电机控制开关、第二电机控制开关和电磁阀控制开关,所述炉体(1)内部顶端的另一侧固定设有温控开关(14),两个所述电热板(2)均通过串联的温控开关(14)和电热板控制开关与外接电源电性连接,所述第一电机(6)、第二电机(7)和电磁阀(20)分别通过第一电机控制开关、第二电机控制开关和电磁阀控制开关与外接电源电性连接。