欢迎来到知嘟嘟! 联系电话:13336804447 卖家免费入驻,海量在线求购! 卖家免费入驻,海量在线求购!
知嘟嘟
我要发布
联系电话:13336804447
知嘟嘟经纪人
收藏
专利号: 2019208734548
申请人: 南京旭智互动展示科技有限责任公司
专利类型:实用新型
专利状态:已下证
专利领域: 家具;家庭用的物品或设备;咖啡磨;香料磨;一般吸尘器
更新日期:2024-05-23
缴费截止日期: 暂无
价格&联系人
年费信息
委托购买

摘要:

权利要求书:

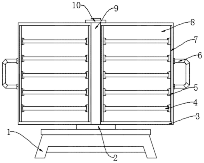
1.一种展厅用旋转展示设备,包括底座(1),其特征在于:所述底座(1)的上表面设置有连接盘(2),所述连接盘(2)的上表面设置有转轴(9),所述转轴(9)的外壁上设置有展示框架(3),所述展示框架(3)设置有三个,且三个展示框架(3)均与转轴(9)的外壁焊接连接,所述展示框架(3)的上表面设置有限位顶板(10),且限位顶板(10)与转轴(9)为一体结构,所述展示框架(3)的前端面上设置有透明护板(8)。

2.根据权利要求1所述的一种展厅用旋转展示设备,其特征在于:所述展示框架(3)的两侧内壁上均设置有固定夹板(5),所述固定夹板(5)之间设置有承载板(4),且承载板(4)通过固定夹板(5)与展示框架(3)的内部固定连接。

3.根据权利要求1所述的一种展厅用旋转展示设备,其特征在于:所述连接盘(2)的内部设置有轴承(11),所述轴承(11)的内部设置有插接孔(12),且轴承(11)通过插接孔(12)与转轴(9)转动连接。

4.根据权利要求1所述的一种展厅用旋转展示设备,其特征在于:所述透明护板(8)的两侧均设置有定位板(7),且两个定位板(7)均与展示框架(3)的前端面固定连接,所述定位板(7)的内部设置有固定夹槽(13),且固定夹槽(13)与定位板(7)为一体结构。

5.根据权利要求4所述的一种展厅用旋转展示设备,其特征在于:所述透明护板(8)的两侧外壁上均设置有连接板(15),所述连接板(15)的一侧设置有磁吸板(14),且磁吸板(14)通过连接板(15)与透明护板(8)的外壁固定连接,所述透明护板(8)通过磁吸板(14)与定位板(7)内部的固定夹槽(13)磁力固定连接。

6.根据权利要求1所述的一种展厅用旋转展示设备,其特征在于:所述展示框架(3)的一侧外壁上设置有把手(6),且把手(6)通过螺栓与展示框架(3)的外壁固定连接。