欢迎来到知嘟嘟! 联系电话:13336804447 卖家免费入驻,海量在线求购! 卖家免费入驻,海量在线求购!
知嘟嘟
我要发布
联系电话:13336804447
知嘟嘟经纪人
收藏
专利号: 2019208184923
申请人: 浙江理工大学
专利类型:实用新型
专利状态:已下证
专利领域: 破碎、磨粉或粉碎;谷物碾磨的预处理
更新日期:2023-08-24
缴费截止日期: 暂无
价格&联系人
年费信息
委托购买

摘要:

权利要求书:

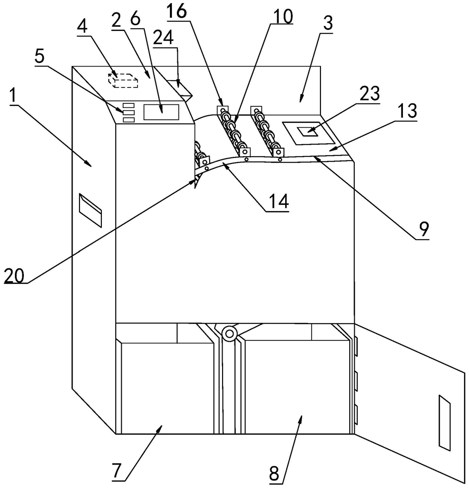
1.一种可将废纸中无墨部分分离的碎纸机,其特征在于:包括机箱、所述机箱顶部两侧对应设有控制部和入纸部;所述控制部内置有相互电连接的电源和控制器装置,所述控制部外侧设有分别与所述控制器装置电连接的控制按钮和显示屏;所述入纸部设置有分别与所述控制器装置电连接的过纸装置、吸纸装置、碎纸装置、光感装置和感光组件;所述过纸装置用于废纸的放入,所述吸纸装置安装在所述过纸装置上,所述碎纸装置和所述感光组件均设置在所述过纸装置的尽头,用于所述光感装置识别放在所述过纸装置上的废纸后通过所述控制器装置启动所述吸纸装置将所述废纸逐张传送至所述碎纸装置处,所述感光组件通过对传送至所述碎纸装置处的所述废纸的有墨部分和无墨部分的位置进行识别并将识别结果传送至控制器装置;所述控制器装置通过识别结果启动所述碎纸装置所述废纸的有墨部分和无墨部分依次进行切割;所述机箱底部位于所述碎纸装置的下方设有可将切割后的有墨碎纸和无墨碎纸进行分别收纳的分类回收箱。

2.根据权利要求1所述的一种可将废纸中无墨部分分离的碎纸机,其特征在于:所述过纸装置包括过纸平板,所述过纸平板的一端固定在所述入纸部的对应一侧,所述过纸平板另一端朝所述控制部下方逐渐向下延伸形成一弧形曲板结构,所述弧形曲板的底部一端反向水平延伸形成一个水平托板。

3.根据权利要求1所述的一种可将废纸中无墨部分分离的碎纸机,其特征在于:所述分类回收箱包括有墨碎纸回收箱和无墨碎纸回收箱,所述有墨碎纸回收箱和所述无墨碎纸回收箱之间设有竖板,所述竖板顶部设有转轴、分隔板和分隔电机,所述隔板底部与所述竖板顶部之间通过所述转轴相互铰接固定,所述分隔电机的输出轴与所述转轴同轴连接,用于控制器装置启动所述分隔电机驱动所述隔板的顶部沿所述转轴的轴心转动至所述有墨碎纸回收箱的上方或所述无墨碎纸回收箱的上方。