欢迎来到知嘟嘟! 联系电话:13095918853 卖家免费入驻,海量在线求购! 卖家免费入驻,海量在线求购!
知嘟嘟
我要发布
联系电话:13095918853
知嘟嘟经纪人
收藏
专利号: 201920576232X
申请人: 青岛科技大学
专利类型:实用新型
专利状态:已下证
专利领域: 测量;测试
更新日期:2023-09-07
缴费截止日期: 暂无
价格&联系人
年费信息
委托购买

摘要:

权利要求书:

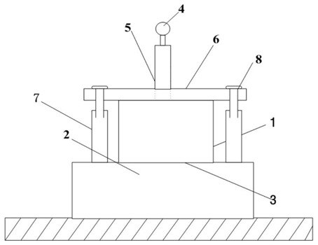
1.一种便于操作的空间电荷测量装置,其特征在于,包括上电极和下电极,待测试品位于上电极和下电极之间;

所述上电极上设有高压加载端,用于对上电极加载高压电;

所述上电极上表面设置有压件,所述下电极上设置有固定支架,所述压件和所述固定支架之间通过固定件固定在一起。

2.根据权利要求1所述的空间电荷测量装置,其特征在于,所述上电极和所述高压加载端之间还设置绝缘护套。

3.根据权利要求1所述的空间电荷测量装置,其特征在于,所述固定件为螺栓,压件和固定支架上分别开设对应的螺纹孔。

4.根据权利要求1-3任一项所述的空间电荷测量装置,其特征在于,所述压件和上电极为一体结构,所述下电极上设置升降装置,所述升降装置位于压件的下方,可以将压件顶起来。

5.根据权利要求4所述的空间电荷测量装置,其特征在于,所述压件和上电极粘合为一体。

6.根据权利要求1-3任一项所述的空间电荷测量装置,其特征在于,所述上电极的侧面或者上表面设置有两个提手。

7.根据权利要求6所述的空间电荷测量装置,其特征在于,所述两个提手同时位于上电极的侧面,或者,所述两个提手同时位于上电极的上表面。

8.根据权利要求1-3任一项所述的空间电荷测量装置,其特征在于,所述上电极的上表面或者侧面设置有一个提手,所述上电极和下电极之间设置有铰接件。

9.根据权利要求8所述的空间电荷测量装置,其特征在于,所述铰接件为合页。

10.根据权利要求6所述的空间电荷测量装置,其特征在于,所述提手为半弧形提手。

11.根据权利要求8所述的空间电荷测量装置,其特征在于,所述提手为半弧形提手。