欢迎来到知嘟嘟! 联系电话:13095918853 卖家免费入驻,海量在线求购! 卖家免费入驻,海量在线求购!
知嘟嘟
我要发布
联系电话:13095918853
知嘟嘟经纪人
收藏
专利号: 201721162252X
申请人: 青岛科技大学
专利类型:实用新型
专利状态:已下证
专利领域: 测量;测试
更新日期:2023-09-07
缴费截止日期: 暂无
价格&联系人
年费信息
委托购买

摘要:

权利要求书:

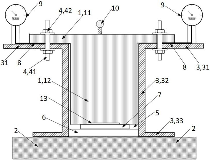
1.一种用于空间电荷测量的压力控制装置,其特征在于,包括:上电极部(1)、下电极部(2)和固定支架(3),所述上电极部(1)包括电极支撑部(11)和电极本体(12),所述电极支撑部(11)位于电极本体(12)的上方,所述电极本体(12)的底部设置高压电极(13);

所述下电极部(2)为与上电极部(1)相匹配的电极板,上电极部(1)和下电极部(2)之间形成放置区(5),其作用在于放置试品(6);

所述固定支架(3)包括上支撑体(31),腰部(32)和下支撑体(33);所述上支撑体(31)位于腰部(32)的上方,用于支撑电极支撑部(11);所述腰部(32)内部空心,用于放置电极本体(12);所述下支撑体(33)位于腰部(32)下方,放置于下电极部(2)的上表面,用于支撑整个固定支架(3)。

2.根据权利要求1所述的用于空间电荷测量的压力控制装置,其特征在于,所述电极支撑部(11)和上支撑体(31)之间设置连接件(4);所述连接件(4)包括固定部(41)和移动部(42),通过调节移动部(42)的位置,使得电极支撑部(11)和上支撑体(31)之间的距离减少。

3.根据权利要求2所述的用于空间电荷测量的压力控制装置,其特征在于,设置两个及以上均匀分布的连接件(4)。

4.根据权利要求1-3任一所述的用于空间电荷测量的压力控制装置,其特征在于,所述电极支撑部(11)和上支撑体(31)之间设置压力感应部(8),与压力感应部(8)相连的是压力显示部(9),所述压力感应部(8)感应到的压力通过压力显示部(9)显示出来。

5.根据权利要求1所述的用于空间电荷测量的压力控制装置,其特征在于,所述电极支撑部(11)的截面直径大于所述电极本体(12)的直径。

6.根据权利要求1或5任一所述的用于空间电荷测量的压力控制装置,其特征在于,所述固定支架(3)设置为位于两侧的两个独立的支架,或设置为中空的圆筒体。

7.根据权利要求6所述的用于空间电荷测量的压力控制装置,其特征在于,所述上支撑体(31)的截面宽度大于腰部(32);所述下支撑体(33)的截面宽度大于腰部(32)。

8.根据权利要求2-3任一所述的用于空间电荷测量的压力控制装置,其特征在于,所述固定部(41)为螺杆或螺栓,所述移动部(42)为螺帽;通过移动螺帽在螺杆或螺栓上的位置,控制电极支撑部(11)向下压。

9.根据权利要求1-3任一所述的用于空间电荷测量的压力控制装置,其特征在于,所述高压电极(13)与所述试品(6)之间设置半导电膜(7)。

10.根据权利要求4所述的用于空间电荷测量的压力控制装置,其特征在于,所述压力感应部(8)选择压力感应线或者压力感应器,所述压力显示部(9)选择与压力感应部(8)相匹配的机械压力表或者电脑显示器;所述压力感应部(8)设置多个。