欢迎来到知嘟嘟! 联系电话:13336804447 卖家免费入驻,海量在线求购! 卖家免费入驻,海量在线求购!
知嘟嘟
我要发布
联系电话:13336804447
知嘟嘟经纪人
收藏
专利号: 2019113973609
申请人: 郑州科技学院
专利类型:发明专利
专利状态:已下证
专利领域: 卷扬;提升;牵引
更新日期:2024-01-05
缴费截止日期: 暂无
价格&联系人
年费信息
委托购买

摘要:

权利要求书:

1.电力工程车底盘维修装置,其特征在于,包括底盘支撑装置和滑动连接在底盘支撑装置上的承托装置;

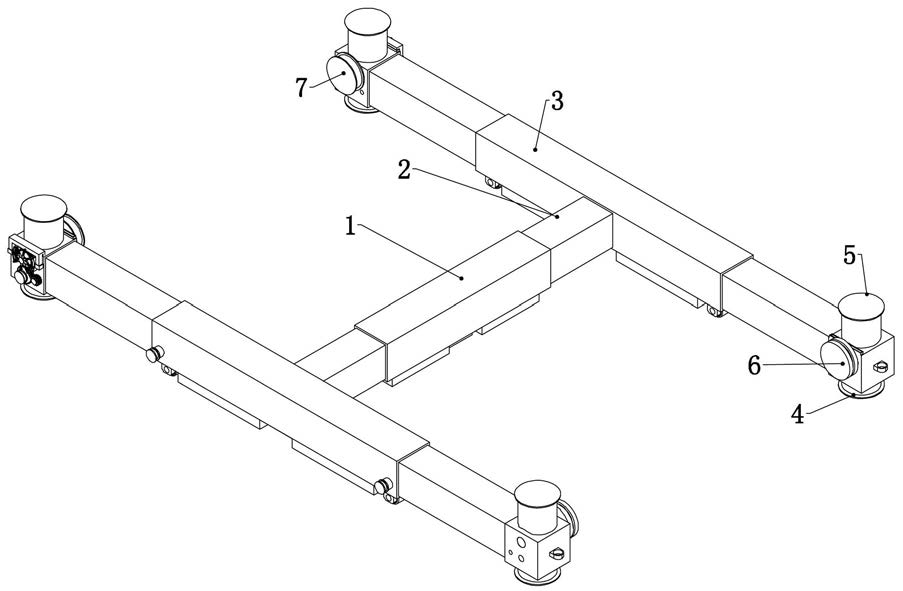
所述的底盘支撑装置包括主横梁(1),所述的主横梁(1)两端均固定连接有液压竖推杆(2),每个所述的液压竖推杆(2)两端均固定连接有液压横推杆(3),每个所述液压横推杆(3)一端的上下方分别固定连接有液压支撑腿(4)和液压起升腿(5),相对的两个液压横推杆(3)一侧固定连接有大线柱(6),另两个液压横推杆(3)一侧均转动连接有承重线轮(7),所述的承重线轮(7)上缠绕有另一端固定连接在大线柱(6)上的钢丝绳;

所述的承重线轮(7)同轴固定连接有承重从动齿轮(8),所述的承重从动齿轮(8)旁设置有固定连接在液压横推杆(3)一端的锁紧装置;

所述的承托装置包括承托架,所述的承托架下端转动连接有可在钢丝绳上行走的承托轮(9)。

2.根据权利要求1所述的电力工程车底盘维修装置,其特征在于,所述的锁紧装置包括转动连接在所述液压横推杆(3)上的锁紧线轮(10),所述的锁紧线轮(10)上缠绕有另一端固定连接在液压横推杆(3)上的绳索,所述的锁紧线轮(10)同轴固定连接有和所述承重从动齿轮(8)啮合的承重驱动大齿轮(11),所述的承重驱动大齿轮(11)旁啮合有转动连接在液压横推杆(3)上的锁紧从动小齿轮(12),所述的锁紧从动小齿轮(12)同轴固定连接有锁紧驱动皮带轮(13),所述的锁紧驱动皮带轮(13)通过皮带和同轴转动连接在承重从动齿轮(8)上的锁紧从动皮带轮(14)相连,所述的锁紧从动皮带轮(14)同轴固定连接有锁紧基础柱(15),所述的锁紧基础柱(15)侧壁均匀的固定连接有若干中空的离心筒(16),每个所述的离心筒(16)内均滑动连接有离心柱(17),每个所述的离心柱(17)和离心筒(16)之间均通过弹簧相连,每个所述的离心柱(17)一端均固定连接有驱动柱(18);

所述的承重从动齿轮(8)旁侧设置有滑动连接在液压横推杆(3)上的弧形齿圈(19),所述的弧形齿圈(19)可和所述的承重从动齿轮(8)啮合,两个所述的弧形齿圈(19)一侧均固定连接有弧形滑轨(20),若干所述的驱动柱(18)滑动连接在弧形滑轨(20)内。

3.根据权利要求2所述的电力工程车底盘维修装置,其特征在于,所述的弧形滑轨(20)一侧固定连接有楔形孔(21),两个相对的所述液压横推杆(3)一侧均上下滑动连接有启动梁(22),两个所述的启动梁(22)下端均固定连接有楔形块(23),所述的楔形块(23)可插入对应的楔形孔(21)内并带动相应的弧形齿圈(19)远离承重从动齿轮(8)运动;

两个所述的启动梁(22)另一端固定连接有启动液压缸(24),两个所述的启动液压缸(24)分别和两个液压横推杆(3)连通。

4.根据权利要求1-3中的任一所述的电力工程车底盘维修装置,其特征在于,所述的承托架包括承托横梁(25),所述的承托横梁(25)两侧均滑动连接有承托侧梁(26),两个承托侧梁(26)两端分别滑动连接有承托前梁(27)和承托后梁(28),两个承托前梁(27)和两个承托后梁(28)一侧均固定连接有导向梁(29),相邻的导向梁(29)外滑动套设有导向套(30)。

5.根据权利要求4所述的电力工程车底盘维修装置,其特征在于,所述的承托横梁(25)内转动连接有横梁双头螺杆(31),所述的横梁双头螺杆(31)两端分别和两个承托侧梁(26)相配合,两个所述的承托侧梁(26)内均转动连接有侧梁双头螺杆(32),两个所述的侧梁双头螺杆(32)分别和相应的承托前梁(27)和承托后梁(28)相配合。

6.根据权利要求5所述的电力工程车底盘维修装置,其特征在于,两个所述的导向套(30)内均转动连接有导向双头螺杆(33),两个所述的导向双头螺杆(33)分别和相应的导向梁(29)相配合;

所述的横梁双头螺杆(31)、两个所述的侧梁双头螺杆(32)、两个所述的导向双头螺杆(33)均为大螺距螺杆。

7.根据权利要求6所述的电力工程车底盘维修装置,其特征在于,两个所述的承托侧梁(26)上均上下滑动连接有压紧梁(34),两个所述的压紧梁(34)两端均固定连接有下端穿过承托侧梁(26)和相应的承托前梁(27)、承托后梁(28)接触的压紧柱(35);

两个承托侧梁(26)上均转动连接有压紧螺杆(36),两个压紧螺杆(36)分别穿过两个压紧梁(34)并和相应的压紧梁(34)螺纹配合。

8.根据权利要求4所述的电力工程车底盘维修装置,其特征在于,所述的承托前梁(27)、承托后梁(28)下端均转动连接有所述的承托轮(9);

所述的承托后梁(28)远离承托前梁(27)一端固定连接有支撑柱(37),两个所述的支撑柱(37)下端转动连接有轮子。

9.根据权利要求1所述的电力工程车底盘维修装置,其特征在于,所述的主横梁(1)下端固定连接有和两个液压竖推杆(2)连通的竖推杆油泵(38),两个液压横推杆(3)下端均固定连接有和相应液压横推杆(3)连通的横推杆油泵(39),所述的液压支撑腿(4)和液压起升腿(5)均通过内管道和相连的横推杆油泵(39)连通且连通处设置有举升电磁阀,所述的横推杆油泵(39)和所述的启动液压缸(24)相连通。

10.根据权利要求9所述的电力工程车底盘维修装置,其特征在于,所述的主横梁(1)下端固定连接有中控模块,所述的中控模块和竖推杆油泵(38)、两个横推杆油泵(39)、四个电磁阀均电连接。