欢迎来到知嘟嘟! 联系电话:13336804447 卖家免费入驻,海量在线求购! 卖家免费入驻,海量在线求购!
知嘟嘟
我要发布
联系电话:13336804447
知嘟嘟经纪人
收藏
专利号: 2019111216869
申请人: 安徽科技学院
专利类型:发明专利
专利状态:已下证
专利领域: 清洁
更新日期:2024-02-28
缴费截止日期: 暂无
价格&联系人
年费信息
委托购买

摘要:

权利要求书:

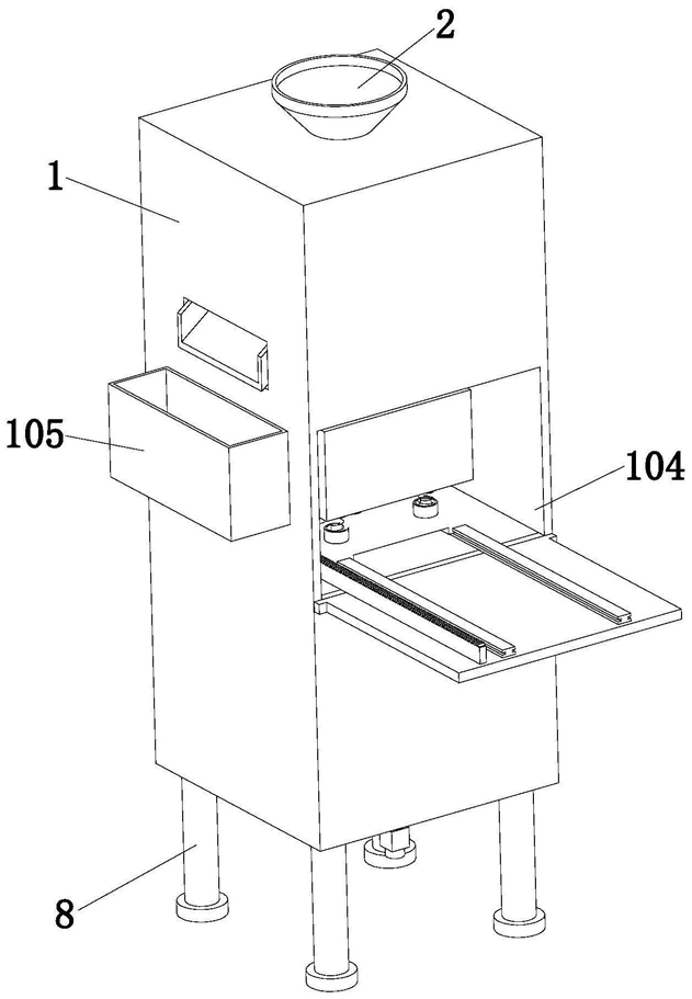
1.一种轴承加工用具有筛选功能的钢珠清洗设备,其特征在于:包括机壳(1)、添加斗(2)、第一筛选组件(3)、第二筛选组件(4)、清洗组件(5)、水箱(6)、两个分隔板(7)和四个支撑腿(8),所述机壳(1)通过四个所述支撑腿(8)安装在地面上,两个所述分隔板(7)安装在所述机壳(1)内,并且两个所述分隔板(7)将所述机壳(1)的内部空间自上而下分为第一容纳腔(101)、第二容纳腔(102)和第三容纳腔(103),所述第二容纳腔(102)靠近所述机壳(1)的侧壁上设有开口(104),所述添加斗(2)焊接在所述机壳(1)的顶部,并且添加斗(2)的底端延伸至所述第一容纳腔(101)内,所述第一筛选组件(3)设置在所述第一容纳腔(101)内,所述第二筛选组件(4)设置在所述第二容纳腔(102)内,所述水箱(6)设置在所述机壳(1)的外侧壁上,所述清洗组件(5)设置在所述第三容纳腔(103)内,并且所述清洗组件(5)与所述水箱(6)相连通;

所述第一筛选组件(3)包括第一筛选箱(301)、第一筛选板(302)、下料斗(303)、挡板(304)、连接板(305)、液压电动推杆(306)、推送板(307)、滑道(308)和两个多级电动推杆(309),所述第一筛选箱(301)设置在所述第一容纳腔(101)的内部底端,所述第一筛选板(302)设置在所述第一筛选箱(301)内,并且所述第一筛选板(302)上设有若干个第一筛选孔(3021),所述下料斗(303)焊接在所述第一筛选箱(301)的内部底端,并且所述下料斗(303)位于所述第一筛选板(302)的下方,所述下料斗(303)的底端延伸至所述第二容纳腔(102)内,所述第一筛选箱(301)的侧壁上设有矩形槽,所述挡板(304)能够滑动安装在所述第一筛选箱(301)的侧壁内,所述液压电动推杆(306)呈竖直设置在所述第一筛选箱(301)的旁侧,所述连接板(305)的两端分别与所述液压电动推杆(306)的输出端和所述挡板(304)的顶端固定连接,所述滑道(308)安装在所述第一筛选箱(301)的外侧壁上,并且所述滑道(308)的底端延伸至所述机壳(1)的外部,两个所述多级电动推杆(309)呈对称设置在所述第一筛选箱(301)的外侧壁上,并且两个所述多级电动推杆(309)的输出端均延伸至所述第一筛选箱(301)内,所述推送板(307)与两个所述多级电动推杆(309)的输出端固定连接,并且所述推送板(307)的底部与所述第一筛选板(302)的顶部抵触;

所述第二筛选组件(4)包括承载板(401)、移动板(402)、第二筛选箱(403)、第二筛选板(404)、下料管(405)、转动电机(406)、齿轮(407)、齿条(408)、两个导轨(409)、两个振动电机(410)和四个弹簧支撑件(411),所述承载板(401)安装在所述机壳(1)的外侧壁上,并且所述承载板(401)位于所述开口(104)的旁侧,两个所述导轨(409)呈对称设置在位于下方的分隔板(7)和所述承载板(401)上,所述移动板(402)能够滑动安装在两个所述导轨(409)上,四个所述弹簧支撑件(411)呈矩形分布在所述移动板(402)的顶部,所述第二筛选箱(403)与四个所述弹簧支撑件(411)的顶部固定连接,所述第二筛选板(404)设置在所述第二筛选箱(403)内,并且所述第二筛选板(404)上设有若干个第二筛选孔(4041),若干个所述第二筛选孔(4041)的直径小于若干个所述第一筛选孔(3021)的直径,所述移动板(402)上设有第一圆槽(412),位于下方的分隔板(7)上设有第二圆槽(701),所述下料管(405)设置在所述第二筛选箱(403)的底部,并且所述下料管(405)的底端穿过所述第一圆槽(412)后延伸至所述第二圆槽(701)的上方,所述转动电机(406)呈水平设置在所述移动板(402)上,所述齿条(408)设置在其中一个所述导轨(409)的旁侧,所述齿轮(407)与所述转动电机(406)的输出轴固定连接,并且所述齿轮(407)与所述齿条(408)啮合,两个所述振动电机(410)呈对称设置在所述第二筛选箱(403)的外侧壁上;

所述清洗组件(5)包括清洗罐(501)、落料管(502)、搅拌电机(503)、搅拌轴(504)、水泵(505)、第一输送管(506)、第二输送管(507)、排水管(508)、第一电磁阀(509)、排料管(510)、第二电磁阀(511)和若干个搅拌叶片(512),所述清洗罐(501)设置在所述第三容纳腔(103)的内部底端,所述落料管(502)设置在所述清洗罐(501)的顶端,并且所述落料管(502)位于所述第二圆槽(701)的下方,所述搅拌轴(504)能够转动安装在所述清洗罐(501)内,所述搅拌电机(503)呈竖直设置在所述机壳(1)的底部,并且所述搅拌电机(503)的输出轴延伸至与所述搅拌轴(504)固定连接,若干个所述搅拌叶片(512)呈等间距设置在所述搅拌轴(504)上,每个所述搅拌叶片(512)上均设有若干个方槽,所述水泵(505)设置在所述清洗罐(501)的旁侧,所述第一输送管(506)的两端分别与所述水泵(505)的输入端和所述水箱(6)的内部底端相连通,所述第二输送管(507)的两端分别与所述水泵(505)的输出端和所述清洗罐(501)的内部顶端相连通,所述排水管(508)和所述排料管(510)均设置在所述清洗罐(501)的底部,并且所述排水管(508)和所述排料管(510)的底端均延伸至所述机壳(1)的外部,所述第一电磁阀(509)安装在所述排水管(508)上,所述排水管(508)内设有过滤膜(513),所述第二电磁阀(511)安装在所述排料管(510)上;

在使用时,通过人工将成型后的钢珠投入添加斗(2)内,然后钢珠经过添加斗(2)落至第一筛选箱(301)内,第一筛选板(302)上的若干个第一筛选孔(3021)对钢珠进行初步筛选,初步筛选后满足形状大小的钢珠落至下料斗(303)内,初步筛选后不满足形状大小的钢珠被阻挡在第一筛选板(302)上,当一定时间后,第一筛选板(302)上的不满足形状大小的钢珠过多时,液压电动推杆(306)工作带动连接板(305)向上移动,连接板(305)带动挡板(304)同步向上移动,挡板(304)向上移动至与矩形槽分离,然后液压电动推杆(306)停止工作,随后两个多级电动推杆(309)工作带动推送板(307)在第一筛选板(302)上移动,推送板(307)移动将第一筛选板(302)上的不满足形状大小的钢珠推送至滑道(308)内;下料斗(303)内的钢珠落至第二筛选箱(403)内时,两个振动电机(410)工作带动第二筛选箱(403)振动,第二筛选板(404)同步振动对钢珠进行二次筛选,二次筛选后形状大小合格的钢珠经过若干个第二筛选孔(4041)落至下料管(405)内;二次筛选后形状大小不合格的钢珠被阻挡在第二筛选板(404)上,当一定时间后,第二筛选板(404)上形状大小不合格的钢珠过多时,转动电机(406)工作带动齿轮(407)转动,齿轮(407)带动移动板(402)在两个导轨(409)上移动,移动板(402)带动第二筛选箱(403)同步移动,第二筛选箱(403)经过开口(104)移动出机壳(1)外,方便人工对第二筛选板(404)上形状大小不合格的钢珠进行清除;下料管(405)内的形状大小合格的钢珠经过了落料管(502)落至清洗罐(501)内后,水泵(505)工作抽取水箱(6)中的水经过第一输送管(506)和第二输送管(507)流至清洗罐(501)内,然后搅拌电机(503)工作带动搅拌轴(504)转动,搅拌轴(504)带动若干个搅拌叶片(512)同步转动,若干个搅拌叶片(512)转动对泡在水中的合格钢珠进行清洗,当搅拌清洗至一定时间后,搅拌电机(503)停止工作,然后第一电磁阀(509)打开,清洗罐(501)内的污水经过排水管(508)排出,最后第二电磁阀(511)打开,清洗罐内清洗干净合格的钢珠经过排料管(510)排出,实现自动对钢珠进行筛选和清洗。

2.根据权利要求1所述的一种轴承加工用具有筛选功能的钢珠清洗设备,其特征在于:

所述机壳(1)的外侧壁上设有收纳箱(105),所述收纳箱(105)位于所述滑道(308)的下方。

3.根据权利要求1所述的一种轴承加工用具有筛选功能的钢珠清洗设备,其特征在于:

每个所述弹簧支撑件(411)均包括上安装座(4111)、下安装座(4112)、限位柱(4113)和支撑弹簧(4114),所述上安装座(4111)与所述第二筛选箱(403)的底部固定连接,所述下安装座(4112)与所述移动板(402)的顶部固定连接,所述限位柱(4113)设置在所述下安装座(4112)内,所述支撑弹簧(4114)套设在所述限位柱(4113)上,并且所述支撑弹簧(4114)的两端分别与所述上安装座(4111)和所述下安装座(4112)固定连接。