欢迎来到知嘟嘟! 联系电话:13095918853 卖家免费入驻,海量在线求购! 卖家免费入驻,海量在线求购!
知嘟嘟
我要发布
联系电话:13095918853
知嘟嘟经纪人
收藏
专利号: 2020100160059
申请人: 浙江辛巴达机器人科技有限公司
专利类型:发明专利
专利状态:已下证
专利领域: 将固体从固体中分离;分选
更新日期:2024-05-30
缴费截止日期: 暂无
价格&联系人
年费信息
委托购买

摘要:

权利要求书:

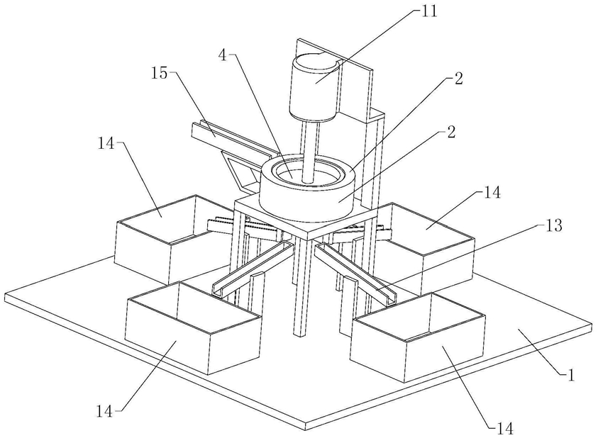
1.一种轴承钢珠用不间断筛选装置,其特征在于:包括底座(1)和中空圆柱体筛选仓(2),筛选仓(2)呈竖直设置在底座(1)的上方,筛选仓(2)的下端通过固定支架与底座(1)固定连接,筛选仓(2)的上端与下端均为敞开结构,筛选仓(2)的内部中端设有隔板(3),筛选仓(2)的内部设有呈水平并且能够在筛选仓(2)内旋转的移料盘(4),移动盘位于隔板(3)的上方,移料盘(4)的外壁设有若干个能够与钢珠接触的拨动槽(5),所有拨动槽(5)沿移料盘(4)的圆周方向均匀分布设置,筛选仓(2)的一侧设有进料轨道(15),筛选仓(2)上设有与进料轨道(15)对应的进料通孔(6),隔板(3)上设有若干个呈竖直设置的下料管(7),每个下料管(7)的上端分别穿过隔板(3)的两面向每个移料盘(4)的拨动槽(5)内部延伸。

2.根据权利要求1所述的一种轴承钢珠用不间断筛选装置,其特征在于:所述移料盘(4)贴合并且能够旋转的设置在隔板(3)的上方,移料盘(4)的底部中心处设有呈竖直设置的导向柱(8),隔板(3)的中心处设有轴承套(9),导向柱(8)的底部能够转动的插设于轴承套(9)的内圈。

3.根据权利要求2所述的一种轴承钢珠用不间断筛选装置,其特征在于:所述每个拨动槽(5)均为弧形结构。

4.根据权利要求3所述的一种轴承钢珠用不间断筛选装置,其特征在于:所述筛选仓(2)的内壁设有用于供钢珠滑动的内槽(10),移料盘(4)上的每个拨动槽(5)分别与内槽(10)对应设置。

5.根据权利要求4所述的一种轴承钢珠用不间断筛选装置,其特征在于:所述筛选仓(2)的上方设有驱动电机(11),驱动电机(11)呈竖直位于筛选仓(2)的正上方,驱动电机(11)的输出端向下设置,驱动电机(11)的输出端设有呈竖直设置的旋转轴(12),旋转轴(12)的底部与移料盘(4)的顶部中心处固定连接,驱动电机(11)通过第一支架与固定支架固定连接。

6.根据权利要求5所述的一种轴承钢珠用不间断筛选装置,其特征在于:所述若干个下料管(7)至少设有四个,所有下料管(7)沿移料盘(4)的轴线均匀分布设置,所有下料管(7)的直径沿顺时钟方向由小到大设置。

7.根据权利要求6所述的一种轴承钢珠用不间断筛选装置,其特征在于:每个所述下料管(7)的下方分别设有倾斜设置的下料轨道(13),每个下料轨道(13)分别通过第二支架与底座(1)的顶部固定连接,每个下料轨道(13)的一端分别设置有收集箱(14),每个收集箱(14)的底部分别与底座(1)的顶部固定连接。

我要求购
我不想找了,帮我找吧
您有专利需要变现?
我要出售
智能匹配需求,快速出售