欢迎来到知嘟嘟! 联系电话:13336804447 卖家免费入驻,海量在线求购! 卖家免费入驻,海量在线求购!
知嘟嘟
我要发布
联系电话:13336804447
知嘟嘟经纪人
收藏
专利号: 2019110823370
申请人: 沈剑峰
专利类型:发明专利
专利状态:已下证
专利领域: 铁路
更新日期:2026-03-03
缴费截止日期: 暂无
价格&联系人
年费信息
委托购买

摘要:

权利要求书:

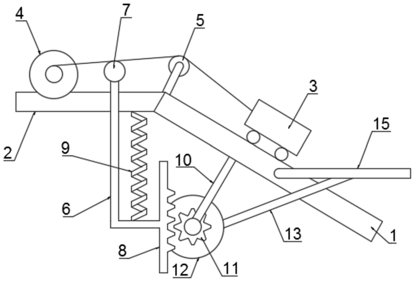
1.一种防坠落矿车轨道,包括轨道(1),其特征在于,所述轨道(1)上滑动有矿车(3),所述轨道(1)的端部固定有安装板(2),所述安装板(2)的上侧壁固定有卷扬机(4),所述卷扬机(4)的驱动端与矿车(3)之间固定连接有钢丝绳,所述安装板(2)靠近轨道(1)的一端上侧壁固定有支杆,所述支杆的上端安装有导线轮一(5),所述安装板(2)上插设有升降板(6),所述升降板(6)的上端安装有导线轮二(7),所述钢丝绳绕过导线轮一(5)和导线轮二(7)设置,所述升降板(6)呈L型板设置,所述升降板(6)的端部固定有竖板(8),所述升降板(6)的端部与安装板(2)的下侧壁之间固定有挤压弹簧(9),所述轨道(1)的下侧壁固定有倾斜设置的连杆(10),所述连杆(10)的端部安装有齿轮(11),所述竖板(8)位于齿轮(11)的一侧且竖板(8)的外壁上设有与齿轮(11)相啮合的锯齿,所述齿轮(11)的外壁上固定有圆盘(12),所述圆盘(12)的外壁上固定有两个固定杆(13),每个所述固定杆(13)的端部均固定有卡柱(14),所述轨道(1)的两侧外壁上均固定有固定板(15),所述轨道(1)的外壁转动连接有位于每个固定板(15)内侧的转板,位于轨道(1)两侧的所述固定板(15)与转板之间固定有伸缩弹簧(16),两个所述卡柱(14)分别插设在其中一个转板与轨道(1)的外壁之间。

2.根据权利要求1所述的一种防坠落矿车轨道,其特征在于,两个所述卡柱(14)均呈锥形设置,所述卡柱(14)的上端为尖端。

3.根据权利要求1所述的一种防坠落矿车轨道,其特征在于,所述连杆(10)的端部固定有轴承,所述轴承内固定插设有转杆,所述齿轮(11)固定在转杆的端部。