欢迎来到知嘟嘟! 联系电话:13336804447 卖家免费入驻,海量在线求购! 卖家免费入驻,海量在线求购!
知嘟嘟
我要发布
联系电话:13336804447
知嘟嘟经纪人
收藏
专利号: 2019109614603
申请人: 杨海飞
专利类型:发明专利
专利状态:已下证
专利领域: 加工水泥、黏土或石料
更新日期:2025-12-17
缴费截止日期: 暂无
价格&联系人
年费信息
委托购买

摘要:

权利要求书:

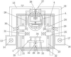
1.一种泥塑打印机,包括安装罩(1),其特征在于,所述安装罩(1)的内顶部固定连接有壳体(2),所述壳体(2)的内顶部固定连接有搅拌仓(3),所述搅拌仓(3)内设有搅拌机构,所述搅拌仓(3)的下侧设有固定连接在壳体(2)内的下料仓(9),所述下料仓(9)内设有下料机构,所述下料仓(9)的下侧连接有打印头(12),所述打印头(12)的下端贯穿壳体(2)底部并向下延伸,所述安装罩(1)的两侧分别固定连接有材料仓(13)和第一水箱(16),所述材料仓(13)内设有输料泵(14),所述输料泵(14)的输出端连接有泥管(15),所述第一水箱(16)内设有第一水泵(17),所述第一水泵(17)的出水端连接有水管(18),所述泥管(15)和水管(18)的下端均依次贯穿安装罩(1)、壳体(2)和搅拌仓(3)的顶部并向下延伸,所述安装罩(1)转动连接有两个对称设置的转杆(23),所述转杆(23)上设有喷水机构和烘干机构,所述安装罩(1)的底部设有与转杆(23)对应的传动机构,所述安装罩(1)的内底部设有置物机构;

所述搅拌机 构包括固定连接在安装罩(1)顶部的搅拌电机(5),所述搅拌电机(5)的驱动端依次贯穿安装罩(1)、壳体(2)和搅拌仓(3)的顶部并固定连接有搅拌轴(6),所述搅拌轴(6)的两侧均固定连接有多个搅拌叶片(7),所述搅拌仓(3)的一侧连接有连接管(8),所述连接管(8)的下端贯穿下料仓(9)的侧壁并向内延伸;

所述下料机构包括固定连接在下料仓(9)顶部的伸缩电机(10),所述伸缩电机(10)的驱动端贯穿下料仓(9)的顶部并固定连接有活塞(11),所述活塞(11)与下料仓(9)内壁滑动密封连接;

所述喷水机构包括开设在转杆(23)上的螺纹,所述转杆(23)上螺纹套接有第一滑座(24),所述第一滑座(24)靠近打印头(12)的一侧通过支管连接有水雾喷嘴(29),所述安装罩(1)的顶部固定连接有第二水箱(26),所述第二水箱(26)内固定连接有两个第二水泵(27)的出水端连接有导管,所述导管的下端贯穿安装罩(1)的顶部并通过波纹管(28)与支管连接并连通,所述安装罩(1)与第一滑座(24)相邻的一侧开设有安装口,所述安装口内转动连接有多个通风板(30),所述第一滑座(24)靠近通风板(30)的一侧开设有活动槽,所述活动槽内固定连接有固定轴,所述通风板(30)上开设有与固定轴对应的活动口;

所述烘干机构包括螺纹套接在转杆(23)上的第二滑座(25),两个所述第二滑座(25)相对的一侧均固定连接有烘干机(31),所述转杆(23)的一侧设有固定连接在安装罩(1)内顶部的限位杆(4),所述限位杆(4)的下端依次贯穿第一滑座(24)和第二滑座(25)并与安装罩(1)内底部固定连接;

所述传动机构包括固定连接在安装罩(1)内底部的伺服电机(19),所述伺服电机(19)的驱动端贯穿安装罩(1)的底部并固定连接有主传动轴,所述主传动轴上套设有主传送轮(20),所述主传送轮(20)的两侧均设有子传送轮(21),所述子传送轮(21)内固定套接有子传动轴,所述子传动轴的上端贯穿安装罩(1)的底部并与转杆(23)下端固定连接,所述主传送轮(20)和子传送轮(21)之间通过传送带(22)连接;

传动机构包括固定连接在安装罩(1)内底部的伺服电机(19),所述伺服电机(19)的驱动端贯穿安装罩(1)的底部并固定连接有主传动轴,所述主传动轴上套设有主传送轮(20),所述主传送轮(20)的两侧均设有子传送轮(21),所述子传送轮(21)内固定套接有子传动轴,所述子传动轴的上端贯穿安装罩(1)的底部并与转杆(23)下端固定连接,所述主传送轮(20)和子传送轮(21)之间通过传送带(22)连接;

所述置物机构包括固定连接在安装罩(1)内底部的置物台(33),所述置物台(33)的下侧固定连接有转动电机(32),所述转动电机(32)的驱动端贯穿置物台(33)并固定连接有置物板(34),所述置物板(34)的下侧固定连接有多个环绕设置的滑杆(35)。

2.根据权利要求1所述的一种泥塑打印机,其特征在于,所述主传送轮(20)和子传送轮(21)呈“品”状环绕设置。

3.根据权利要求1所述的一种泥塑打印机,其特征在于,所述滑杆(35)的下端固定连接有弧形滑块,所述置物台(33)上侧开设有与弧形滑块对应的环形滑槽。