欢迎来到知嘟嘟! 联系电话:13336804447 卖家免费入驻,海量在线求购! 卖家免费入驻,海量在线求购!
知嘟嘟
我要发布
联系电话:13336804447
知嘟嘟经纪人
收藏
专利号: 2019108819998
申请人: 利辛县奥琳娜化妆用具有限公司
专利类型:发明专利
专利状态:无效专利
专利领域: 测量;测试
更新日期:2023-07-26
缴费截止日期: 暂无
价格&联系人
年费信息
委托购买

摘要:

权利要求书:

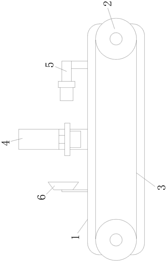
1.一种化妆刷脱毛检测装置,其特征在于,包括

机架,用于承载;

滚动组件,安装在机架上,并提供往复运动的移动路径;

测试带,装设于滚动组件上,并可沿往复运动的移动路径移动;

移动组件,安装在机架上,位于移动路径的上方,用于移动化妆刷;

图像采集组件,装设于机架上,用于采集刷头的图像。

2.根据权利要求1所述的化妆刷脱毛检测装置,其特征在于,所述滚动组件包括第一带轮、第二带轮与滚动电机,所述第一带轮转动装设于机架的一侧,所述第二带轮转动装设于机架的另一侧,所述滚动电机安装在机架上位于第一带轮的一侧,所述滚动电机的输出轴与第一带轮相连接,所述测试带套装于第一带轮与第二带轮的外壁上。

3.根据权利要求2所述的化妆刷脱毛检测装置,其特征在于,所述测试带的表面粘贴有摩擦页。

4.根据权利要求1所述的化妆刷脱毛检测装置,其特征在于,所述移动组件包括移动支架,所述移动支架位于移动路径的上方,所述移动支架上滑动安装有导柱,所述导柱的外壁上设置有第一传动齿,所述移动支架上安装有移动电机,所述移动电机的输出轴上安装有移动齿轮,所述移动齿轮与第一传动齿相啮合,所述导柱的下端安装有用于固定化妆刷的夹头。

5.根据权利要求4所述的化妆刷脱毛检测装置,其特征在于,所述移动组件还包括支撑板,所述支撑板滑动装设于机架上,所述支撑板位于夹头的下方,所述支撑板的下端安装有弹簧,所述弹簧的端部安装在机架上,所述弹簧的弹力推动支撑板朝向夹头的一侧移动,所述支撑板的上端安装有压力传感器,其用于检测毛刷对于测试带的压力。

6.根据权利要求1所述的化妆刷脱毛检测装置,其特征在于,所述图像采集组件包括摄像头,所述摄像头安装在机架的上端。

7.根据权利要求6所述的化妆刷脱毛检测装置,其特征在于,所述图像采集组件还包括有光源。