欢迎来到知嘟嘟! 联系电话:13336804447 卖家免费入驻,海量在线求购! 卖家免费入驻,海量在线求购!
知嘟嘟
我要发布
联系电话:13336804447
知嘟嘟经纪人
收藏
专利号: 2018100580908
申请人: 台州云造智能科技有限公司
专利类型:发明专利
专利状态:已下证
专利领域: 刷类制品
更新日期:2024-02-23
缴费截止日期: 暂无
价格&联系人
年费信息
委托购买

摘要:

权利要求书:

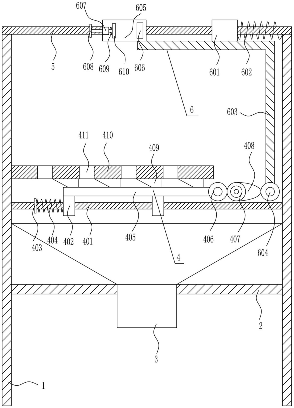
1.一种化妆刷刷毛修剪设备,其特征在于,包括有支腿(1)、第一连接杆(2)、漏斗(3)、切割机构(4)、第二连接杆(5)和移动固定机构(6),左右侧支腿(1)之间的底部连接有第一连接杆(2),第一连接杆(2)上设有漏斗(3),左右侧支腿(1)之间的中部安装有切割机构(4),左右侧支腿(1)的顶部设有第二连接杆(5),第二连接杆(5)上安装有移动固定机构(6)。

2.根据权利要求1所述的一种化妆刷刷毛修剪设备,其特征在于,切割机构(4)包括有第一滑杆(401)、第一滑套(402)、第一弹簧座(403)、第一复位弹簧(404)、第一连接板(405)、第一接触轮(406)、电机(407)、凸轮(408)、切刀(409)和定位板(410),左右侧支腿(1)之间的中部连接有第一滑杆(401),第一滑杆(401)上设有第一滑套(402),第一滑杆(401)的左侧设有第一弹簧座(403),第一弹簧座(403)与第一滑套(402)之间连接有第一复位弹簧(404),第一滑杆(401)穿过第一复位弹簧(404),第一滑套(402)上设有第一连接板(405),第一连接板(405)的右端设有第一接触轮(406),第一滑杆(401)顶部的右侧安装有电机(407),电机(407)的输出轴上连接有与第一接触轮(406)配合的凸轮(408),第一连接板(405)的顶部设有切刀(409),左侧支腿(1)的右侧中部水平连接有定位板(410),定位板(410)上开有与切刀(409)配合的通孔(411)。

3.根据权利要求2所述的一种化妆刷刷毛修剪设备,其特征在于,移动固定机构(6)包括有第二滑套(601)、第二复位弹簧(602)、L型杆(603)、第二接触轮(604)、第三滑套(605)、第一压块(606)、螺母(607)、螺栓(608)、轴承座(609)和第二压块(610),第二连接杆(5)的右侧设有可在其上滑动的第二滑套(601),第二滑套(601)与右侧支腿(1)之间连接有第二复位弹簧(602),第二连接杆(5)穿过第二复位弹簧(602),第二滑套(601)的底部连接有L型杆(603),L型杆(603)的底部设有与凸轮(408)配合的第二接触轮(604),L型杆(603)的左端设有第三滑套(605),第三滑套(605)可在第二连接杆(5)上滑动,第三滑套(605)前侧的右方设有第一压块(606),第三滑套(605)前侧的左方设有螺母(607),螺母(607)内设有与之配合的螺栓(608),螺栓(608)的右侧安装有轴承座(609),轴承座(609)的右侧设有与第一压块(606)配合的第二压块(610)。

4.根据权利要求3所述的一种化妆刷刷毛修剪设备,其特征在于,还包括有夹持机构(7),夹持机构(7)包括有支杆(71)、第四滑套(72)、第三滑杆(73)、夹持板(74)、第三复位弹簧(75)和拉块(76),漏斗(3)的左右两侧对称设有支杆(71),支杆(71)连接在第一连接杆(2)上,支杆(71)的底部设有第四滑套(72),第四滑套(72)内设有第三滑杆(73),第三滑杆(73)靠近漏斗(3)出料位置的一端设有夹持板(74),第三滑杆(73)的另一端设有拉块(76),夹持板(74)与第四滑套(72)之间连接有第三复位弹簧(75),第三滑杆(73)穿过第三复位弹簧(75)。

5.根据权利要求4所述的一种化妆刷刷毛修剪设备,其特征在于,还包括有滑轮(8)和拉线(9),左侧支杆(71)上设有滑轮(8),滑轮(8)上绕有拉线(9),拉线(9)的一端连接在左侧的夹持板(74)上,拉线(9)的另一端连接在右侧的拉块(76)上。

6.根据权利要求5所述的一种化妆刷刷毛修剪设备,其特征在于,还包括有保护筒(10)和三角块(11),第一滑套(402)的左侧设有保护筒(10),保护筒(10)套在第一弹簧座(403)上,第一弹簧座(403)左侧的顶部和底部均设有三角块(11)。