欢迎来到知嘟嘟! 联系电话:13336804447 卖家免费入驻,海量在线求购! 卖家免费入驻,海量在线求购!
知嘟嘟
我要发布
联系电话:13336804447
知嘟嘟经纪人
收藏
专利号: 2019108755426
申请人: 燕山大学
专利类型:发明专利
专利状态:已下证
专利领域: 飞行器;航空;宇宙航行
更新日期:2025-07-02
缴费截止日期: 暂无
价格&联系人
年费信息
委托购买

摘要:

权利要求书:

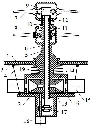
1.直升机共轴正反旋翼并联驱动装置,其特征在于:包括机座、动台、三个用于驱动旋翼机构摆动的驱动杆、旋翼机构、用于驱动旋翼机构倾转的倾翼机构、弹簧;所述机座是圆盘形状,所述机座上设有中心球面通孔和三个下表面圆周均布的径向直线导轨;所述动台是回转体,其上端、上部、中部、下部和下端分别设有同轴球面体、圆柱套、大圆柱空腔、圆盘、小圆柱空腔,其大圆柱空腔设有三个圆周均布的径向通孔,其圆盘上设有三个圆周均布的铰支座,从球面体到大圆柱空腔设有第一同轴通孔,从大圆柱空腔到小圆柱空腔设有第二同轴通孔和偏心通孔;所述动台的球面体与机座的球面通孔球副联接;

所述驱动杆包括移动驱动器和连杆;所述移动驱动器与所述机座固连,所述移动驱动器的伸缩块与所述机座的径向直线导轨移动副联接,又与所述连杆一端球副联接;所述连杆另一端与所述动台的铰支座球副联接;

所述旋翼机构还包括内套、外套、正伞齿轮、反伞齿轮,三个相同的锥齿轮驱动组;所述内套上端设有同轴的圆柱形第一箱体,所述第一箱体的侧壁设有四个圆周均布的相切圆周的开孔,所述第一箱体的底面设有同轴通孔和四个圆周均布的轴向通孔;所述外套上端设有同轴的圆柱形第二箱体,所述第二箱体的侧壁设有四个圆周均布的相切圆周的开孔,所述第二箱体的顶面设有同轴开孔,所述外套外圆与动台的第一同轴通孔转动副联接,所述内套外圆与所述动台的第二同轴通孔转动副联接;所述内套的外圆与外套的内孔转动副联接;

所述正旋翼组包括四个正旋翼,所述反旋翼组包括四个反旋翼;所述正旋翼和反旋翼一端设有同轴齿轮和轴,另一端设有倾斜桨叶;

所述内套上端的第一箱体的圆周切向开孔与正旋翼的轴转动副联接,所述内套下端与正伞齿轮同轴固连;所述外套上端第二箱体的圆周切向开孔与反旋翼的轴转动副联接,所述外套下端与所述反伞齿轮同轴固连;

所述锥齿轮驱动组包括电机和锥齿轮,所述电机与动台固连,所述电机的驱动轴穿过动台大圆柱空腔的径向通孔与锥齿轮内孔同轴键连接,所述锥齿轮同时与正伞齿轮、反伞齿轮啮合;

所述倾翼机构包括辅电机、心轴、丝母、拉杆组、圆环、齿轮套;所述心轴上端、中部和下端分别设有同轴凸圆齿轴、光轴和凸圆盘;所述圆环的内孔与内套外圆圆柱副联接,所述圆环的外圆与齿轮套的内孔转动副联接;所述拉杆组穿过所述内套上端第一箱体底面的轴向通孔,所述拉杆组的上端与心轴的凸圆齿轴下端面轴向固连,所述拉杆组的下端与圆环端面轴向固连;所述心轴的凸圆齿轴和齿轮套分别与所述正、反旋翼的齿轮啮合;所述丝母轴向设有中心通孔和偏心螺纹通孔,中心通孔与心轴下端的凸圆盘转动副联接,所述辅电机与动台下端轴向固连,其螺纹驱动轴穿过所述动台下端偏心通孔与丝母的螺纹通孔螺旋联接,所述机座与动台两者之间固定安装弹簧,所述弹簧两端分别抵在机座和动台上。