欢迎来到知嘟嘟! 联系电话:13336804447 卖家免费入驻,海量在线求购! 卖家免费入驻,海量在线求购!
知嘟嘟
我要发布
联系电话:13336804447
知嘟嘟经纪人
收藏
专利号: 2019108075598
申请人: 杭州电子科技大学温州研究院有限公司
专利类型:发明专利
专利状态:已下证
专利领域: 基本电气元件
更新日期:2023-08-24
缴费截止日期: 暂无
价格&联系人
年费信息
委托购买

摘要:

权利要求书:

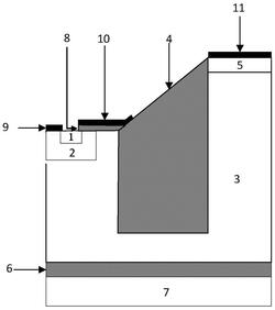
1.一种具有梯形氧化槽的绝缘层上硅LDMOS晶体管,包括衬底层、全埋氧层、硅膜层和器件顶层;衬底层设置在最底部,掺杂类型为P型,掺杂材料为硅材料;衬底层上面为全埋氧层,全埋氧层采用二氧化硅,全埋氧层上面为硅膜层;其特征在于:所述的硅膜层包括源区、硅体、漂移区、梯形氧化槽和漏区;所述的漂移区设置在全埋氧层上方;硅体和漏区分设在漂移区两侧,硅体呈凹形,所述的源区设置在硅体的凹形区域内;硅体的底面以及朝内的那个外侧面均与漂移区外侧贴合设置;漏区的底面与漂移区顶面重合;所述的梯形氧化槽设置在漂移区的凹槽内;梯形氧化槽靠近硅体的侧面与漂移区靠近硅体的内侧面对齐;梯形氧化槽远离硅体的侧面与漂移区远离硅体的内侧面以及漏区朝内的侧面均对齐,且梯形氧化槽远离硅体的侧面最高点与漏区的最高点等高;梯形氧化槽的底面与漂移区的凹槽底面重合;梯形氧化槽的顶面为斜面,且斜面靠近硅体的一侧较低;源区顶面与硅体顶面、梯形氧化槽靠近硅体的侧面最高点以及漂移区靠近硅体一侧的顶面对齐设置;梯形氧化槽采用二氧化硅材料,源区、硅体、漂移区和漏区均为硅材料;源区和漂移区之间的硅体形成器件沟道;硅体掺杂类型为P型;源区、漂移区和漏区的掺杂类型均为N型;所述的器件顶层包括栅氧化层、源电极、栅电极和漏电极;所述的栅氧化层位于器件沟道上方,并延伸到与梯形氧化槽上表面贴合;栅氧化层采用二氧化硅材料;所述的栅电极完全覆盖栅氧化层,并且栅电极延伸到与梯形氧化槽上表面贴合;所述的源电极位于源区上方,且与栅氧化层之间设有间距;所述的漏电极位于漏区上方。

2.根据权利要求1所述的一种具有梯形氧化槽的绝缘层上硅LDMOS晶体管,其特征在于:所述的衬底层和源电极都接地。

3.根据权利要求1或2所述的一种具有梯形氧化槽的绝缘层上硅LDMOS晶体管,其特征在于:所述硅体的长度为3μm,厚度为2.5μm,掺杂浓度为1×1017cm-3;衬底层的长度为17μm,掺杂浓度为1×1014cm-3;全埋氧层厚度为0.5μm,全埋氧层不掺杂;硅膜层厚度为25μm;源区的长度为1μm,漏区的长度为3μm,源区和漏区掺杂浓度均为1×1020cm-3;器件沟道长度为1μm;漂移区两个外侧面的间距为17μm;漂移区靠近硅体的上表面与全埋氧层的间距为12μm;

漂移区靠近漏区的上表面与全埋氧层的间距为24.5μm;漂移区的掺杂浓度为1.3×1015cm-3;梯形氧化槽的长度为10μm;梯形氧化槽最薄处的厚度为9μm;梯形氧化槽最厚处的厚度为

22μm;梯形氧化槽与全埋氧层的间距为3μm;梯形氧化槽靠近硅体的侧面到漂移区靠近硅体的外侧面的距离为4μm,梯形氧化槽远离硅体的侧面到漂移区远离硅体的外侧面的距离为3μm,梯形氧化槽不掺杂;源区和漏区的厚度均为0.5μm。

4.根据权利要求1所述的一种具有梯形氧化槽的绝缘层上硅LDMOS晶体管,其特征在于:所述栅氧化层的厚度为0.04μm,栅氧化层的长度为2.2μm;栅氧化层、源电极、栅电极和漏电极均不掺杂。