欢迎来到知嘟嘟! 联系电话:13336804447 卖家免费入驻,海量在线求购! 卖家免费入驻,海量在线求购!
知嘟嘟
我要发布
联系电话:13336804447
知嘟嘟经纪人
收藏
专利号: 2019107583282
申请人: 重庆交通大学
专利类型:发明专利
专利状态:已下证
专利领域: 测量;测试
更新日期:2024-01-05
缴费截止日期: 暂无
价格&联系人
年费信息
委托购买

摘要:

权利要求书:

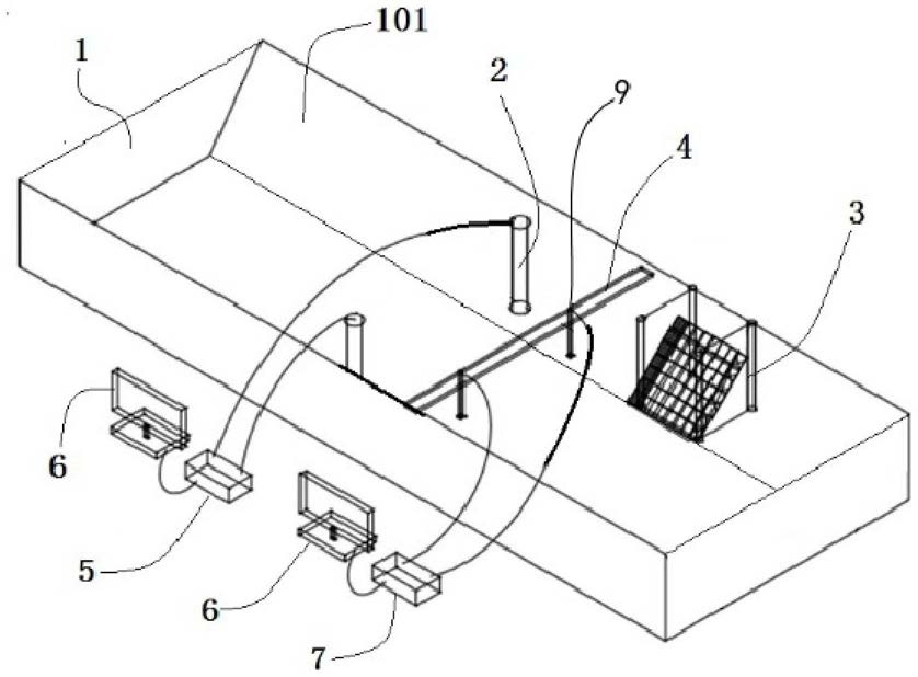
1.滑坡涌浪对桥墩冲击模拟实验装置,其特征在于:包括所述水槽(1)、桥墩(2)、滑槽(3)、侧桥(4)、压力传感器(8)和波高传感器(9);

所述水槽(1)为水平放置的矩形槽,该矩形槽沿其长度方向的两侧壁上均设置有岸坡(101);两个所述岸坡(101)上均固定有桥墩(2),两个桥墩(2)上端点的连线与水槽(1)的长度方向垂直;

每个所述桥墩(2)上均匀设置有若干压力传感器(8),每个压力传感器(8)均通过多功能信号采集仪(5)将采集信息发送至PC终端(6);

一个所述岸坡(101)上设置有滑槽(3),滑槽(3)靠近水槽(1)的端部;

所述水槽(1)内设置有侧桥(4),侧桥(4)位于桥墩(2)与滑槽(3)之间,两个桥墩(2)到侧桥(4)的距离相等,该距离为10cm~20cm;

两个所述桥墩(2)底端与滑槽(3)的滑坡点的连线分别为L1和L2,L1与侧桥(4)交叉处记为A,L2与侧桥(4)交叉处记为B;两个所述波高传感器(9)分别安装在A和B处;

两个所述波高传感器(9)将采集信息发送至UBL-2超声波浪/水位采集分析仪(7),UBL-

2超声波浪/水位采集分析仪(7)将处理后的数据发送至PC终端(6);

每个所述波高传感器(9)的旁边均设置有高速摄像机,高速摄像机正对待拍摄的桥墩(2)。

2.根据权利要求1所述的滑坡涌浪对桥墩冲击模拟实验装置,其特征在于:所述桥墩(2)从墩底至墩顶布置有若干测孔,相邻的两个测孔之间的距离为2cm~5cm;所述测孔在桥墩(2)面向滑槽(3)的一侧,测孔孔径与压力传感器(8)的口径相匹配;若干所述压力传感器(8)安装在若干测孔内。

3.根据权利要求1所述的滑坡涌浪对桥墩冲击模拟实验装置,其特征在于:所述滑槽(3)包括墩柱Ⅰ(301)、墩柱Ⅱ(302)、滑杆(303)和滑板(304),两根墩柱Ⅰ(301)和两根墩柱Ⅱ(302)均竖直固定在岸坡(101)上;两根所述墩柱Ⅰ(301)上端点的连线与水槽(1)的长度方向平行,两根墩柱Ⅱ(302)上端点的连线与水槽(1)的长度方向平行,两根墩柱Ⅰ(301)和两根墩柱Ⅱ(302)的上端点的连线成矩形状;

两根所述墩柱Ⅰ(301)之间滑动连接有滑杆(303),两根墩柱Ⅱ(302)之间滑动连接有滑杆(303);两根所述滑杆(303)之间连接有滑板(304),通过滑动两根滑杆(303)来调节滑板(304)的倾斜度。

4.根据权利要求1所述的滑坡涌浪对桥墩冲击模拟实验装置,其特征在于:每个所述岸坡(101)上设置有若干混凝土平台(1011),若干混凝土平台(1011)沿水槽(1)的长度方向均匀布置;每个所述混凝土平台(1011)上预埋有若干螺钉。

5.根据权利要求1或4所述的滑坡涌浪对桥墩冲击模拟实验装置,其特征在于:每个所述桥墩(2)的底部连接有塑料板,塑料板上设置有若干螺纹孔;所述混凝土平台(1011)上的若干螺钉穿过塑料板上的螺纹孔,每个螺钉旋入螺母。

6.滑坡涌浪对桥墩冲击模拟实验方法,基于权利要求1所述的实验装置,其特征在于:包括以下步骤:

1)完成所述滑坡涌浪对桥墩冲击模拟实验装置的安装;

2)向所述水槽(1)中放入水,将滑块放在倾斜的滑板(304)上;

3)检测各仪器运行状态,确保所有仪器运行正常;

4)开启所述高速摄像机、压力传感器(8)和波高传感器(9);

5)滑块从所述滑板(304)上落入水中,激起涌浪,涌浪在水面上传播并冲击桥墩(2);

6)所述高速摄像机完成视频数据采集,压力传感器(8)完成压力数据采集,波高传感器(9)完成全时段波高采集;

7)放出所述水槽(1)中的水,卸下桥墩(2),换上不同形状的桥墩(2);

8)重复步骤1)至7),直到所有形状的所述桥墩(2)均实验完成,获得的若干组实验数据输入PC终端(6)。

7.滑坡涌浪对桥墩冲击模拟实验方法,基于权利要求1所述的实验装置,其特征在于:包括以下步骤:

1)完成所述滑坡涌浪对桥墩冲击模拟实验装置的安装;

2)向所述水槽(1)中放入水,将滑块放在倾斜的滑板(304)上;

3)检测各仪器运行状态,确保所有仪器运行正常;

4)开启所述高速摄像机、压力传感器(8)和波高传感器(9);

5)滑块从所述滑板(304)上落入水中,激起涌浪,涌浪在水面上传播并冲击桥墩(2);

6)所述高速摄像机完成视频数据采集,压力传感器(8)完成压力数据采集,波高传感器(9)完成全时段波高采集;

7)放出所述水槽(1)中的水,旋出桥墩(2)底部的螺母,将该桥墩(2)的底部与另一个混凝土平台(1011)连接;

8)重复步骤1)至7),直到所有所述混凝土平台(1011)上的桥墩(2)均实验完成,获得的若干组实验数据输入PC终端(6)。